GM Service Manual Online
For 1990-2009 cars only

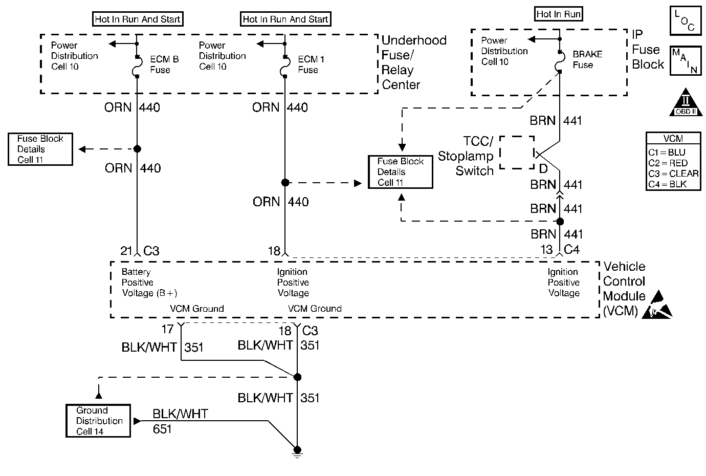
Object Number: 197037  Size: MF
Handling ESD Sensitive Parts Notice
Engine Controls Components
98 4.3L S/T Power Distribution Figure
OBD II Symbol Description Notice

Circuit Description

If a control module is installed without being programmed, DTC P0602 will be set. During reprogramming and immediately after completion, DTC P0602 will also be set. This DTC should be successfully cleared after following the reprogramming procedures.

Conditions for Running the DTC

The ignition switch is in the RUN position.

Conditions for Setting the DTC

No software data is present in the VCM.

Action Taken When the DTC Sets

    • The control module illuminates the malfunction indicator lamp (MIL) the first time the diagnostic runs and fails.
    • The control module will set the DTC and records the operating conditions at the time the diagnostic fails. The control module stores the failure information in the scan tools Freeze Frame/Failure Records.

Conditions for Clearing the MIL or DTC

    • The control module turns OFF the MIL after 3 consecutive drive trips when the test has run and passed.
    • A history DTC will clear if no fault conditions have been detected for 40 warm-up cycles. A warm-up cycle occurs when the coolant temperature has risen 22°C (40°F) from the startup coolant temperature and the engine coolant reaches a temperature that is more than 70°C (158°F) during the same ignition cycle.
    • Use a scan tool in order to clear the DTCs.

Diagnostic Aids

Check for intermittent conditions.

An intermittent may be caused by any of the following conditions:

    • A poor connection
    • Rubbed through wire insulation
    • A broken wire inside the insulation

Thoroughly inspect any circuitry that is suspected of causing the intermittent complaint. Refer to Intermittent Conditions in Wiring Systems.

If a repair is necessary, refer to Wiring Repairs .

Test Description

The numbers below refer to the step numbers on the diagnostic table.

  1. If the flashing procedure fails, verify that the equipment being used is functioning properly and that all cable connections are clean and tight. Also, make sure that the software you download is correct for the VCM being flashed. If everything checks out OK, and a second attempt fails, replace the VCM.

Step

Action

Value(s)

Yes

No

1

Important: Before clearing the DTCs, use the scan tool Capture Info to save the Freeze Frame and Failure Records for reference. The control module's data is deleted once the Clear Info function is used.

Did you perform the Powertrain On-Board Diagnostic (OBD) System Check?

--

Go to Step 2

Go to Powertrain On Board Diagnostic (OBD) System Check

2

Flash the VCM with the correct software. Refer to VCM Replacement/Programming .

Does DTC P0602 reset?

--

Go to Step 3

Go to Step 5

3

  1. Verify that the equipment being used is functioning properly and that all the cable connections are clean and tight.
  2. Attempt to flash the VCM again.

Does DTC P0602 reset?

--

Go to Step 4

Go to Step 5

4

  1. Replace the VCM.
  2. Program the new VCM. Refer to VCM Replacement/Programming .
  3. Perform the Password Learn Procedure. Refer to Password Learn .
  4. Perform the CKP System Variation Learn Procedure. Refer to Crankshaft Position System Variation Learn .

Is the action complete?

--

Go to Step 5

--

5

  1. Using the scan tool, clear the DTCs.
  2. Start the engine.
  3. Allow the engine to idle the engine reaches normal operating temperature.
  4. Select DTC and the Specific DTC function.
  5. Enter the DTC number that was set.
  6. Operate the vehicle, within the Conditions for Setting this DTC, until the scan tool indicates the diagnostic Ran.

Does the scan tool indicate that the diagnostic Passed?

--

Go to Step 6

Go to Step 2

6

Does the scan tool display any additional undiagnosed DTCs?

--

Go to the applicable DTC table

System OK