GM Service Manual Online
For 1990-2009 cars only

Removal Procedure

Tools Required

J 21474-01 Control Arm Bushing Service Kit

  1. Raise and suitably support the vehicle. Refer to Lifting and Jacking the Vehicle in General Information.
  2. Support the rear axle.
  3. Remove spare tire.
  4. Disconnect rear exhaust hangers and lower exhaust system, if necessary.

  5. Object Number: 3243  Size: SH
  6. Remove the following parts:
  7. • The frame to spring shackle nut
    • The washers
    • The frame to spring shackle bolt
  8. Loosen the lower spring shackle bolt at the leaf spring.
  9. Leave the bolt attached.

  10. Lower the axle until there is enough clearance to remove the spring shackle bushing.
  11. Use a blunt punch to straighten out the bushing flange that comes through the inner frame.
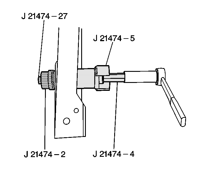
  12. Remove the spring shackle bushing using J 21474-01 .
  13. Repeat steps 5 through 9 for other spring shackle bushing.

Installation Procedure

Tools Required

J 21474-01 Control Arm Bushing Service Kit


    Object Number: 228361  Size: SH
  1. Install the new spring shackle bushing using J 21474-01 .
  2. Pull the bushing into the frame rail until the flanged portion of the bushing is flush with the rail.
  3. Stake the spring shackle bushing inner flange.
  4. Raise the axle into position.

  5. Object Number: 3243  Size: SH
  6. Install the following parts:
  7. • The frame to the spring shackle bolt
    • The washers
    • The frame to the spring shackle nut
    • Do not tighten the nut.
  8. Repeat steps 1 through 6 for the other spring shackle bushing.

  9. Object Number: 3248  Size: SH

    Notice: Use the correct fastener in the correct location. Replacement fasteners must be the correct part number for that application. Fasteners requiring replacement or fasteners requiring the use of thread locking compound or sealant are identified in the service procedure. Do not use paints, lubricants, or corrosion inhibitors on fasteners or fastener joint surfaces unless specified. These coatings affect fastener torque and joint clamping force and may damage the fastener. Use the correct tightening sequence and specifications when installing fasteners in order to avoid damage to parts and systems.

  10. Support the axle so that there is a distance of 164 mm to 176 mm (6.46 in to 6.94 in) between the axle tube and the metal surface of the bumper bracket (1).
  11. Tighten
    Tighten the rear spring shackle nuts to 122 N·m (89 lb ft).

  12. Raise the exhaust system and connect the rear exhaust hangers, if necessary
  13. Install the spare tire.
  14. Remove the rear axle support.
  15. Lower the vehicle.