GM Service Manual Online
For 1990-2009 cars only
Figure 1:

Radiator Support, Inside RH


Object Number: 354578  Size: MF
(1)Radiator Support
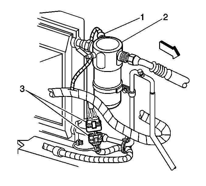
(2)Forward Lamps Harness
(3)Splice Pack SP101
(4)Ground G112
Figure 2:

Battery MegaFuse and Air Injection (AIR) Jumper Harness


Object Number: 401632  Size: MF
(1)Radiator Support
(2)AIR Jumper Harness
(3)Battery MegaFuse
(4)Fuse Holder
(5)G100
(6)G112
(7)Battery Positive Cable
Figure 3:

Air Injection (AIR) Fuse Block


Object Number: 401623  Size: MF
(1)C117
(2)Splice S105
(3)AIR Fuse Block
(4)AIR Jumper Harness
Figure 4:

Engine Compartment Details


Object Number: 354580  Size: MF
(1)Radiator Support, LH
(2)Fender, RF
(3)C120 (2.2L Engine)
(4)C101
(5)G111
Figure 5:

Inline Connector C106


Object Number: 354762  Size: LF
(1)Fender, RF
(2)C106
(3)Horn, LH
(4)Underhood Fuse Block Connector C4
Figure 6:

A/C Accumulator (4.3L)


Object Number: 357124  Size: SF
(1)Engine Harness, VCM to A/C Accumulator
(2)A/C Accumulator
(3)C100
Figure 7:

Vehicle Control Module (VCM) 4.3 L


Object Number: 357125  Size: LF
(1)Vehicle Control Module (VCM)
(2)Vehicle Control Module (VCM) Connector C3
(3)Vehicle Control Module (VCM) Connector C1
(4)C101
(5)S106
(6)A/C Compressor Cycling Switch
(7)Vehicle Control Module (VCM) Connector C2
(8)Vehicle Control Module (VCM) Connector C4
Figure 8:

Engine, LF (2.2 L)


Object Number: 357114  Size: LF
(1)Idle Air Control (IAC) Valve
(2)Throttle Position (TP) Sensor
(3)Exhaust Gas Recirculation (EGR) Valve
(4)Underhood Fuse Block Connector C2
(5)Engine Coolant Temperature (ECT) Sensor
(6)A/C Compressor Clutch Diode, S103 and S104
(7)Manifold Absolute Pressure (MAP) Sensor
Figure 9:

Engine, LR (2.2L)


Object Number: 357112  Size: LF
(1)Generator
(2)G102 and G103
(3)Engine Oil Pressure Gauge Sensor
(4)Evaporative (EVAP) Emissions Canister Purge Valve
(5)Ignition Control Module (ICM) Connector C1 (w/o Coil)
(6)Ignition Control Module (ICM) Connector C2 (w/o Coil)
(7)G105
(8)S152
(9)C111
(10)S106
(11)S129
Figure 10:

Engine, RF (4.3L)


Object Number: 357115  Size: LF
(1)Ignition Coil and Assembly
(2)Exhaust Gas Recirculation (EGR) Valve
(3)Generator Connector
(4)Crankshaft Position (CKP) Sensor
(5)Starter
(6)Starter Solenoid
(7)S100
(8)Ignition Control Module (ICM)
(9)Ignition Coil
Figure 11:

Engine, LR (4.3L)


Object Number: 357117  Size: LF
(1)A/C Compressor Clutch Diode, S103, and S104
(2)Throttle Position (TP) Sensor
(3)Idle Air Control (IAC) Valve
(4)Distributor
(5)Knock Sensor (KS)
(6)Engine Coolant Temperature (ECT) Sensor
(7)Underhood Fuse Block Connector C2
(8)A/C Compressor High Pressure Switch
(9)A/C Compressor
Figure 12:

Heated Oxygen Sensor (HO2S) Extension Harness (4.3L)


Object Number: 357121  Size: LF
(1)C100
(2)S151
(3)S150
(4)C125
(5)C126
Figure 13:

Body Wiring Harness, Engine Compartment


Object Number: 357126  Size: LF
(1)Blower Motor Relay Connector
(2)Body Harness
(3)Windshield Wiper Motor Connector
(4)G117
(5)P100
(6)Cruise Control Module (CCM) Connector
(7)Underhood Lamp Connector
(8)Front Drive Axle Clutch Solenoid Connector
(9)S138
(10)Blower Motor Resistor Connector
(11)Vehicle Control Module (VCM), Connector C4
(12)Blower Motor Connector (C42/C60), Blower Motor Control Module (C68)
(13)C101 (2.2L)
(14)C101 (4.3L)
(15)S121
(16)S113
(17)S118
Figure 14:

Manual Transmission, LH (4.3L)


Object Number: 357140  Size: LF
(1)C105
(2)C104
(3)S140
(4)Vehicle Speed Sensor (2WD)
(5)Backup Lamp Switch
(6)Heated Oxygen Sensor (HO2S) LF (Bank 1, Sensor 1)
Figure 15:

Automatic Transmission (2.2L)


Object Number: 357137  Size: LF
(1)Vehicle Speed Sensor
(2)C175
(3)S140
(4)C117
Figure 16:

Transmission Range Switch (w/ A/T) 4.3L Shown, 2.2L Similar


Object Number: 357138  Size: LF
(1)C104
(2)Transmission Range Switch Connector C2
(3)Transmission Range Switch Connector C1
(4)C105
(5)Heated Oxygen Sensor, LF (HO2S, Bank 1, Sensor 1)
Figure 17:

Automatic Transmission, RH (4.3 L)


Object Number: 357139  Size: LF
(1)C175
(2)Vehicle Speed Sensor
(3)S140
Figure 18:

Transfer Case


Object Number: 357141  Size: LF
(1)C116
(2)Transfer Case Connector C1
(3)Transfer Case, RR
(4)Vehicle Speed Sensor
(5)S134
(6)Transfer Case Speed Sensor
Figure 19:

Instrument Panel, LF


Object Number: 357146  Size: LF
(1)IP Bulkhead
(2)C211
(3)C214
(4)Body Control Module (BCM) Connector C1
(5)Body Control Module (BCM) Connector C2
(6)IP Vacuum Harness Connector
(7)Splice Pack SP202
(8)Body Relay Block
(9)Park Brake Warning Switch
(10)Splice Pack SP201
(11)C209
(12)C217
(13)G200 and G202
(14)G201
Figure 20:

Instrument Panel Details, RH


Object Number: 357162  Size: MF
(1)Heater Controls
(2)C200
(3)C203
(4)Instrument Panel (IP)
(5)Body Control Module (BCM)
(6)Body Control Module (BCM), Connector C1
(7)Body Control Module (BCM), Connector C2
(8)Body Control Module (BCM), Connector C3
Figure 21:

Instrument Panel, RF


Object Number: 357161  Size: LF
(1)C102
(2)C203
(3)Instrument Panel (IP)
(4)Recirculation Door Motor
(5)Turn Signal Lamp 2/4 Flasher (Pickup) or Turn Signal Lamp 3/6 Flasher (Utility)
(6)C601
(7)C600
(8)Transfer Case Shift Control Module Connector
(9)Splice Pack SP200
(10)Splice Pack SP204
(11)G203, G204 and G205
(12)HVAC Solenoid Assembly Connector (w/ Auto A/C)
(13)Air Temperature Valve Sensor and Motor Connector
Figure 22:

IP Wiring Harness


Object Number: 357160  Size: LF
(1)Supplemental Restraint System (SRS) IP Module
(2)C201
(3)IP Compartment Lamp
(4)Door Jamb Switch, RH Front
Figure 23:

Instrument Panel, LH (RH Similar)


Object Number: 357144  Size: LF
(1)Headlamp Switch Connector
(2)Fog Lamp Switch Connector
(3)Headlamp Switch
(4)Door Jamb Switch, LH Front
(5)IP Fuse Block
(6)S204
(7)C217
(8)Courtesy Lamp, LH Console
(9)Body Relay Block
(10)S223
(11)IP Speaker, LH
Figure 24:

IP Wiring Harness Composite View (without Auto A/C)


Object Number: 357143  Size: LF
(1)S217
(2)S215
(3)Supplemental Restraint System (SRS) IP Module Switch Connector
(4)AM/FM Stereo Radio Connector
(5)Transfer Case Select Switch Connector
(6)S275
(7)S273
(8)Instrument Cluster Connector
(9)Instrument Panel (IP)
(10)Supplemental Restraint System (SRS) Defeat Switch and Indicator Connector (Pickup) or Rear Window Wiper/Washer Switch and Endgate/Liftgate Window Release Switch Connector (Utility)
(11)Console Courtesy Lamp, RF
(12)S240
(13)Body Control Module (BCM) Connector C3
(14)C224
(15)Splice Pack SP203
(16)S205
(17)S283
(18)S282
(19)S272
(20)S274
(21)S208
(22)C223
(23)Console Courtesy Lamp, RF
(24)C102
(25)C203
(26)Front Side Door Jamb Switch, RF
(27)IP Compartment Lamp Connector
(28)Speaker, RF
Figure 25:

Steering Column


Object Number: 357152  Size: LF
(1)Shift Lever Assembly
(2)Upper Shroud
(3)Supplemental Restraint System (SRS) Steering Wheel Module Coil
(4)C214
(5)Multifunction Switch
(6)Park Lock Solenoid Connector
(7)Brake Transmission Shift Interlock (BTSI) Solenoid
(8)C211
(9)Transmission Shift Lever
(10)Passlock Sensor Connector
(11)Ignition Switch and Ignition Key Alarm Switch
Figure 26:

Dome Lamp Harness (Regular Cab Pickup)


Object Number: 357172  Size: LF
(1)S302
(2)Dome Lamp Harness
(3)Dome and High Mounted Stop Lamp
(4)S300
(5)Sunshade Mirror Lamp, LH
(6)C209
(7)Inside Rear View Mirror
(8)Sunshade Mirror Lamp, RH
Figure 27:

Floor Shifter Harness Connections


Object Number: 401101  Size: MF
(1)Automatic Transmission Controller and Connector
(2)Automatic Transmission Preference Switch Connector
(3)Splice S336
(4)Floor Shifter
(5)Automatic Transmission Indicator Lamp
(6)Splice S335
Figure 28:

Doors (RF Shown, LF Similar)


Object Number: 416725  Size: LF
(1)Door Lock Cylinder Switch Connector, RH
(2)Door Handle Switch Connector, RH
(3)Door Lock Actuator Connector, RH
(4)Door Lock Actuator, RH
(5)Side Window Regulator Motor and Connector, RH
(6)Splice S502 (LH)
(7)Splice S601 (RH), S501 (LH)
(8)Door Speaker Connector, RH
(9)C601 (RH), C500 (LH)
(10)C501 (LH)
(11)P600 (RH), P500 (LH)
(12)Outside Rear View Mirror Connector, RH
Figure 29:

Outside Rear View Mirror


Object Number: 357149  Size: LF
(1)P501 (LH) or P601 (RH)
(2)Outside Rear View Mirror, LH (RH Opposite)
(3)C504 (LH) or C603 (RH)
Figure 30:

Rear Lamps (Pickup)


Object Number: 357373  Size: LF
(1)Side Marker Lamp, RH Rear
(2)Park and Turn Signal Lamp, RH Rear
(3)Backup Lamp, RH
(4)Splice Pack SP400
(5)Backup Lamp, LH
(6)Side Marker Lamp, LH Rear
(7)Park and Turn Signal Lamp, LH Rear
Figure 31:

Rear Framerail-Pickup


Object Number: 357336  Size: LF
(1)Framerail, LR
(2)C401
(3)Framerail, RR
(4)G422
(5)Splice Pack SP401
(6)G402
(7)G475
(8)Splice Pack SP402