GM Service Manual Online
For 1990-2009 cars only
Figure 1:

Cell 39: Valve Controls (2.2L)


Object Number: 408382  Size: FS
Cell 10: CRANK and CLSTR Fuses
Cell 81: Power
Automatic Transmission Components
Electronic Component Description
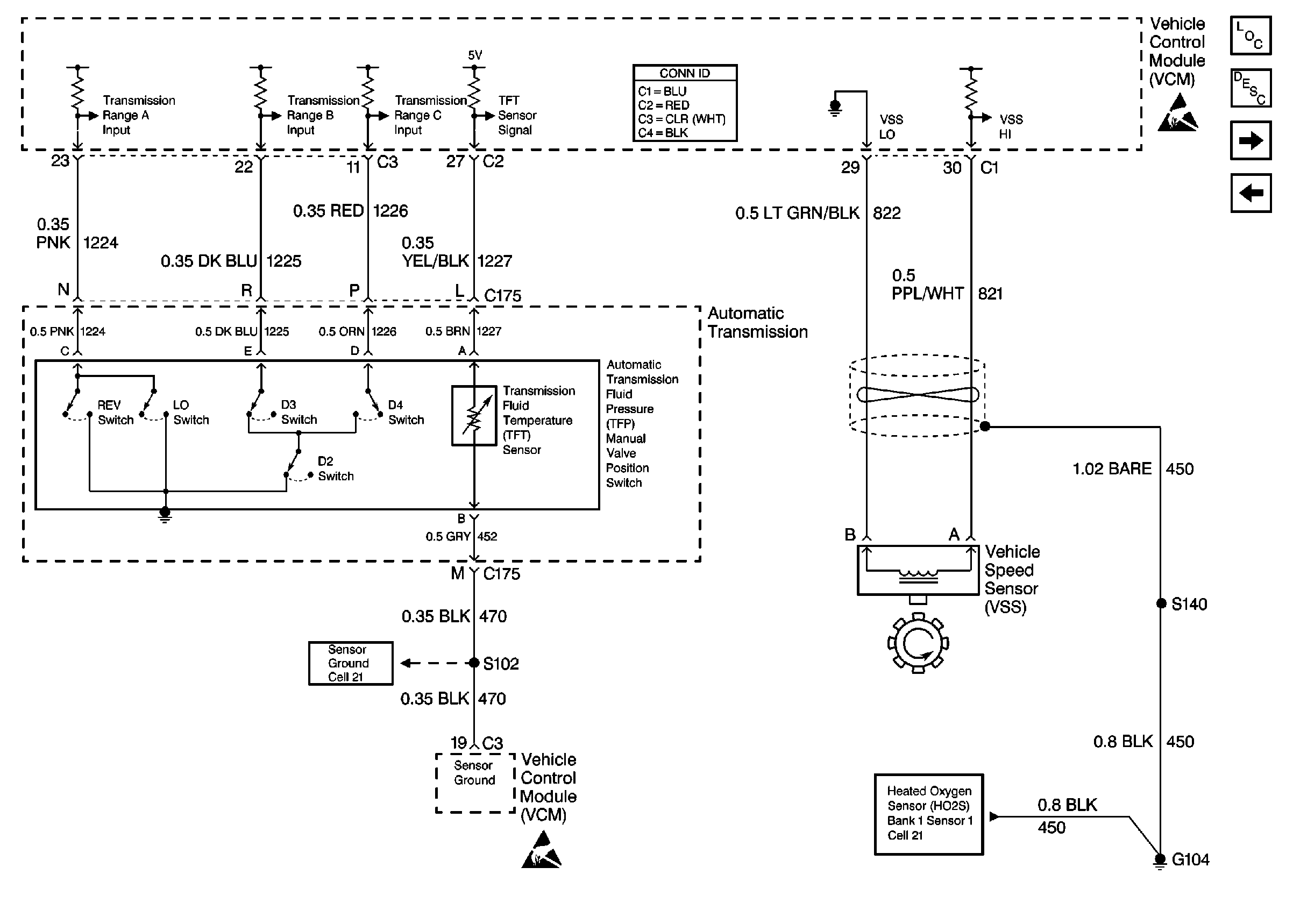
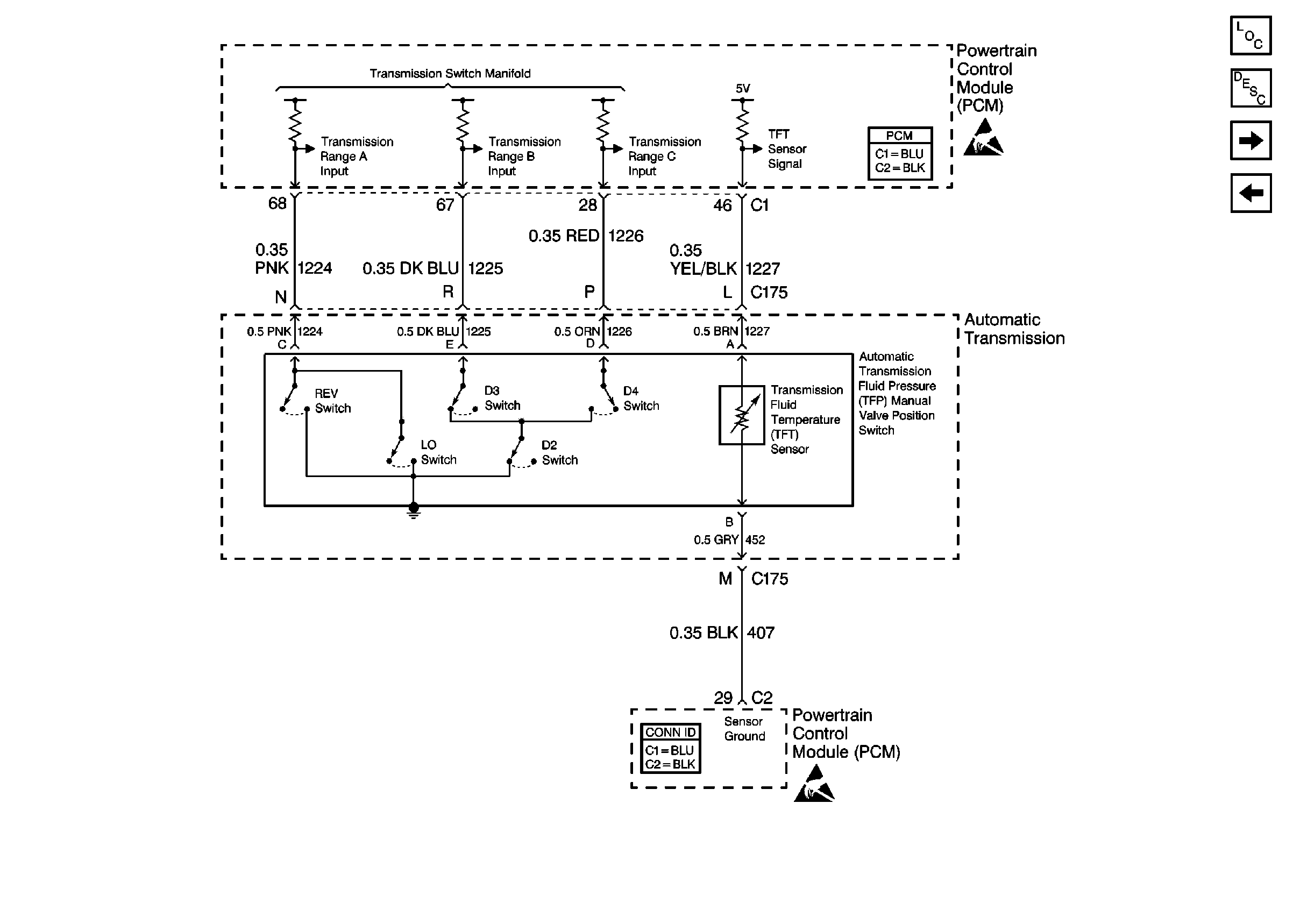
Cell 39: Switch Inputs (2.2L)
Powertrain Control Module Connector End Views
Handling ESD Sensitive Parts Notice
Figure 2:

Cell 39: Switch Inputs (2.2L)


Object Number: 408386  Size: FS
Powertrain Control Module Connector End Views
Handling ESD Sensitive Parts Notice
Automatic Transmission Components
Electronic Component Description
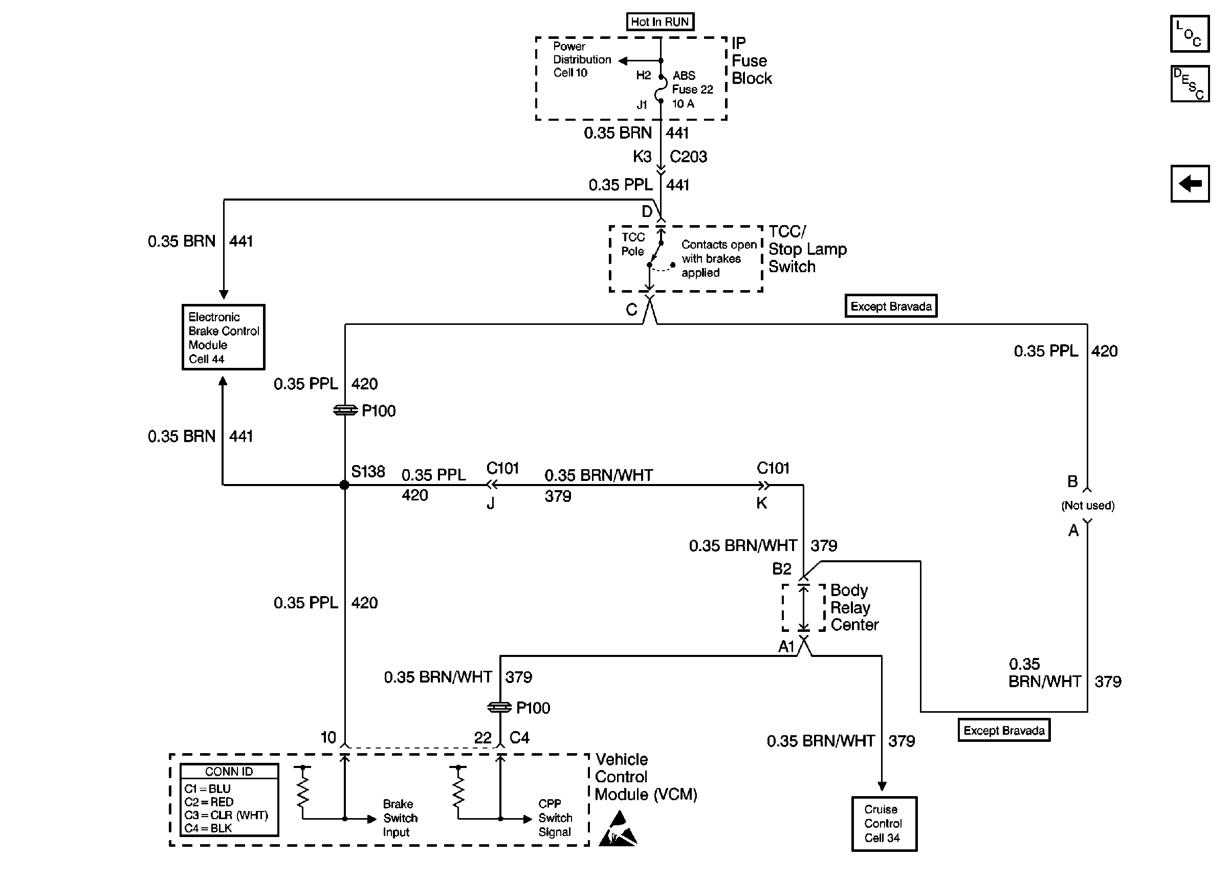
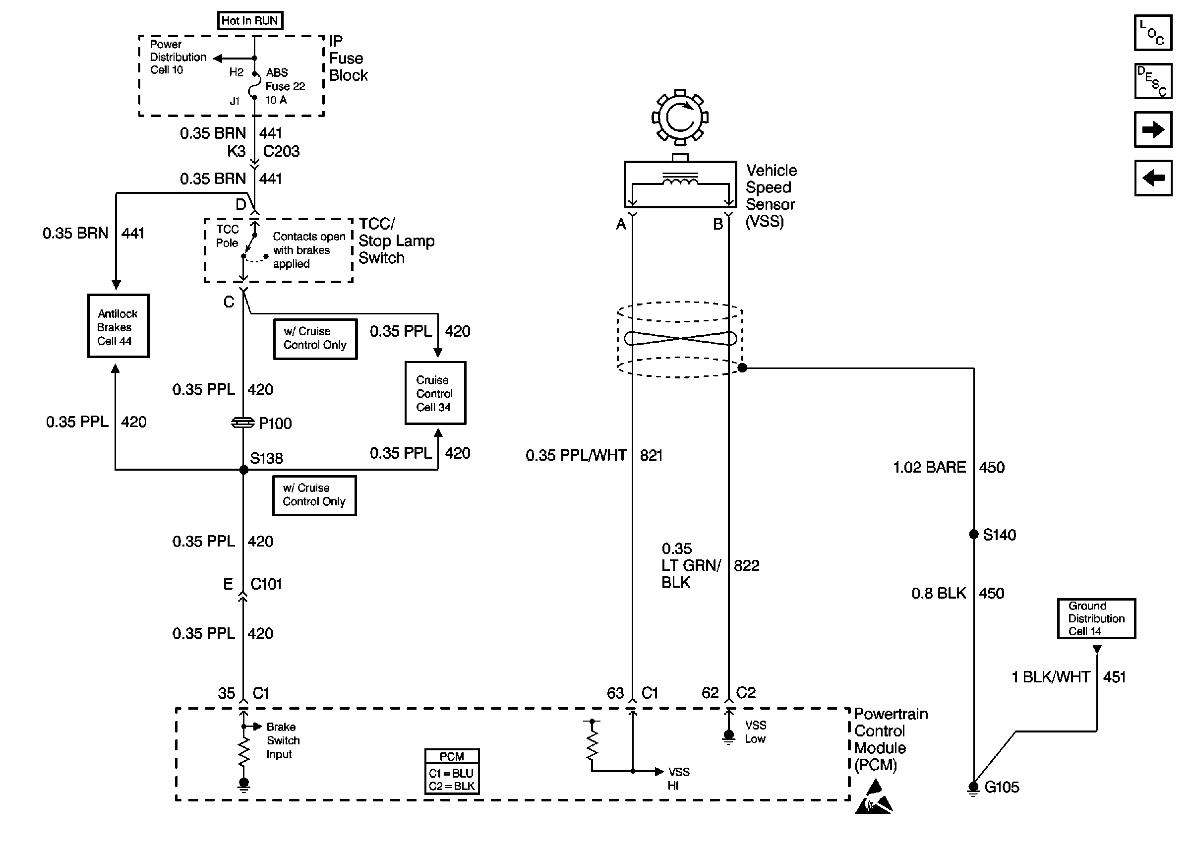
Cell 39: Brake Switch, VSS Inputs (2.2L)
Cell 39: Valve Controls (2.2L)
Handling ESD Sensitive Parts Notice
Powertrain Control Module Connector End Views
Figure 3:

Cell 39: Brake Switch, VSS Inputs (2.2L)


Object Number: 408387  Size: FS
Cell 10: STUD 2, ABS and TBC Fuses
Cell 44: Power and Ground
Cell 34: Clutch Pedal Position Switch and TCC/Stop Lamp Switch
Powertrain Control Module Connector End Views
Handling ESD Sensitive Parts Notice
Cell 14: G103 and G105 (2.2L)
Automatic Transmission Components
Electronic Component Description
Cell 39: Valve Controls (4.3L)
Cell 39: Switch Inputs (2.2L)
Figure 4:

Cell 39: Valve Controls (4.3L)


Object Number: 408389  Size: FS
Cell 10: CRANK and CLSTR Fuses
Cell 81: Power
Handling ESD Sensitive Parts Notice
Cell 138
VCM Connector End Views
Handling ESD Sensitive Parts Notice
Automatic Transmission Components
Electronic Component Description
Cell 39: Switch Inputs, 2WD VSS (4.3L)
Cell 39: Brake Switch, VSS Inputs (2.2L)
Figure 5:

Cell 39: Switch Inputs, 2WD VSS (4.3L)


Object Number: 408390  Size: FS
VCM Connector End Views
Handling ESD Sensitive Parts Notice
Automatic Transmission Components
Electronic Component Description
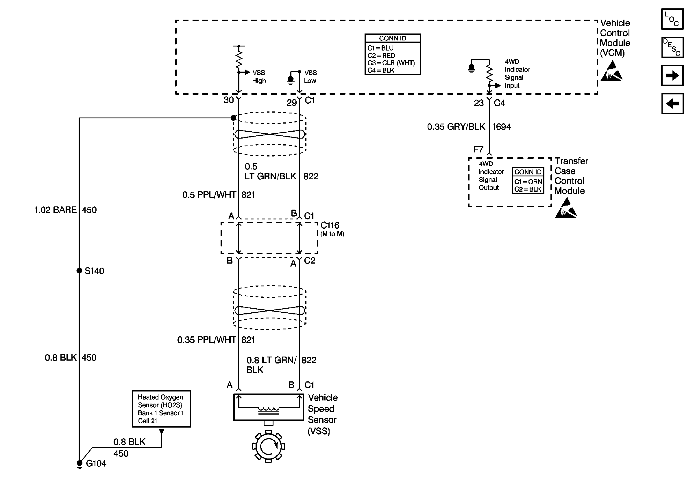
Cell 39: 4WD VSS (4.3L)
Cell 39: Valve Controls (4.3L)
Cell 21: Heated Oxygen Sensors
Cell 21: MAP, IAT, ECT, TP and Fuel Tank Pressure Sensors
Handling ESD Sensitive Parts Notice
Figure 6:

Cell 39: 4WD VSS (4.3L)


Object Number: 408393  Size: FS
VCM Connector End Views
Handling ESD Sensitive Parts Notice
Automatic Transmission Components
Electronic Component Description
Cell 39: Brake Switch Inputs (4.3L)
Cell 39: Switch Inputs, 2WD VSS (4.3L)
Transfer Case Control Connector End Views
Handling ESD Sensitive Parts Notice
Cell 21: Heated Oxygen Sensors
Figure 7:

Cell 39: Brake Switch Inputs (4.3L)


Object Number: 408394  Size: FS
Cell 44: Power and Ground
VCM Connector End Views
Handling ESD Sensitive Parts Notice
Cell 34: Clutch Pedal Position Switch and TCC/Stop Lamp Switch
Cell 10: STUD 2, ABS and TBC Fuses
Automatic Transmission Components
Electronic Component Description
Cell 39: 4WD VSS (4.3L)