GM Service Manual Online
For 1990-2009 cars only
Figure 1:

Cell 14: G111 and G112


Object Number: 386450  Size: FS
Power and Grounding Components
Cell 14: G106, G107, G108, G110 and G118
Figure 2:

Cell 14: G106, G107, G108, G110 and G118


Object Number: 386454  Size: FS
Antilock Brake System Connector End Views
Handling ESD Sensitive Parts Notice
SRS Service Precautions
Handling ESD Sensitive Parts Notice
Power and Grounding Components
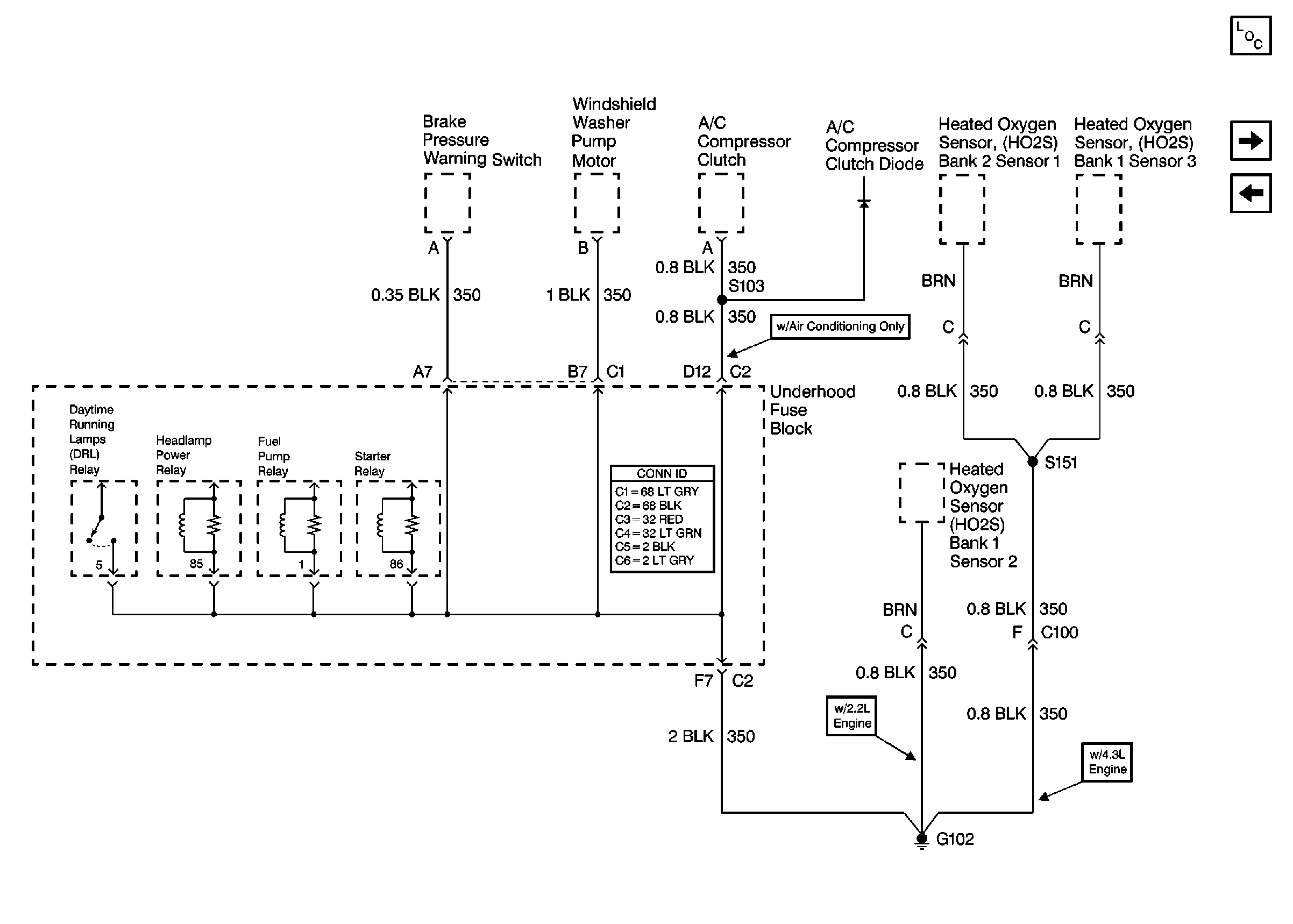
Cell 14: Underhood Grounds
Cell 14: G111 and G112
Figure 3:

Cell 14: Underhood Grounds


Object Number: 386458  Size: FS
Handling ESD Sensitive Parts Notice
Handling ESD Sensitive Parts Notice
Transfer Case Control Connector End Views
Handling ESD Sensitive Parts Notice
Handling ESD Sensitive Parts Notice
Antilock Brake System Connector End Views
Power and Grounding Components
Cell 14: G102
Cell 14: G106, G107, G108, G110 and G118
Power and Grounding Connector End Views
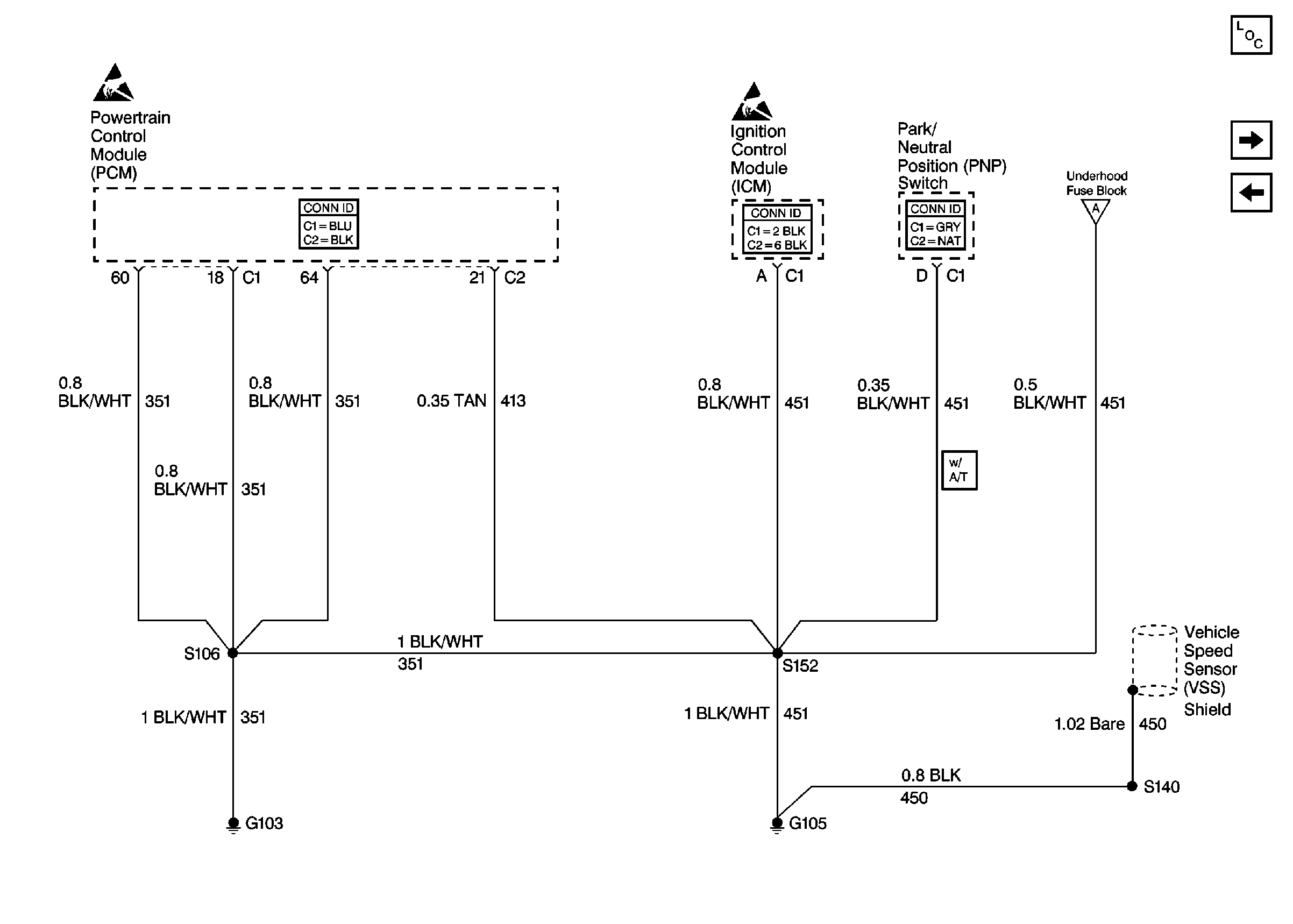
Cell 14: G103 and G105 (2.2L)
Cell 14: G103 and G105 (4.3L)
Figure 4:

Cell 14: G102


Object Number: 460701  Size: FS
Power and Grounding Components
Cell 14: G103 and G105 (4.3L)
Cell 14: Underhood Grounds
Power and Grounding Connector End Views
Figure 5:

Cell 14: G103 and G105 (4.3L)


Object Number: 386460  Size: FS
Handling ESD Sensitive Parts Notice
Handling ESD Sensitive Parts Notice
VCM Connector End Views
Engine Controls Connector End Views
Tilt Wheel/Column Connector End Views
Cell 14: Underhood Grounds
Power and Grounding Components
Cell 14: G104 and G117
Cell 14: G102
Figure 6:

Cell 14: G104 and G117


Object Number: 386461  Size: FS
Handling ESD Sensitive Parts Notice
Power and Grounding Components
Cell 14: G200, G201 and G207
Cell 14: G103 and G105 (4.3L)
Figure 7:

Cell 14: G200, G201 and G207


Object Number: 386462  Size: FS
Body Control System Connector End Views
Power and Grounding Components
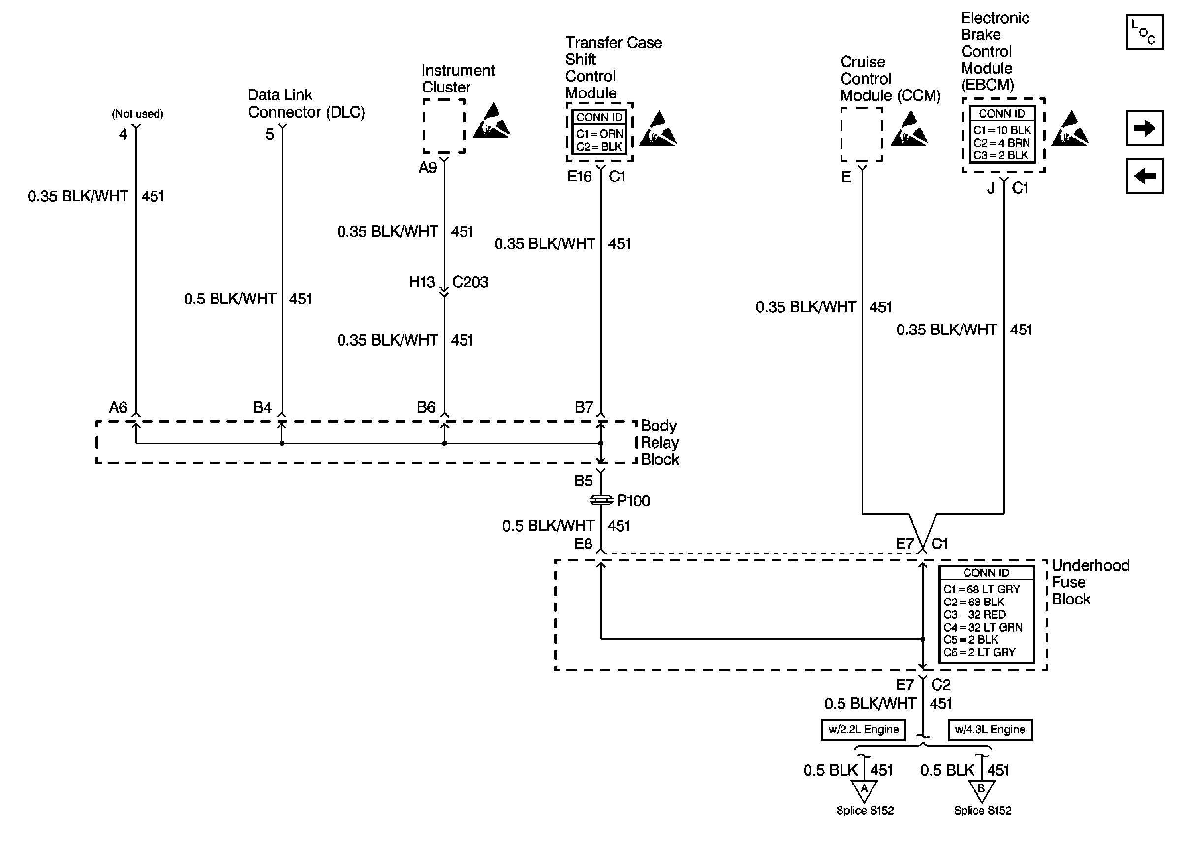
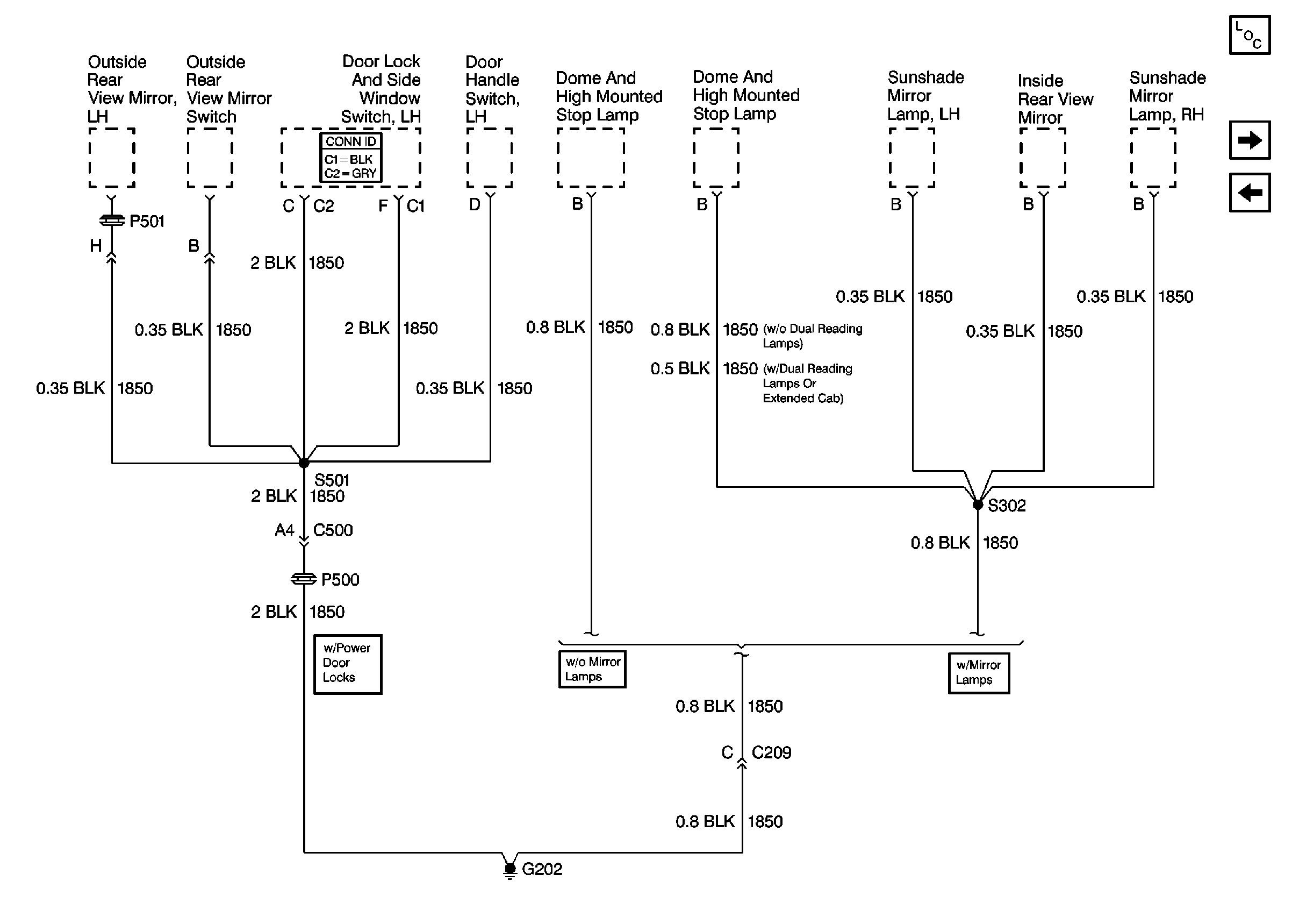
Cell 14: G202
Cell 14: G104 and G117
Figure 8:

Cell 14: G202


Object Number: 386465  Size: FS
Power Door Systems Connector End Views
Power and Grounding Components
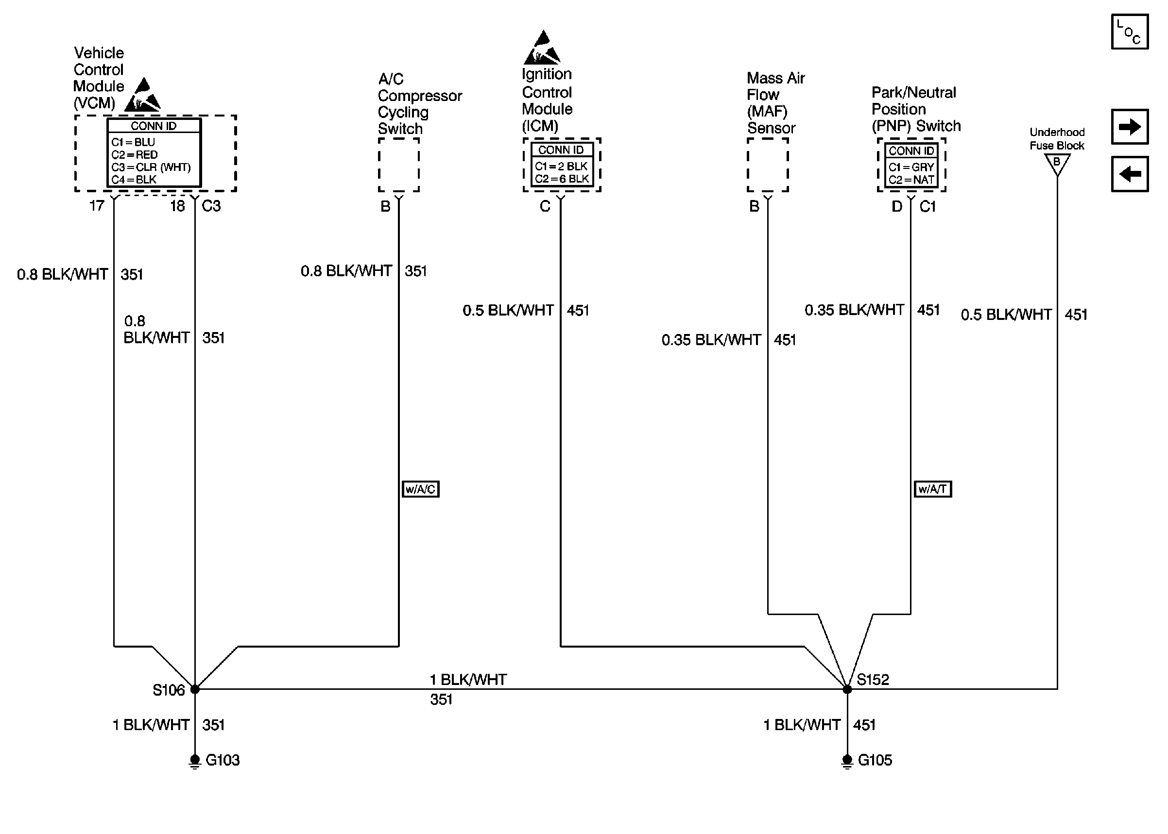
Cell 14: G103 and G105 (2.2L)
Cell 14: G200, G201 and G207
Figure 9:

Cell 14: G103 and G105 (2.2L)


Object Number: 386459  Size: FS
Handling ESD Sensitive Parts Notice
Handling ESD Sensitive Parts Notice
VCM Connector End Views
Tilt Wheel/Column Connector End Views
Powertrain Control Module Connector End Views
Cell 14: Underhood Grounds
Power and Grounding Components
Cell 14: G203 and G204
Cell 14: G202
Figure 10:

Cell 14: G203 and G204


Object Number: 386466  Size: FS
Handling ESD Sensitive Parts Notice
Power and Grounding Components
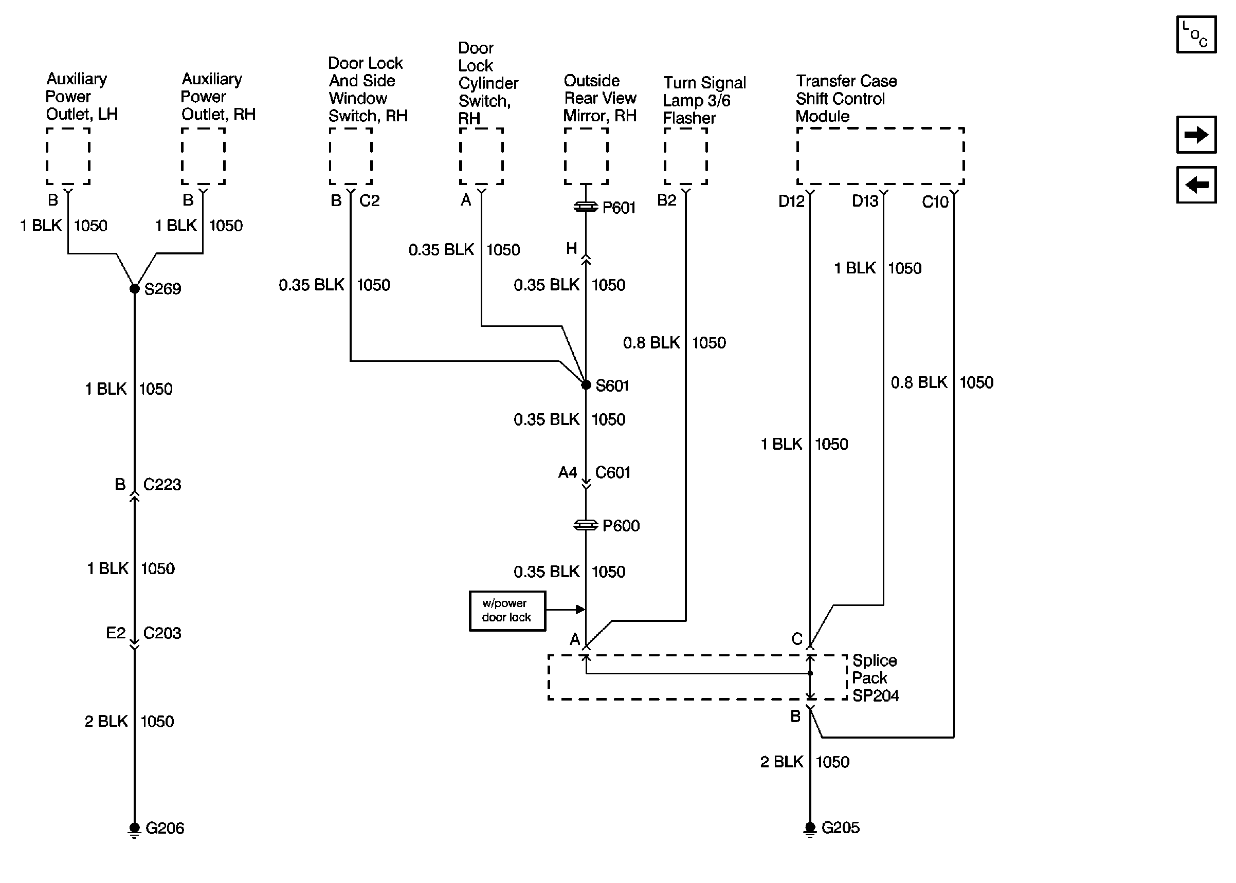
Cell 14: G205 and G206
Cell 14: G103 and G105 (2.2L)
Handling ESD Sensitive Parts Notice
Transfer Case Control Connector End Views
Figure 11:

Cell 14: G205 and G206


Object Number: 461961  Size: FS
Power and Grounding Components
Cell 14: G203 and G204
Cell 14: G402, G422 and G475
Figure 12:

Cell 14: G402, G422 and G475


Object Number: 386468  Size: FS
Power and Grounding Components
Cell 14: G205 and G206