GM Service Manual Online
For 1990-2009 cars only
Makes
🢒
Isuzu
🢒
2000
🢒
S/T Isuzu - 2WD
🢒
Restraints
🢒
Seat Belts
🢒 Seat Belt Schematics
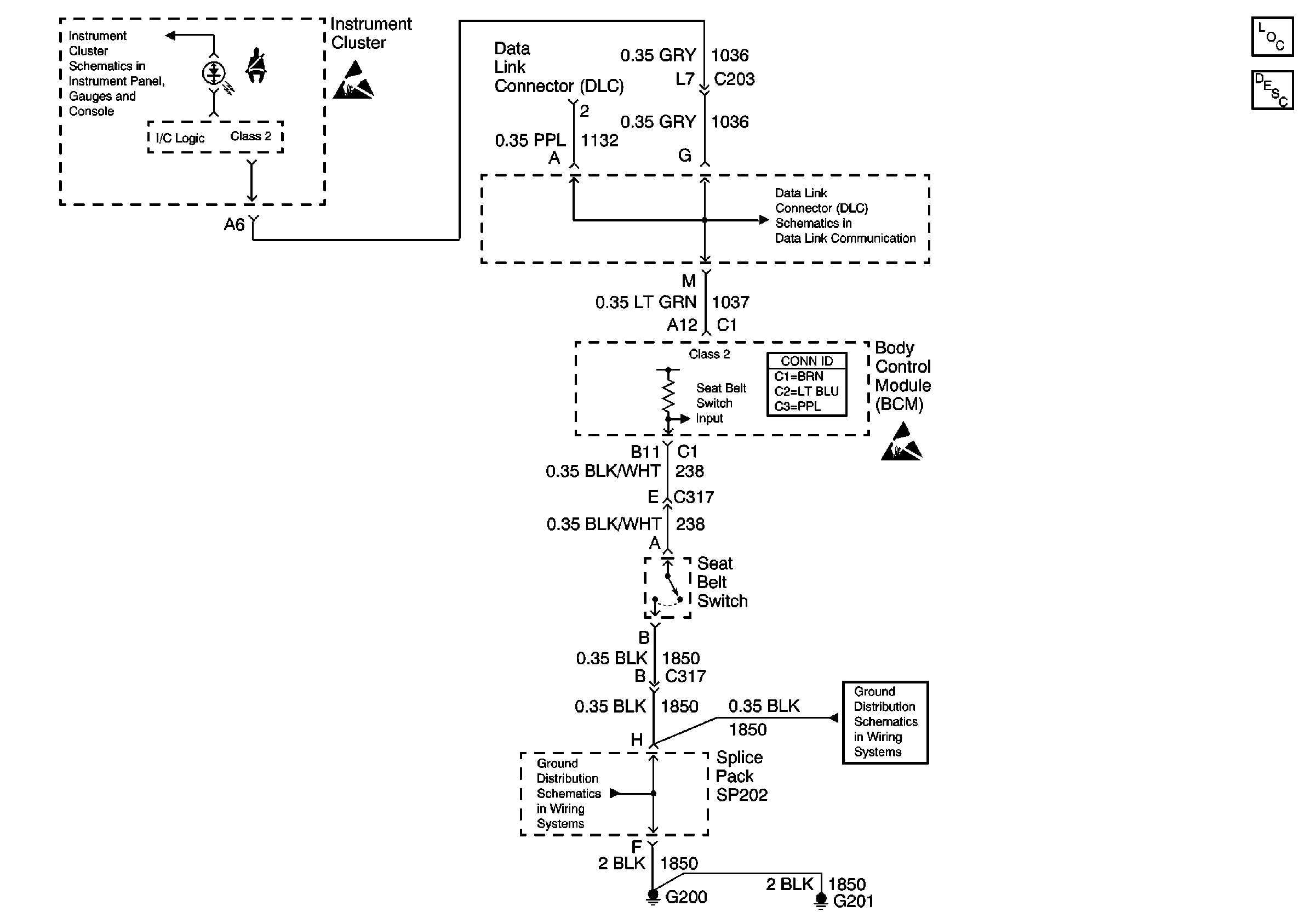
Seat Belt Components
Seat Belt System Circuit Description
Data Link Connector (DLC), PCM/VCM, Engine Oil Pressure Gauge Sensor
Handling ESD Sensitive Parts Notice
SP201 (2.2L)
Body Control System Connector End Views
Handling ESD Sensitive Parts Notice
G200, G201 and G207
G200, G201 and G207