GM Service Manual Online
For 1990-2009 cars only
Makes
🢒
Isuzu
🢒
2000
🢒
S/T Isuzu - 2WD
🢒
Body and Accessories
🢒
Lighting Systems
🢒 Interior Lights Dimming Schematics
Figure
1:
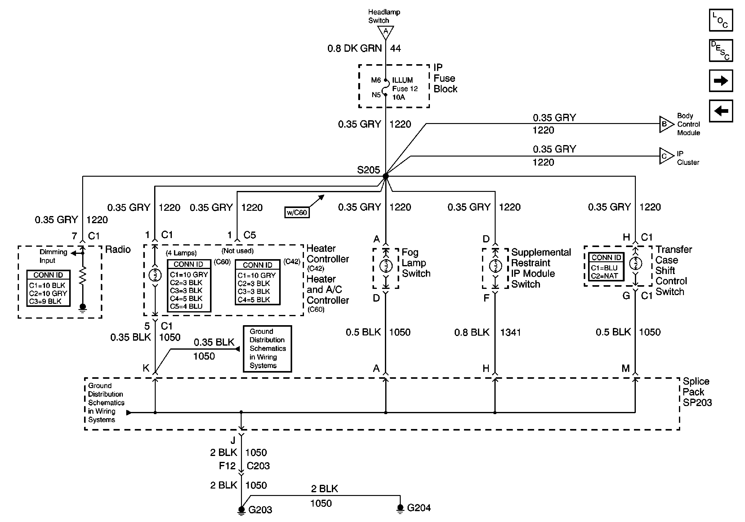
Headlamp Switch
Lighting Systems Components
Interior Lights Dimming Circuit Description
ILLUM Fuse 12
AUX PWR, RDO BATT, HDLP SW Fuses and Inadvertent Power Lamp Relay
B+ Bus Bar
Power and Grounding Connector End Views
Headlamp Grounding Relay and Flash-to-Pass Switch
Headlamp Switch, Ambient Light Sensor and BCM
Headlamp Switch, Ambient Light Sensor and BCM
G203 and G204
Park, Marker, License and Turn Signal Lamps (Rear)
ILLUM Fuse 12
Body Control System Connector End Views
Handling ESD Sensitive Parts Notice
Figure
2:
ILLUM Fuse 12
Lighting Systems Components
Interior Lights Dimming Circuit Description
Instrument Cluster and BCM
Headlamp Switch
Headlamp Switch
Instrument Cluster and BCM
Entertainment Connector End Views
HVAC Connector End Views
HVAC Connector End Views
Transfer Case Control Connector End Views
G203 and G204
G203 and G204
Figure
3:
Instrument Cluster and BCM
Lighting Systems Components
Interior Lights Dimming Circuit Description
ILLUM Fuse 12
ILLUM Fuse 12
ILLUM Fuse 12
G203 and G204
Body Control System Connector End Views
Handling ESD Sensitive Parts Notice