GM Service Manual Online
For 1990-2009 cars only
Figure 1:

G111 and G112


Object Number: 568730  Size: FS
Power and Grounding Components
G100, G101, G106, G107, G108 and G110
Figure 2:

G100, G101, G106, G107, G108 and G110


Object Number: 568733  Size: FS
Power and Grounding Components
G102
G111 and G112
Antilock Brake System Connector End Views
Handling ESD Sensitive Parts Notice
SRS Service Precautions
Handling ESD Sensitive Parts Notice
Power and Grounding Connector End Views
Figure 3:

G102


Object Number: 568742  Size: FS
Power and Grounding Components
G103 and G105 (2.2L)
G100, G101, G106, G107, G108 and G110
Power and Grounding Connector End Views
Figure 4:

G103 and G105 (2.2L)


Object Number: 568745  Size: FS
Power and Grounding Components
G103 and G105 (4.3L)
G102
Handling ESD Sensitive Parts Notice
Handling ESD Sensitive Parts Notice
Handling ESD Sensitive Parts Notice
Handling ESD Sensitive Parts Notice
Powertrain Control Module Connector End Views
Engine Controls Connector End Views
Shift Lock Control Connector End Views
Power and Grounding Connector End Views
Figure 5:

G103 and G105 (4.3L)


Object Number: 568748  Size: FS
Power and Grounding Components
G104 and G117
G103 and G105 (2.2L)
Handling ESD Sensitive Parts Notice
Handling ESD Sensitive Parts Notice
Handling ESD Sensitive Parts Notice
Handling ESD Sensitive Parts Notice
Antilock Brake System Connector End Views
VCM Connector End Views
Shift Lock Control Connector End Views
Power and Grounding Connector End Views
Figure 6:

G104 and G117


Object Number: 568751  Size: FS
Power and Grounding Components
G200, G201 and G207
G103 and G105 (4.3L)
Handling ESD Sensitive Parts Notice
Figure 7:

G200, G201 and G207


Object Number: 568758  Size: FS
Power and Grounding Components
G202
G104 and G117
Body Control System Connector End Views
Handling ESD Sensitive Parts Notice
Figure 8:

G202


Object Number: 568762  Size: FS
Power and Grounding Components
G203 and G204
G200, G201 and G207
Power Door Systems Connector End Views
Figure 9:

G203 and G204


Object Number: 568766  Size: FS
Power and Grounding Components
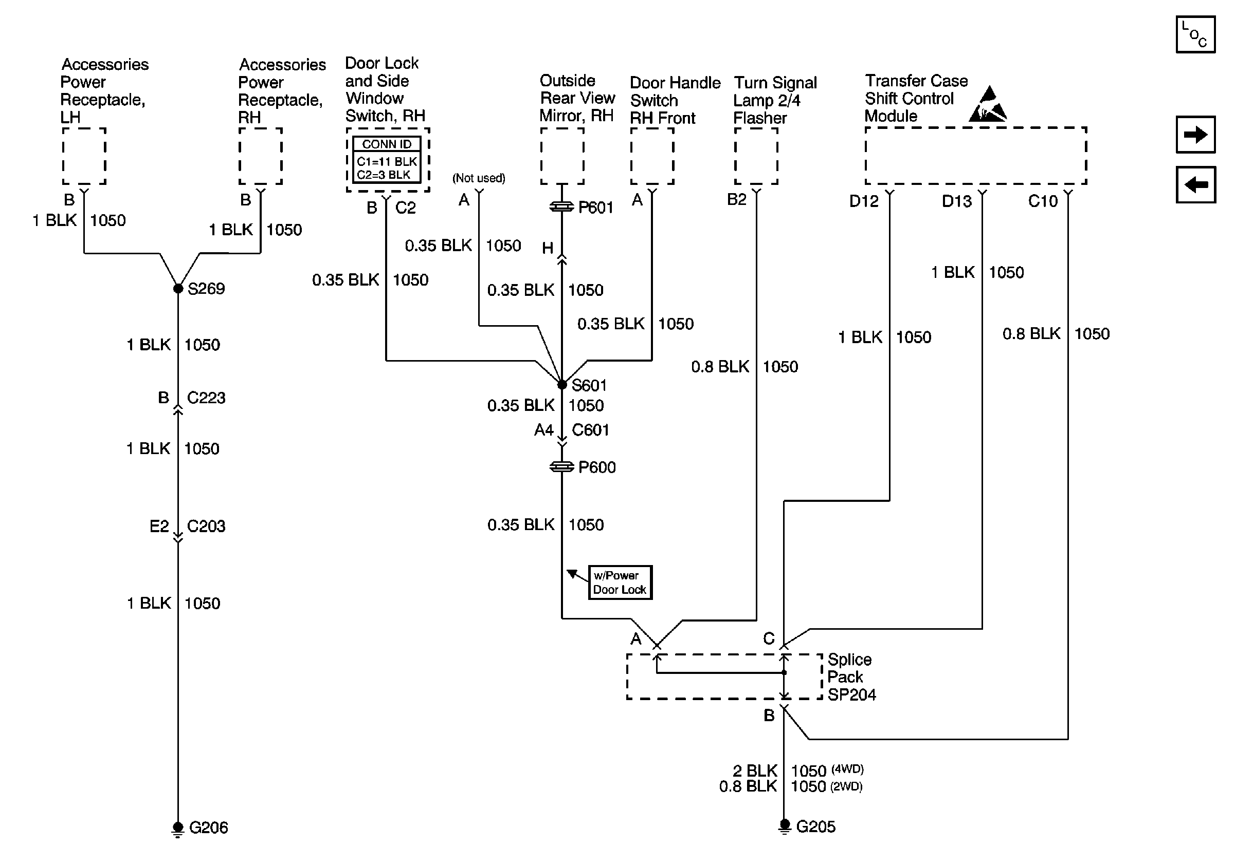
G205 and G206
G202
Handling ESD Sensitive Parts Notice
Entertainment Connector End Views
Handling ESD Sensitive Parts Notice
HVAC Connector End Views
Transfer Case Control Connector End Views
Handling ESD Sensitive Parts Notice
Figure 10:

G205 and G206


Object Number: 568768  Size: FS
Power and Grounding Components
G402, G422 and G475
G203 and G204
Power Door Systems Connector End Views
Handling ESD Sensitive Parts Notice
Figure 11:

G402, G422 and G475


Object Number: 568770  Size: FS
Power and Grounding Components
G205 and G206