| |||||||||||||||
|---|---|---|---|---|---|---|---|---|---|---|---|---|---|---|---|
Connector Part Information  | 
 
  | Connector Part Information  | 
 
  | ||||||||||||
Pin  | Wire Color  | Circuit No.  | Function  | Pin  | Wire Color  | Circuit No.  | Function  | ||||||||
A  | PPL  | 1666  | Oxygen Sensor Signal - Right Forward of Catalytic Converter  | A  | PPL  | 1666  | Oxygen Sensor Signal - Right Forward of Catalytic Converter  | ||||||||
B  | TAN  | 1667  | Oxygen Sensor Return - Right Forward of Catalytic Converter  | B  | TAN  | 1667  | Oxygen Sensor Return - Right Forward of Catalytic Converter  | ||||||||
C  | PPL/WHT  | 1668  | Oxygen Sensor Signal - Left Rear of Catalytic Converter  | C  | PPL/WHT  | 1668  | Oxygen Sensor Signal - Left Rear of Catalytic Converter  | ||||||||
D  | TAN/WHT  | 1669  | Oxygen Sensor Return - Left Rear of Catalytic Converter  | D  | TAN/WHT  | 1669  | Oxygen Sensor Return - Left Rear of Catalytic Converter  | ||||||||
E  | PNK  | 539  | Fuse - Output Ignition 1  | E  | PNK  | 539  | Fuse - Output Ignition 1  | ||||||||
F  | BLK  | 350  | Ground  | F  | BLK  | 350  | Ground  | ||||||||
 
 | |||||||||||||||
|---|---|---|---|---|---|---|---|---|---|---|---|---|---|---|---|
Connector Part Information  | 
 
  | Connector Part Information  | 
 
  | ||||||||||||
Pin  | Wire Color  | Circuit No.  | Function  | Pin  | Wire Color  | Circuit No.  | Function  | ||||||||
A  | WHT  | 121  | Tachometer Signal  | A  | WHT  | 121  | Tachometer Signal  | ||||||||
B  | --  | --  | Not Used (w/o A/C)  | B  | --  | --  | Not Used (w/o A/C)  | ||||||||
B  | LT BLU  | 203  | Air Conditioning High Pressure (w/ A/C)  | B  | LT BLU  | 203  | Air Conditioning High Pressure (w/ A/C)  | ||||||||
C  | TAN/WHT  | 331  | Oil Pressure Sensor Signal  | C  | TAN/WHT  | 331  | Oil Pressure Sensor Signal  | ||||||||
D  | LT GRN/BLK  | 584  | Fuse Output - Automatic Transmission Shift Lock  | D  | LT GRN/BLK  | 584  | Fuse Output - Automatic Transmission Shift Lock (Auto Trans Only)  | ||||||||
E  | PPL  | 420  | Brake Pedal Switch Output - Torque Converter  | E  | PPL  | 420  | Brake Pedal Switch Output - Torque Converter (Auto Trans Only)  | ||||||||
F  | YEL/BLK  | 1827  | Vehicle Speed Sensor - 128000 Pulses Per Mile  | F  | YEL/BLK  | 1827  | Vehicle Speed Sensor - 128000 Pulses Per Mile  | ||||||||
G  | PNK  | 1020  | Fuse Output - Off/Run/Crank - Type III Fuse  | G  | PNK  | 1020  | Fuse Output - Off/Run/Crank - Type III Fuse  | ||||||||
H  | YEL  | 710  | Serial Data Signal - Class 2 - 10400 Baud-Second  | H  | YEL  | 710  | Serial Data Signal - Class 2 - 10400 Baud-Second  | ||||||||
J  | --  | --  | Not Used (Man Trans)  | J  | BRN/WHT  | 379  | Not Used (Man Trans)  | ||||||||
J  | PPL  | 420  | Brake Pedal Switch Output - Torque Converter (Auto Trans)  | J  | BRN/WHT  | 379  | Cruise Control Clutch Pedal Switch Output (Auto Trans)  | ||||||||
K  | --  | --  | Not Used (Man Trans)  | K  | BRN/WHT  | 379  | Not Used (Man Trans)  | ||||||||
K  | BRN/WHT  | 379  | Cruise Control Clutch Pedal Switch Output (Auto Trans)  | K  | BRN/WHT  | 379  | Cruise Control Clutch Pedal Switch Output (Auto Trans)  | ||||||||
L  | BRN/WHT  | 419  | Brake Pedal Switch Output - Torque Converter  | L  | BRN/WHT  | 419  | Brake Pedal Switch Output - Torque Converter  | ||||||||
M  | DK GRN/WHT  | 817  | Vehicle Speed Signal - 4000 Pulses Per Mile  | M  | DK GRN/WHT  | 817  | Vehicle Speed Signal - 4000 Pulses Per Mile  | ||||||||
N  | DK GRN  | 389  | Vehicle Speed Signal - 4000 Pulses Per Mile  | N  | DK GRN  | 389  | Vehicle Speed Signal - 4000 Pulses Per Mile  | ||||||||
P  | --  | --  | Not Used (Man Trans)  | P  | --  | --  | Not Used (Man Trans)  | ||||||||
P  | LT BLU/BLK  | 396  | Cruise Control Signal Engaged (Auto Trans)  | P  | LT BLU/BLK  | 396  | Cruise Control Signal Engaged (Auto Trans)  | ||||||||
R  | DK GRN  | 1049  | Serial Data Signal - Class 2 - 10400 Baud Daignostic to PCM/VCM  | R  | DK GRN  | 1049  | Serial Data Signal - Class 2 - 10400 Baud Daignostic to PCM/VCM  | ||||||||
S  | --  | --  | Not Used  | S  | --  | --  | Not Used  | ||||||||
 
 | |||||||||||||||
|---|---|---|---|---|---|---|---|---|---|---|---|---|---|---|---|
Connector Part Information  | 
 
  | Connector Part Information  | 
 
  | ||||||||||||
Pin  | Wire Color  | Circuit No.  | Function  | Pin  | Wire Color  | Circuit No.  | Function  | ||||||||
A  | WHT  | 121  | Tachometer Signal  | A  | WHT  | 121  | Tachometer Signal  | ||||||||
B  | LT BLU  | 203  | Air Conditioning Refrigerant High Pressure Cut - Out Switch Feed  | B  | LT BLU  | 203  | Air Conditioning Refrigerant High Pressure Cut - Out Switch Feed  | ||||||||
B  | LT BLU  | 203  | Air Conditioning Refrigerant High Pressure Cut - Out Switch Feed  | B  | --  | --  | Not Used (Non-A/C)  | ||||||||
C  | TAN/WHT  | 331  | Oil Pressure Sensor Signal  | C  | TAN/WHT  | 331  | Oil Pressure Sensor Signal  | ||||||||
D  | LT GRN/BLK  | 584  | Fuse Output - Brake Transmission Shift Interlock (Auto Trans Only)  | D  | LT GRN/BLK  | 584  | Fuse Output - Brake Transmission Shift Interlock (Auto Trans Only)  | ||||||||
E  | RED  | 1676  | Exhaust Gas Recirculation Solenoid Feed  | E  | RED  | 1676  | Exhaust Gas Recirculation Solenoid Feed  | ||||||||
F  | YEL/BLK  | 1827  | Vehicle Speed Signal - 128000 Pulses Per Mile  | F  | YEL/BLK  | 1827  | Vehicle Speed Signal - 128000 Pulses Per Mile  | ||||||||
G  | PNK  | 1020  | Fuse Output - Off/Run/Crank - Type III Fuse  | G  | PNK  | 1020  | Fuse Output - Off/Run/Crank - Type III Fuse  | ||||||||
H  | WHT  | 257  | Exhaust Gas Recirculation Solenoid Control  | H  | WHT  | 257  | Exhaust Gas Recirculation Solenoid Control  | ||||||||
J  | PPL  | 420  | Brake Pedal Switch Output - Torque Converter Clutch  | J  | BRN/WHT  | 379  | Cruise Control Clutch Pedal Switch Output  | ||||||||
K  | BRN/WHT  | 379  | Cruise Control Clutch Pedal Switch Output  | K  | BRN/WHT  | 379  | Cruise Control Clutch Pedal Switch Output  | ||||||||
 
 | |||||||||||||||
|---|---|---|---|---|---|---|---|---|---|---|---|---|---|---|---|
Connector Part Information  | 
 
  | Connector Part Information  | 
 
  | ||||||||||||
Pin  | Wire Color  | Circuit No.  | Function  | Pin  | Wire Color  | Circuit No.  | Function  | ||||||||
A  | WHT  | 1310  | Canister Vent Valve Solenoid Control  | A  | WHT  | 1310  | Canister Vent Valve Solenoid Control  | ||||||||
B  | DK GRN  | 890  | Fuel Tank Pressure Sensor Signal  | B  | DK GRN  | 890  | Fuel Tank Pressure Sensor Signal  | ||||||||
C  | GRY  | 705  | Reference Voltage Feed - 5 Volt Reference  | C  | GRY  | 705  | Reference Voltage Feed - 5 Volt Reference  | ||||||||
D  | ORN/BLK  | 510  | Fuel Sender Return  | D  | ORN/BLK  | 510  | Fuel Sender Return  | ||||||||
E  | PPL  | 1589  | Fuel Gauge Sensor Signal  | E  | PPL  | 1589  | Fuel Gauge Sensor Signal  | ||||||||
F  | --  | --  | Not Used  | F  | --  | --  | Not Used  | ||||||||
 
 | |||||||||||||||
|---|---|---|---|---|---|---|---|---|---|---|---|---|---|---|---|
Connector Part Information  | 
 
  | Connector Part Information  | 
 
  | ||||||||||||
Pin  | Wire Color  | Circuit No.  | Function  | Pin  | Wire Color  | Circuit No.  | Function  | ||||||||
A  | WHT  | 1310  | Canister Vent Valve Solenoid Output  | A  | WHT  | 1310  | Canister Vent Valve Solenoid Output  | ||||||||
B  | DK GRN  | 890  | Fuel Tank Pressure Sensor Signal  | B  | DK GRN  | 890  | Fuel Tank Pressure Sensor Signal  | ||||||||
C  | GRY  | 474  | Reference Voltage Feed - 5 Volt Reference  | C  | GRY  | 474  | Reference Voltage Feed - 5 Volt Reference  | ||||||||
D  | BLK/WHT  | 470  | Fuel Sender Return  | D  | BLK  | 470  | Fuel Sender Return  | ||||||||
E  | PPL  | 1589  | Fuel Gauge Sensor Signal  | E  | PPL  | 1589  | Fuel Gauge Sensor Signal  | ||||||||
F  | --  | --  | Not Used  | F  | --  | --  | Not Used  | ||||||||
 
 | |||||||||||||||
|---|---|---|---|---|---|---|---|---|---|---|---|---|---|---|---|
Connector Part Information  | 
 
  | Connector Part Information  | 
 
  | ||||||||||||
Pin  | Wire Color  | Circuit No.  | Function  | Pin  | Wire Color  | Circuit No.  | Function  | ||||||||
A-D  | --  | --  | Not Used  | A-D  | --  | --  | Not Used  | ||||||||
E  | BLK/WHT  | 1851  | Ground  | E  | BLK/WHT  | 1851  | Ground  | ||||||||
F  | --  | --  | Not Used  | F  | --  | --  | Not Used  | ||||||||
 
 | |||||||||||||||
|---|---|---|---|---|---|---|---|---|---|---|---|---|---|---|---|
Connector Part Information  | 
 
  | Connector Part Information  | 
 
  | ||||||||||||
Pin  | Wire Color  | Circuit No.  | Function  | Pin  | Wire Color  | Circuit No.  | Function  | ||||||||
A  | BRN/WHT  | 1555  | Transfer Case Position Switch Encoder Signal - Channel P  | A  | BRN/WHT  | 1555  | Transfer Case Position Switch Encoder Signal - Channel P  | ||||||||
B  | BLK/WHT  | 1554  | Transfer Case Encoder Signal Return  | B  | BLK/WHT  | 1554  | Transfer Case Encoder Signal Return  | ||||||||
C  | DK BLU/WHT  | 1557  | Transfer Case Position Switch Encoder Signal - Channel A  | C  | DK BLU/WHT  | 1557  | Transfer Case Position Switch Encoder Signal - Channel A  | ||||||||
D  | YEL/BLK  | 1558  | Transfer Case Position Switch Encoder Signal - Channel B  | D  | YEL/BLK  | 1558  | Transfer Case Position Switch Encoder Signal - Channel B  | ||||||||
E  | BLK  | 1552  | Transfer Case Motor Feed - Clockwise  | E  | BLK  | 1552  | Transfer Case Motor Feed - Clockwise  | ||||||||
F  | RED/WHT  | 1556  | Transfer Case Position Switch Encoder Signal - Channel C  | F  | RED/WHT  | 1556  | Transfer Case Position Switch Encoder Signal - Channel C  | ||||||||
G  | RED  | 1553  | Transfer Case Motor Feed - CounterClockwise  | G  | RED  | 1553  | Transfer Case Motor Feed - CounterClockwise  | ||||||||
 
 | |||||||||||||||
|---|---|---|---|---|---|---|---|---|---|---|---|---|---|---|---|
Connector Part Information  | 
 
  | Connector Part Information  | 
 
  | ||||||||||||
Pin  | Wire Color  | Circuit No.  | Function  | Pin  | Wire Color  | Circuit No.  | Function  | ||||||||
A  | YEL  | 2160  | SRS Forward Sensor Signal  | A  | YEL  | 2160  | SRS Forward Sensor Signal  | ||||||||
B  | BLK/WHT  | 2151  | SRS Ground  | B  | BLK/WHT  | 2151  | SRS Ground  | ||||||||
C  | LT BLU  | 830  | Wheel Speed Sensor Signal - Left Front  | C  | LT BLU  | 830  | Wheel Speed Sensor Signal - Left Front  | ||||||||
D  | DK GRN  | 872  | Wheel Speed Sensor Signal - Right Front  | D  | DK GRN  | 872  | Wheel Speed Sensor Signal - Right Front  | ||||||||
E  | YEL  | 873  | Wheel Speed Sensor Return - Left Front  | E  | YEL  | 873  | Wheel Speed Sensor Return - Left Front  | ||||||||
F  | TAN  | 833  | Wheel Speed Sensor Return - Right Front  | F  | TAN  | 833  | Wheel Speed Sensor Return - Right Front  | ||||||||
 
 | |||||||||||||||
|---|---|---|---|---|---|---|---|---|---|---|---|---|---|---|---|
Connector Part Information  | 
 
  | Connector Part Information  | 
 
  | ||||||||||||
Pin  | Wire Color  | Circuit No.  | Function  | Pin  | Wire Color  | Circuit No.  | Function  | ||||||||
A  | PNK  | 439  | Fuse Output - Ignition 1  | A  | GRY  | 120  | Fuel Injecor Feed  | ||||||||
B  | BLK  | 1744  | Fuel Injector 1 Output  | B  | BLK  | 1744  | Fuel Injector 1 Output  | ||||||||
C  | LT GRN/BLK  | 1745  | Fuel Injector 2 Output  | C  | LT GRN/BLK  | 1745  | Fuel Injector 2 Output  | ||||||||
D  | PNK/BLK  | 1746  | Fuel Injector 3 Output  | D  | PNK/BLK  | 1746  | Fuel Injector 3 Output  | ||||||||
E  | LT BLU/BLK  | 844  | Fuel Injector 4 Output  | E  | LT BLU/BLK  | 844  | Fuel Injector 4 Output  | ||||||||
 
 | |||||||||||||||
|---|---|---|---|---|---|---|---|---|---|---|---|---|---|---|---|
Connector Part Information  | 
 
  | Connector Part Information  | 
 
  | ||||||||||||
Pin  | Wire Color  | Circuit No.  | Function  | Pin  | Wire Color  | Circuit No.  | Function  | ||||||||
A  | BRN  | 241  | Fuse Output - Ignition 3 - Type III Fuse  | A  | BRN  | 241  | Fuse Output - Ignition 3 - Type III Fuse  | ||||||||
B  | BLK/WHT  | 1695  | Four Wheel Drive Front Wheel Lock Telltale Feed  | B  | BLK/WHT  | 1695  | Four Wheel Drive Front Wheel Lock Telltale Feed  | ||||||||
 
 | 
 
 | ||||||||||||||
|---|---|---|---|---|---|---|---|---|---|---|---|---|---|---|---|
Connector Part Information  | 
 
  | Connector Part Information  | 
 
  | ||||||||||||
Pin  | Wire Color  | Circuit No.  | Function  | Pin  | Wire Color  | Circuit No.  | Function  | ||||||||
A  | PPL/WHT  | 821  | Vehicle Speed Sensor Signal  | A  | PPL/WHT  | 821  | Vehicle Speed Sensor Signal  | ||||||||
B  | LT GRN/BLK  | 822  | Vehicle Speed Sensor Return  | B  | LT GRN/BLK  | 822  | Vehicle Speed Sensor Return  | ||||||||
 
 | |||||||||||||||
|---|---|---|---|---|---|---|---|---|---|---|---|---|---|---|---|
Connector Part Information  | 
 
  | Connector Part Information  | 
 
  | ||||||||||||
Pin  | Wire Color  | Circuit No.  | Function  | Pin  | Wire Color  | Circuit No.  | Function  | ||||||||
A  | PNK  | 639  | Fuse Output - Ignition 1 - Type III Fuse  | A  | PNK  | 639  | Fuse Output - Ignition 1 - Type III Fuse  | ||||||||
B  | BRN  | 436  | Air Injection Reactor Pump Motor Relay Output  | B  | BRN  | 436  | Air Injection Reactor Pump Motor Relay Output  | ||||||||
 
 | |||||||||||||||
|---|---|---|---|---|---|---|---|---|---|---|---|---|---|---|---|
Connector Part Information  | 
 
  | Connector Part Information  | 
 
  | ||||||||||||
Pin  | Wire Color  | Circuit No.  | Function  | Pin  | Wire Color  | Circuit No.  | Function  | ||||||||
A  | YEL  | 1834  | SRS Forward Sensor Signal  | A  | YEL  | 1834  | SRS Forward Sensor Signal  | ||||||||
B  | BLK/WHT  | 1851  | Ground  | B  | BLK/WHT  | 1851  | Ground  | ||||||||
 
 | |||||||||||||||
|---|---|---|---|---|---|---|---|---|---|---|---|---|---|---|---|
Connector Part Information  | 
 
  | Connector Part Information  | 
 
  | ||||||||||||
Pin  | Wire Color  | Circuit No.  | Function  | Pin  | Wire Color  | Circuit No.  | Function  | ||||||||
A  | WHT/BLK  | 1403  | SRS Inflator Feed - Passenger  | A  | WHT/BLK  | 1403  | SRS Inflator Feed - Passenger  | ||||||||
B  | DK GRN/WHT  | 1404  | SRS Inflator Output - Passenger  | B  | DK GRN/WHT  | 1404  | SRS Inflator Output - Passenger  | ||||||||
 
 | |||||||||||||||
|---|---|---|---|---|---|---|---|---|---|---|---|---|---|---|---|
Connector Part Information  | 
 
  | Connector Part Information  | 
 
  | ||||||||||||
Pin  | Wire Color  | Circuit No.  | Function  | Pin  | Wire Color  | Circuit No.  | Function  | ||||||||
A1  | LT BLU  | 115  | Speaker Return - Right Rear  | A1  | LT BLU  | 115  | Speaker Return - Right Rear  | ||||||||
A2  | DK BLU  | 46  | Speaker Feed - Right Rear  | A2  | DK BLU  | 46  | Speaker Feed - Right Rear  | ||||||||
A3  | YEL  | 116  | Speaker Feed - Left Rear  | A3  | YEL  | 116  | Speaker Feed - Left Rear  | ||||||||
A4  | BRN  | 199  | Speaker Feed - Left Rear  | A4  | BRN  | 199  | Speaker Feed - Left Rear  | ||||||||
A5  | GRY  | 118  | Speaker Return - Left Front  | A5  | GRY  | 118  | Speaker Return - Left Front  | ||||||||
A6  | TAN  | 201  | Speaker Feed - Left Front  | A6  | TAN  | 201  | Speaker Feed - Left Front  | ||||||||
A7-A13  | --  | --  | Not Used  | A7-A13  | --  | --  | Not Used  | ||||||||
B1  | BRN  | 41  | Fuse Output - Ignition 3  | B1  | BRN  | 41  | Fuse Output - Ignition 3  | ||||||||
B2  | --  | --  | Not Used  | B2  | --  | --  | Not Used  | ||||||||
B3  | --  | --  | Not Used (w/o Power Locks)  | B3  | --  | --  | Not Used (w/o Power Locks)  | ||||||||
B3  | LT GRN  | 262  | Door Key Lock Cylinder Switch Signal - Driver (w/ Power Locks)  | B3  | LT GRN  | 262  | Door Key Lock Cylinder Switch Signal - Driver (w/ Power Locks)  | ||||||||
B4-B5  | --  | --  | Not Used  | B4-B5  | --  | --  | Not Used  | ||||||||
B6  | WHT  | 193  | Rear Defogger Relay Output - Coil (w/ A/C)  | B6  | WHT  | 193  | Rear Defogger Relay Output - Coil (w/ A/C)  | ||||||||
B7  | WHT  | 1390  | Ignition Switch Output - Off/Run/Crank  | B7  | WHT  | 1390  | Ignition Switch Output - Off/Run/Crank  | ||||||||
B8  | ORN  | 1740  | Fuse Output - Battery (w/ A/C)  | B8  | ORN  | 1740  | Fuse Output - Battery (w/ A/C)  | ||||||||
B9  | ORN  | 640  | Fuse Output - Battery  | B9  | ORN  | 640  | Fuse Output - Battery  | ||||||||
B10  | ORN  | 240  | Fuse Output - Battery  | B10  | ORN  | 240  | Fuse Output - Battery  | ||||||||
B11  | ORN  | 40  | Fuse Output - Battery  | B11  | ORN  | 40  | Fuse Output - Battery  | ||||||||
B12  | PPL  | 34  | Fog Lamp Feed (w/ Fog Lamps)  | B12  | PPL  | 34  | Fog Lamp Feed (w/ Fog Lamps)  | ||||||||
B13-C3  | --  | --  | Not Used  | B13-C3  | --  | --  | Not Used  | ||||||||
C4  | ORN  | 52  | Blower Switch Output - High (w/ Man A/C)  | C4  | ORN  | 52  | Blower Switch Output - High (w/ Man A/C)  | ||||||||
C5  | TAN  | 63  | Blower Switch Output - Med (w/ Man A/C)  | C5  | TAN  | 63  | Blower Switch Output - Med (w/ Man A/C)  | ||||||||
C6  | BRN  | 64  | High Speed Blower Relay Feed -Coil (w/ Man A/C)  | C6  | BRN  | 64  | High Speed Blower Relay Feed -Coil (w/ Man A/C)  | ||||||||
C7  | LT BLU  | 72  | Blower Switch Output - Medium 2 (w/ Man A/C)  | C7  | LT BLU  | 72  | Blower Switch Output - Medium 2 (w/ Man A/C)  | ||||||||
C8  | LT BLU  | 203  | Air Conditioning Refrigerant High Pressure Cut - Out Switch Feed  | C8  | LT BLU  | 203  | Air Conditioning Refrigerant High Pressure Cut - Out Switch Feed  | ||||||||
C9-D4  | --  | --  | Not Used  | C9-D4  | --  | --  | Not Used  | ||||||||
D5  | LT BLU  | 733  | Air Temperature Valve Position Sensor Signal  | D5  | LT BLU  | 733  | Air Temperature Valve Position Sensor Signal  | ||||||||
D6-DE1  | --  | --  | Not Used  | D6-E1  | --  | --  | Not Used  | ||||||||
E2  | BLK  | 1050  | Ground  | E2  | BLK  | 1050  | Ground  | ||||||||
E11  | DK GRN  | 389  | Vehicle Speed Signal - 4000 Pulses Per Mile  | E11  | DK GRN  | 389  | Vehicle Speed Signal - 4000 Pulses Per Mile  | ||||||||
E12  | WHT  | 352  | Headlamp Relay Feed - Coil  | E12  | WHT  | 352  | Headlamp Relay Feed - Coil  | ||||||||
F1  | PNK  | 3  | Ignition Switch Output - Ignition 1  | F1  | PNK  | 3  | Ignition Switch Output - Ignition 1  | ||||||||
F2  | YEL  | 143  | Fuse Output - Accessory  | F2  | YEL  | 143  | Fuse Output - Accessory  | ||||||||
F11  | --  | --  | Not Used (w/o Power Locks/Windows)  | F11  | --  | --  | Not Used (w/o Power Locks/Windows)  | ||||||||
F11  | BRN  | 2409  | Fuse Output - Interior Park Lamps (w/ Power Locks/Windows)  | F11  | BRN  | 2409  | Fuse Output - Interior Park Lamps (w/ Power Locks/Windows)  | ||||||||
F12  | BLK  | 1050  | Ground  | F12  | BLK  | 1050  | Ground  | ||||||||
G1  | PPL/WHT  | 1382  | Led Dimming Signal  | G1  | PPL/WHT  | 1382  | Led Dimming Signal  | ||||||||
G2  | GRY  | 1220  | Fuse Output - Instrument Panel Lamps  | G2  | --  | --  | Not Used  | ||||||||
G11  | --  | --  | Not Used (w/o Power Locks)  | G11  | --  | --  | Not Used (w/o Power Locks)  | ||||||||
G11  | ORN  | 54  | Door Jamb Switch Signal - Passenger (w/ Power Locks)  | G11  | ORN  | 54  | Door Jamb Switch Signal - Passenger (w/ Power Locks)  | ||||||||
G12  | WHT  | 156  | Courtesy Lamp Output  | G12  | WHT  | 156  | Courtesy Lamp Output  | ||||||||
H1-H2  | --  | --  | Not Used  | H1-H2  | --  | --  | Not Used  | ||||||||
H3  | --  | --  | Not Used (w/o 4WD)  | H3  | --  | --  | Not Used (w/o 4WD)  | ||||||||
H3  | DK GRN/WHT  | 1559  | 4 LO Select Switch Output (w/ 4WD)  | H3  | DK GRN/WHT  | 1559  | 4 LO Select Switch Output (w/ 4WD)  | ||||||||
H4  | --  | --  | Not Used (w/o 4WD)  | H4  | --  | --  | Not Used (w/o 4WD)  | ||||||||
H4  | DK GRN/WHT  | 1562  | 4 HI Select Switch Output (w/ 4WD)  | H4  | DK GRN/WHT  | 1562  | 4 HI Select Switch Output (w/ 4WD)  | ||||||||
H5  | --  | --  | Not Used (w/o 4WD)  | H5  | --  | --  | Not Used (w/o 4WD)  | ||||||||
H5  | LT GRN/BLK  | 1563  | 2 HI Indicator Lamp Output (w/ 4WD)  | H5  | LT GRN/BLK  | 1563  | 2 HI Indicator Lamp Output (w/ 4WD)  | ||||||||
H6  | --  | --  | Not Used (w/o 4WD)  | H6  | --  | --  | Not Used (w/o 4WD)  | ||||||||
H6  | GRY/BLK  | 1564  | 4 HI Select Switch Output (w/ 4WD)  | H6  | GRY/BLK  | 1564  | 4 HI Select Switch Output (w/ 4WD)  | ||||||||
H7  | --  | --  | Not Used (w/o 4WD)  | H7  | --  | --  | Not Used (w/o 4WD)  | ||||||||
H7  | PPL/WHT  | 1565  | 4 LO Indicator Lamp Output (w/ 4WD)  | H7  | PPL/WHT  | 1565  | 4 LO Indicator Lamp Output (w/ 4WD)  | ||||||||
H8  | --  | --  | Not Used (w/o 4WD)  | H8  | --  | --  | Not Used (w/o 4WD)  | ||||||||
H8  | TAN/BLK  | 1566  | 4 HI Indicator Lamp Output (w/ 4WD)  | H8  | TAN/BLK  | 1566  | 4 HI Indicator Lamp Output (w/ 4WD)  | ||||||||
H9  | BRN  | 2409  | Fuse Output - Interior Park Lamps  | H9  | BRN  | 2409  | Fuse Output - Interior Park Lamps  | ||||||||
H10-12  | --  | --  | Not Used  | H10-12  | --  | --  | Not Used  | ||||||||
H13  | BLK/WHT  | 451  | Ground  | H13  | BLK/WHT  | 451  | Ground  | ||||||||
J1  | PNK  | 39  | Fuse Output - Ignition 1  | J1  | PNK  | 39  | Fuse Output - Ignition 1  | ||||||||
J2  | PNK  | 139  | Fuse Output - Ignition 1  | J2  | PNK  | 139  | Fuse Output - Ignition 1  | ||||||||
J3  | YEL  | 1139  | Fuse Output - Ignition 1 - SRS  | J3  | YEL  | 1139  | Fuse Output - Ignition 1 - SRS  | ||||||||
J4-5  | --  | --  | Not Used  | J4-5  | --  | --  | Not Used  | ||||||||
J6  | LT BLU/WHT  | 1414  | Turn Signal Switch Output - Left Front  | J6  | LT BLU/WHT  | 1414  | Turn Signal Switch Output - Left Front  | ||||||||
J7  | DK BLU/WHT  | 1415  | Turn Signal Switch Output - Right Front  | J7  | DK BLU/WHT  | 1415  | Turn Signal Switch Output - Right Front  | ||||||||
J8  | --  | --  | Not Used  | J8  | --  | --  | Not Used  | ||||||||
J9  | BRN  | 1356  | Flash To Pass Switch Signal  | J9  | BRN  | 1356  | Flash To Pass Switch Signal  | ||||||||
J10-13  | --  | --  | Not Used  | J10-13  | --  | --  | Not Used  | ||||||||
K1  | BRN  | 341  | Fuse Output - Ignition 3  | K1  | BRN  | 341  | Fuse Output - Ignition 3  | ||||||||
K2  | --  | --  | Not Used (w/ 2.2L)  | K2  | --  | --  | Not Used (w/ 2.2L)  | ||||||||
K2  | BRN  | 241  | Fuse Output - Ignition 3 (w/ 4.3L)  | K2  | BRN  | 241  | Fuse Output - Ignition 3 (w/ 4.3L)  | ||||||||
K3  | BRN  | 441  | Fuse Output - Ignition 3  | K3  | BRN  | 441  | Fuse Output - Ignition 3  | ||||||||
K4  | PNK  | 1020  | Fuse Output - Off/Run/Crank  | K4  | PNK  | 1020  | Fuse Output - Off/Run/Crank  | ||||||||
K5  | --  | --  | Not Used  | K5  | --  | --  | Not Used  | ||||||||
K6  | ORN  | 1732  | Electronic Control Unit Ouput - 12 Volt - Inadvertant  | K6  | ORN  | 1732  | Electronic Control Unit Ouput - 12 Volt - Inadvertant  | ||||||||
K7  | DK GRN  | 117  | Speaker Return - Right Front  | K7  | LT BLU  | 117  | Speaker Return - Right Front  | ||||||||
K8  | LT GRN  | 200  | Speaker Feed - Right Front  | K8  | DK BLU  | 200  | Speaker Feed - Right Front  | ||||||||
K9-K10  | --  | --  | Not Used  | K9-K10  | --  | --  | Not Used  | ||||||||
K11  | LT BLU  | 74  | Park Lamp Switch Output  | K11  | LT BLU  | 74  | Park Lamp Switch Output  | ||||||||
K12  | PNK  | 353  | SRS Defeat Indicator Lamp Output -  | K12  | PNK  | 353  | SRS Defeat Indicator Lamp Output - Passenger  | ||||||||
K13  | TAN/BLK  | 371  | SRS Defeat Switch Signal - Passenger  | K13  | TAN/BLK  | 371  | SRS Defeat Switch Signal - Passenger  | ||||||||
L1  | --  | --  | Not Used  | L1  | --  | --  | Not Used  | ||||||||
L2  | BRN/WHT  | 419  | Check Engine Indicator Lamp Output  | L2  | BRN/WHT  | 419  | Check Engine Indicator Lamp Output  | ||||||||
L3  | --  | --  | Not Used  | L3  | --  | --  | Not Used  | ||||||||
L4  | ORN/BLK  | 1786  | Transmission Park/Neutral Signal  | L4  | ORN/BLK  | 1786  | Transmission Park/Neutral Signal  | ||||||||
L5  | TAN/WHT  | 331  | Oil Pressure Sensor Signal  | L5  | TAN/WHT  | 331  | Oil Pressure Sensor Signal  | ||||||||
L6  | WHT  | 121  | Tachometer Signal  | L6  | WHT  | 121  | Tachometer Signal  | ||||||||
L7  | GRY  | 1036  | Serial Data Signal - Class 2 - 10400 Baud - Diagnostic  | L7  | GRY  | 1036  | Serial Data Signal - Class 2 - 10400 Baud - Diagnostic  | ||||||||
L8-L13  | --  | --  | Not Used  | L8-L13  | --  | --  | Not Used  | ||||||||
 
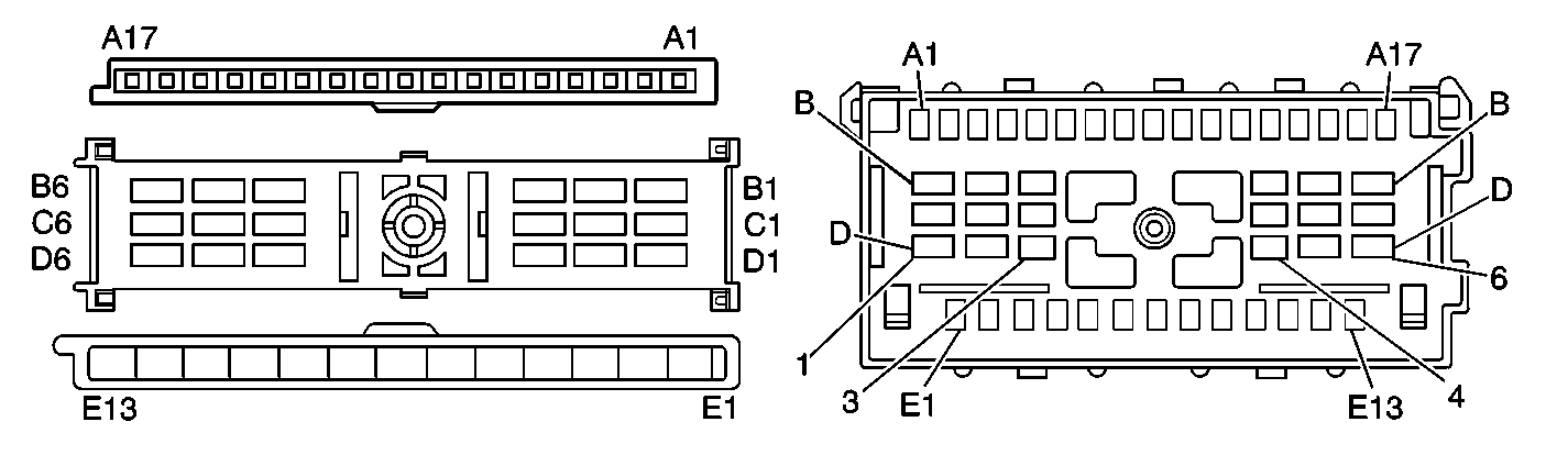
 | |||||||||||||||||||||||
|---|---|---|---|---|---|---|---|---|---|---|---|---|---|---|---|---|---|---|---|---|---|---|---|
Connector Part Information  | 
 
 
 
 
 
  | Connector Part Information  | 
 
  | ||||||||||||||||||||
Pin  | Wire Color  | Circuit No.  | Function  | Pin  | Wire Color  | Circuit No.  | Function  | ||||||||||||||||
A1  | WHT  | 17  | Stoplamp Switch Output  | A1  | WHT  | 17  | Stoplamp Switch Output  | ||||||||||||||||
A2  | PNK  | 139  | Fuse Output - Ignition 1  | A2  | PNK  | 139  | Fuse Output - Ignition 1  | ||||||||||||||||
A3  | LT BLU  | 1508  | Turn/Hazard Module Feed  | A3  | LT BLU  | 1508  | Turn/Hazard Module Feed  | ||||||||||||||||
A4  | ORN  | 140  | Fuse Output - Battery  | A4  | ORN  | 140  | Fuse Output - Battery  | ||||||||||||||||
A5  | PPL  | 1697  | Turn/Hazard Module Output  | A5  | PPL  | 1697  | Turn/Hazard Module Output  | ||||||||||||||||
A6  | DK BLU  | 1415  | Turn Signal Switch Output - Right Front  | A6  | DK BLU/WHT  | 1415  | Turn Signal Switch Output - Right Front  | ||||||||||||||||
A7  | LT BLU  | 1414  | Turn Signal Switch Output - Left Front  | A7  | LT BLU/WHT  | 1414  | Turn Signal Switch Output - Left Front  | ||||||||||||||||
A8  | WHT  | 1356  | Flash-to-Pass Switch Signal  | A8  | BRN  | 1356  | Flash-to-Pass Switch Signal  | ||||||||||||||||
A9  | DK GRN/WHT  | 1786  | Transmission Park/Neutral Signal  | A9  | ORN/BLK  | 1786  | Transmission Park/Neutral Signal  | ||||||||||||||||
A10  | LT BLU  | 895  | HMSL Relay Output-Common Contact  | A10  | YEL/BLK  | 895  | HMSL Relay Output-Common Contact  | ||||||||||||||||
A11  | BLK  | 28  | Horn Relay Output - Coil  | A11  | BLK  | 28  | Horn Relay Output - Coil  | ||||||||||||||||
A12  | GRY  | 397  | Cruise Control On Switch Output (w/ Cruise)  | A12  | GRY  | 397  | Cruise Control On Switch Output (w/ Cruise)  | ||||||||||||||||
A13  | BRN  | 41  | Fuse Output - Ignition 3 (w/ Cruise)  | A13  | BRN  | 41  | Fuse Output - Ignition 3 (w/ Cruise)  | ||||||||||||||||
A14  | DK BLU  | 84  | Cruise Control Set/Coast Switch Signal (w/ Cruise)  | A14  | DK BLU  | 84  | Cruise Control Set/Coast Switch Signal (w/ Cruise)  | ||||||||||||||||
A15  | GRY/BLK  | 87  | Cruise Control Resume/Accel Switch Signal (w/ Cruise)  | A15  | GRY/BLK  | 87  | Cruise Control Resume/Accel Switch Signal (w/ Cruise)  | ||||||||||||||||
A16  | BLK  | 1850  | Ground  | A16  | BLK  | 1850  | Ground  | ||||||||||||||||
A17  | DK GRN/WHT  | 1135  | Automatic Transmission Shift Lock Solenoid Feed  | A17  | DK GRN/WHT  | 1135  | Automatic Transmission Shift Lock Solenoid Feed  | ||||||||||||||||
B1  | RED  | 242  | Fuse Output - Battery  | B1  | RED  | 242  | Fuse Output - Battery  | ||||||||||||||||
B2  | --  | --  | Not Used  | B2  | --  | --  | Not Used  | ||||||||||||||||
B3  | LT GRN  | 80  | Key Reminder Switch Signal  | B3  | LT GRN  | 80  | Key Reminder Switch Signal  | ||||||||||||||||
B4  | TAN  | 159  | Ignition Key Alarm Switch Return  | B4  | BLK  | 1850  | Ignition Key Alarm Switch Return  | ||||||||||||||||
B5-B6  | --  | --  | Not Used  | B5-B6  | --  | --  | Not Used  | ||||||||||||||||
C1  | WHT  | 1390  | Ignition Switch Output - Off/Run/Crank  | C1  | WHT  | 1390  | Ignition Switch Output - Off/Run/Crank  | ||||||||||||||||
C2  | RED/WHT  | 812  | Reference Voltage Feed - 12 Volt Reference  | C2  | RED/WHT  | 812  | Reference Voltage Feed - 12 Volt Reference  | ||||||||||||||||
C3  | --  | --  | Not Used  | C3  | --  | --  | Not Used  | ||||||||||||||||
C4  | ORN/BLK  | 1057  | Sensor Return  | C4  | ORN/BLK  | 1057  | Sensor Return  | ||||||||||||||||
C5  | PNK  | 3  | Ignition Switch Output - Ignition 1  | C5  | PNK  | 3  | Ignition Switch Output - Ignition 1 (Qty 2)  | ||||||||||||||||
C6  | ORN  | 300  | Ignition Switch Output - Ignition 3  | C6  | ORN  | 300  | Ignition Switch Output - Ignition 3  | ||||||||||||||||
D1  | YEL  | 5  | Ignition Switch Output - Crank  | D1  | YEL  | 5  | Ignition Switch Output - Crank  | ||||||||||||||||
D2  | RED/WHT  | 342  | Ignition Switch Output - Off/Run/Crank  | D2  | RED  | 342  | Ignition Switch Output - Off/Run/Crank  | ||||||||||||||||
D3  | YEL  | 1836  | Magnetic Rotation Detection Sensor Signal  | D3  | YEL  | 1836  | Magnetic Rotation Detection Sensor Signal  | ||||||||||||||||
D4  | --  | --  | Not Used  | D4  | --  | --  | Not Used  | ||||||||||||||||
D5  | RED  | 740  | Fuse Output - Battery - Type III Fuse  | D5  | ORN  | 740  | Fuse Output - Battery - Type III Fuse  | ||||||||||||||||
D6  | BRN  | 4  | Ignition Switch Output - Accessory  | D6  | BRN  | 4  | Ignition Switch Output - Accessory  | ||||||||||||||||
E1  | GRY  | 1696  | Turn/Hazard Module Feed - Secondary  | E1  | GRY  | 1696  | Turn/Hazard Module Feed - Secondary  | ||||||||||||||||
E2  | BLK  | 1850  | Ground  | E2  | BLK  | 1850  | Ground  | ||||||||||||||||
E3  | PPL  | 92  | Windshield Wiper Motor Feed - High Speed  | E3  | PPL  | 92  | Windshield Wiper Motor Feed - High Speed  | ||||||||||||||||
E4  | YEL  | 143  | Fuse Output - Accessory - Type III Fuse  | E4  | YEL  | 143  | Fuse Output - Accessory - Type III Fuse  | ||||||||||||||||
E5  | GRY  | 112  | Windshield Wiper Switch Signal - Low/Pulse  | E5  | GRY  | 112  | Windshield Wiper Switch Signal - Low/Pulse  | ||||||||||||||||
E6  | DK GRN  | 1419  | Turn Signal Switch Output - Right Rear  | E6  | DK GRN/WHT  | 1419  | Turn Signal Switch Output - Right Rear  | ||||||||||||||||
E7  | YEL  | 1418  | Turn Signal Switch Output - Left Rear  | E7  | YEL/BLK  | 1418  | Turn Signal Switch Output - Left Rear  | ||||||||||||||||
E8  | DK GRN  | 113  | Windshield Wiper Switch Signal - On  | E8  | DK GRN  | 113  | Windshield Wiper Switch Signal - On  | ||||||||||||||||
E9  | RED  | 228  | Windshield Washer Pump Motor Feed  | E9  | RED  | 228  | Windshield Washer Pump Motor Feed  | ||||||||||||||||
E10  | ORN  | 1140  | Fuse Output - Battery  | E10  | ORN  | 1140  | Fuse Output - Battery  | ||||||||||||||||
E11  | PPL  | 524  | Headlamp Dimmer Switch Output - High Beam  | E11  | PPL  | 524  | Headlamp Dimmer Switch Output - High Beam  | ||||||||||||||||
E12  | TAN  | 525  | Headlamp Dimmer Switch Output - Low Beam  | E12  | YEL  | 525  | Headlamp Dimmer Switch Output - Low Beam  | ||||||||||||||||
E13  | YEL/RED  | 10  | Headlamp Switch Output  | E13  | YEL  | 10  | Headlamp Switch Output  | ||||||||||||||||
 
 | |||||||||||||||
|---|---|---|---|---|---|---|---|---|---|---|---|---|---|---|---|
Connector Part Information  | 
 
  | Connector Part Information  | 
 
  | ||||||||||||
Pin  | Wire Color  | Circuit No.  | Function  | Pin  | Wire Color  | Circuit No.  | Function  | ||||||||
A  | WHT  | 347  | SRS Inflator Feed - Driver  | A  | WHT  | 347  | SRS Inflator Feed - Driver  | ||||||||
B  | DK GRN  | 348  | SRS Inflator Output - Return  | B  | DK GRN  | 348  | SRS Inflator Output - Return  | ||||||||
 
 | |||||||||||||||
|---|---|---|---|---|---|---|---|---|---|---|---|---|---|---|---|
Connector Part Information  | 
 
  | Connector Part Information  | 
 
  | ||||||||||||
Pin  | Wire Color  | Circuit No.  | Function  | Pin  | Wire Color  | Circuit No.  | Function  | ||||||||
A  | BRN  | 4  | Ignition Switch Output - Accessory  | A  | BRN  | 4  | Ignition Switch Output - Accessory  | ||||||||
B  | DK BLU  | 75  | Delayed Accessory Bus Relay Output - Common Contact  | B  | DK BLU  | 75  | Delayed Accessory Bus Relay Output - Common Contact  | ||||||||
C  | ORN  | 300  | Ignition Switch Output - Ignition 3  | C  | ORN  | 300  | Ignition Switch Output - Ignition 3  | ||||||||
D  | RED  | 642  | Fuse Output - Battery  | D  | RED  | 642  | Fuse Output - Battery  | ||||||||
 
 | |||||||||||||||
|---|---|---|---|---|---|---|---|---|---|---|---|---|---|---|---|
Connector Part Information  | 
 
  | Connector Part Information  | 
 
  | ||||||||||||
Pin  | Wire Color  | Circuit No.  | Function  | Pin  | Wire Color  | Circuit No.  | Function  | ||||||||
A  | ORN  | 1040  | Fuse Output - Battery  | A  | ORN  | 1040  | Fuse Output - Battery  | ||||||||
B  | BLK  | 1050  | Ground  | B  | BLK  | 1050  | Ground  | ||||||||
 
 | |||||||||||||||
|---|---|---|---|---|---|---|---|---|---|---|---|---|---|---|---|
Connector Part Information  | 
 
  | Connector Part Information  | 
 
  | ||||||||||||
Pin  | Wire Color  | Circuit No.  | Function  | Pin  | Wire Color  | Circuit No.  | Function  | ||||||||
A  | ORN  | 640  | Fuse Output - Battery  | A  | ORN  | 640  | Fuse Output - Battery  | ||||||||
B  | BLK  | 1050  | Ground  | B  | BLK  | 1050  | Ground  | ||||||||
C  | BRN  | 2409  | Fuse Output - Interior Park Lamps  | C  | BRN  | 2409  | Fuse Output - Interior Park Lamps  | ||||||||
D  | BLK  | 1050  | Ground  | D  | BLK  | 1050  | Ground  | ||||||||
 
 | |||||||||||||||
|---|---|---|---|---|---|---|---|---|---|---|---|---|---|---|---|
Connector Part Information  | 
 
  | Connector Part Information  | 
 
  | ||||||||||||
Pin  | Wire Color  | Circuit No.  | Function  | Pin  | Wire Color  | Circuit No.  | Function  | ||||||||
A  | --  | --  | Not Used  | A  | --  | --  | Not Used  | ||||||||
B  | BLK  | 1850  | Ground  | B  | BLK  | 1850  | Ground  | ||||||||
C-D  | --  | --  | Not Used  | C-D  | --  | --  | Not Used  | ||||||||
E  | BLK/WHT  | 238  | Seat Belt Switch Signal  | E  | BLK/WHT  | 238  | Seat Belt Switch Signal  | ||||||||
F  | --  | --  | Not Used  | F  | --  | --  | Not Used  | ||||||||
 
 | |||||||||||||||
|---|---|---|---|---|---|---|---|---|---|---|---|---|---|---|---|
Connector Part Information  | 
 
  | Connector Part Information  | 
 
  | ||||||||||||
Pin  | Wire Color  | Circuit No.  | Function  | Pin  | Wire Color  | Circuit No.  | Function  | ||||||||
A  | BRN  | 2509  | Fuse Output - Park Lamp - Left Rear  | A  | BRN  | 2509  | Fuse Output - Park Lamp - Left Rear  | ||||||||
B  | LT GRN  | 1324  | Fuse Output - Backup Lamps  | B  | LT GRN  | 1324  | Fuse Output - Backup Lamps  | ||||||||
C  | DK GRN  | 619  | Fuse Output - Turn/Stop Lamp - Right Rear  | C  | DK GRN  | 619  | Fuse Output - Turn/Stop Lamp - Right Rear  | ||||||||
D  | YEL  | 618  | Fuse Output - Turn/Stop Lamp - Left Rear  | D  | YEL  | 618  | Fuse Output - Turn/Stop Lamp - Left Rear  | ||||||||
E  | BRN/WHT  | 2609  | Fuse Output - Park Lamp - Right Rear  | E  | BRN/WHT  | 2609  | Fuse Output - Park Lamp - Right Rear  | ||||||||
 
 | |||||||||||||||
|---|---|---|---|---|---|---|---|---|---|---|---|---|---|---|---|
Connector Part Information  | 
 
  | Connector Part Information  | 
 
  | ||||||||||||
Pin  | Wire Color  | Circuit No.  | Function  | Pin  | Wire Color  | Circuit No.  | Function  | ||||||||
A-B  | --  | --  | Not Used  | A-B  | --  | --  | Not Used  | ||||||||
C  | GRY  | 118  | Speaker Return - Left Front  | C  | GRY  | 118  | Speaker Return - Left Front  | ||||||||
D  | TAN  | 201  | Speaker Feed - Left Front  | D  | TAN  | 201  | Speaker Feed - Left Front  | ||||||||
 
 | |||||||||||||||
|---|---|---|---|---|---|---|---|---|---|---|---|---|---|---|---|
Connector Part Information  | 
 
  | Connector Part Information  | 
 
  | ||||||||||||
Pin  | Wire Color  | Circuit No.  | Function  | Pin  | Wire Color  | Circuit No.  | Function  | ||||||||
A1-A2  | --  | --  | Not Used  | A1-A2  | --  | --  | Not Used  | ||||||||
A3  | YEL  | 1496  | Power Mirror Motor Feed  | A3  | YEL  | 1496  | Power Mirror Motor Feed  | ||||||||
A4  | BLK  | 1850  | Ground  | A4  | BLK  | 1850  | Ground  | ||||||||
A5  | DK GRN  | 1001  | Fuse Output - Retained Accessory Power  | A5  | DK GRN  | 1001  | Fuse Output - Retained Accessory Power  | ||||||||
A6  | LT BLU  | 166  | Power Window Master Switch Output - Right Front Window - Up  | A6  | LT BLU  | 166  | Power Window Master Switch Output - Right Front Window - Up  | ||||||||
A7  | TAN  | 167  | Power Window Master Switch Output - Right Front Window - Down  | A7  | TAN  | 167  | Power Window Master Switch Output - Right Front Window - Down  | ||||||||
A8  | ORN  | 2267  | Fuse Output - Heated Mirror Element  | A8  | ORN  | 2267  | Fuse Output - Heated Mirror Element  | ||||||||
A9  | ORN  | 54  | Door Jamb Switch Signal - Passenger  | A9  | --  | --  | Not Used  | ||||||||
A10  | LT GRN  | 262  | Door Key Lock Cylinder Switch Signal - Driver  | A10  | --  | --  | Not Used  | ||||||||
A11  | PPL/WHT  | 889  | Power Mirror Motor Feed - Right Vertical Motor - DOWN  | A11  | PPL/WHT  | 889  | Power Mirror Motor Feed - Right Vertical Motor - DOWN  | ||||||||
B1  | YEL  | 116  | Speaker Return - Left Front  | B1  | GRY  | 118  | Speaker Return - Left Front  | ||||||||
B2  | BRN  | 199  | Speaker Feed - Left Front  | B2  | TAN  | 201  | Speaker Feed - Left Front  | ||||||||
B3  | RED/WHT  | 881  | Power Mirror Motor Feed - Right horizontal Motor - RIGHT  | B3  | RED/WHT  | 881  | Power Mirror Motor Feed - Right horizontal Motor - RIGHT  | ||||||||
B4  | ORN  | 840  | Fuse Output - Battery  | B4  | ORN  | 840  | Fuse Output - Battery  | ||||||||
B5  | TAN  | 694  | Power Door Lock Motor Feed - Driver Door Unlock  | B5  | TAN  | 694  | Power Door Lock Motor Feed - Driver Door Unlock  | ||||||||
B6  | --  | --  | Not Used  | B6  | --  | --  | Not Used  | ||||||||
B7  | GRY  | 295  | Power Door Lock Motor Feed - Lock  | B7  | GRY  | 295  | Power Door Lock Motor Feed - Lock  | ||||||||
B8  | --  | --  | Not Used  | B8  | --  | --  | Not Used  | ||||||||
B9  | WHT  | 194  | Power Door Lock Relay Feed Unlock Coil  | B9  | WHT  | 194  | Power Door Lock Relay Feed Unlock Coil  | ||||||||
B10  | LT BLU  | 195  | Power Door Lock Relay Feed Lock Coil  | B10  | LT BLU  | 195  | Power Door Lock Relay Feed Lock Coil  | ||||||||
B11  | BRN  | 2409  | Fuse Output - Interior Park Lamps  | B11  | BRN  | 2409  | Fuse Output - Interior Park Lamps  | ||||||||
 
 | |||||||||||||||
|---|---|---|---|---|---|---|---|---|---|---|---|---|---|---|---|
Connector Part Information  | 
 
  | Connector Part Information  | 
 
  | ||||||||||||
Pin  | Wire Color  | Circuit No.  | Function  | Pin  | Wire Color  | Circuit No.  | Function  | ||||||||
A-B  | --  | --  | Not Used  | A-B  | --  | --  | Not Used  | ||||||||
C  | GRY  | 117  | Speaker Return - Right Front  | C  | GRY  | 117  | Speaker Return - Right Front  | ||||||||
D  | TAN  | 200  | Speaker Feed - Right Front  | D  | TAN  | 200  | Speaker Feed - Right Front  | ||||||||
 
 | |||||||||||||||
|---|---|---|---|---|---|---|---|---|---|---|---|---|---|---|---|
Connector Part Information  | 
 
  | Connector Part Information  | 
 
  | ||||||||||||
Pin  | Wire Color  | Circuit No.  | Function  | Pin  | Wire Color  | Circuit No.  | Function  | ||||||||
A1  | YEL  | 1496  | Power Mirror Motor Feed - Common  | A1  | YEL  | 1496  | Power Mirror Motor Feed - Common  | ||||||||
A2  | TAN  | 294  | Power Door Lock Motor Feed - Unlock  | A2  | TAN  | 294  | Power Door Lock Motor Feed - Unlock  | ||||||||
A3  | BRN  | 2409  | Fuse Output - Interior Park Lamps  | A3  | BRN  | 2409  | Fuse Output - Interior Park Lamps  | ||||||||
A4  | BLK  | 1050  | Ground  | A4  | BLK  | 1050  | Ground  | ||||||||
A5  | ORN  | 2267  | Fuse Output - Heated Mirror Element  | A5  | ORN  | 2267  | Fuse Output - Heated Mirror Element  | ||||||||
A6  | LT BLU  | 166  | Power window Master Switch Output - Right Front Window - Up  | A6  | LT BLU  | 166  | Power window Master Switch Output - Right Front Window - Up  | ||||||||
A7  | TAN  | 167  | Power Window Master Switch Output - Right Front Window - Down  | A7  | TAN  | 167  | Power Window Master Switch Output - Right Front Window - Down  | ||||||||
A8  | LT GRN  | 262  | Door Key Lock Cylinder Switch Signal - Driver  | A8  | --  | --  | Not Used  | ||||||||
A9  | ORN  | 54  | Door Jamb Switch Signal - Passenger  | A9  | --  | --  | Not Used  | ||||||||
A10  | RED/WHT  | 881  | Power Mirror Motor Feed - Right Horizontal Motor - Right Direction  | A10  | RED/WHT  | 881  | Power Mirror Motor Feed - Right Horizontal Motor - Right Direction  | ||||||||
A11  | PPL/WHT  | 889  | Power Mirror Motor Feed - Right Vertical Motor - Down Direction  | A11  | PPL/WHT  | 889  | Power Mirror Motor Feed - Right Vertical Motor - Down Direction  | ||||||||
B1  | DK GRN  | 117  | Speaker Return - Right Rear  | B1  | LT BLU  | 115  | Speaker Return - Right Rear  | ||||||||
B2  | LT GRN  | 200  | Speaker Feed - Right Front  | B2  | DK BLU  | 46  | Speaker Feed - Right Front  | ||||||||
B3  | ORN  | 840  | Fuse Output - Battery  | B3  | ORN  | 840  | Fuse Output - Battery  | ||||||||
B4-B5  | --  | --  | Not Used  | B4-B5  | --  | --  | Not Used  | ||||||||
B6  | DK GRN  | 1001  | Fuse Output - Retained Accessory Power  | B6  | DK GRN  | 1001  | Fuse Output - Retained Accessory Power  | ||||||||
B7  | DK BLU/WHT  | 727  | Door Latch Switch Signal - Secondary (w/ Power Locks/Windows)  | B7  | DK BLU/WHT  | 727  | Door Latch Switch Signal - Secondary (w/ Power Locks/Windows)  | ||||||||
B8  | --  | --  | Not Used  | B8  | --  | --  | Not Used  | ||||||||
B9  | WHT  | 194  | Power Door Lock Relay Feed - Unlock Coil  | B9  | WHT  | 194  | Power Door Lock Relay Feed - Unlock Coil  | ||||||||
B10  | LT BLU  | 195  | Power Door Lock Relay Feed - Lock Coil  | B10  | LT BLU  | 195  | Power Door Lock Relay Feed - Lock Coil  | ||||||||
B11  | GRY  | 295  | Power Door Lock Motor Feed - Lock  | B11  | GRY  | 295  | Power Door Lock Motor Feed - Lock  | ||||||||