GM Service Manual Online
For 1990-2009 cars only

Transmission Support Replacement 2WD

Removal Procedure


    Object Number: 547847  Size: SH
  1. Raise and suitably support the vehicle. Refer to Lifting and Jacking the Vehicle in General Information.
  2. Install the transmission jack to the transmission and support the transmission.
  3. Disconnect the transmission wiring harness from the transmission support , if necessary.
  4. Remove the transmission mount to the transmission support stud nut, 2.2L.

  5. Object Number: 547855  Size: SH
  6. Remove the transmission mount to the transmission support stud nut, 4.3L.

  7. Object Number: 42971  Size: SH
  8. Remove the catalytic converter hanger bracket from the transmission support mounting bolts, 2.2L if necessary.

  9. Object Number: 594833  Size: SH
  10. Remove the catalytic converter hanger bracket from the transmission support mounting bolts, 4.3L if necessary.

  11. Object Number: 546445  Size: SH
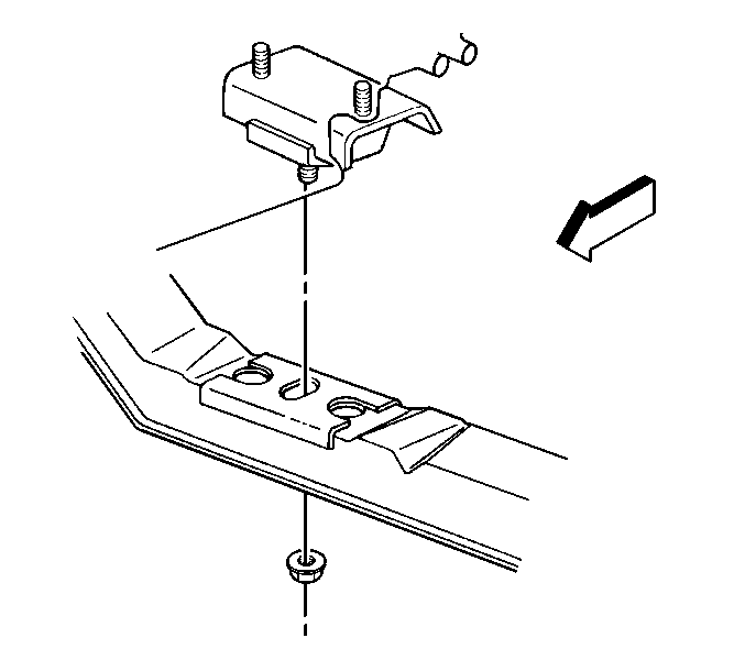
  12. Remove the transmission support to the frame nuts, bolts, and reinforcement, 2.2L.

  13. Object Number: 546404  Size: SH
  14. Remove the transmission support to the frame nuts, bolts, and reinforcement, 4.3L.

Installation Procedure


    Object Number: 546404  Size: SH
  1. Install the transmission support.
  2. Notice: Use the correct fastener in the correct location. Replacement fasteners must be the correct part number for that application. Fasteners requiring replacement or fasteners requiring the use of thread locking compound or sealant are identified in the service procedure. Do not use paints, lubricants, or corrosion inhibitors on fasteners or fastener joint surfaces unless specified. These coatings affect fastener torque and joint clamping force and may damage the fastener. Use the correct tightening sequence and specifications when installing fasteners in order to avoid damage to parts and systems.

  3. Install the transmission support to the frame nuts, bolts, and reinforcement, 4.3L.
  4. Tighten
    Tighten the transmission support to the frame nuts to 54 N·m (40 lb ft).


    Object Number: 546445  Size: SH
  5. Install the transmission support to the frame nuts, bolts, and reinforcement, 2.2L .
  6. Tighten
    Tighten the transmission support to the frame nuts to 54 N·m (40 lb ft).


    Object Number: 594833  Size: SH
  7. Install the catalytic converter hanger bracket to the transmission support mounting bolts, 4.3L if necessary.
  8. Tighten
    Tighten the catalytic converter hanger bracket to the transmission support mounting bolts to 17 N·m (13 lb ft).


    Object Number: 42971  Size: SH
  9. Install the catalytic converter hanger bracket to the transmission support mounting bolts, 2.2L if necessary.
  10. Tighten
    Tighten the catalytic converter hanger bracket to the transmission support mounting bolts to 17 N·m (13 lb ft).


    Object Number: 547855  Size: SH
  11. Install the transmission mount to the transmission support stud nut, 4.3L.
  12. Tighten
    Tighten the transmission mount to the transmission support stud nut to 45 N·m (33 lb ft).


    Object Number: 547847  Size: SH
  13. Install the transmission mount to the transmission support stud nut, 2.2L.
  14. Tighten
    Tighten the transmission mount to the transmission support stud nut to 45 N·m (33 lb ft).

  15. Connect the transmission wiring harness to the transmission support , if necessary.
  16. Remove the transmission jack from the transmission.
  17. Lower the vehicle.

Transmission Support Replacement 4WD

Removal Procedure


    Object Number: 547862  Size: SH
  1. Raise and suitably support the vehicle. Refer to Lifting and Jacking the Vehicle in General Information.
  2. Install the transmission jack to the transmission and support the transmission.
  3. Disconnect the transmission wiring harness from the transmission support , if equipped.
  4. Remove the transmission mount to the transmission support stud nuts.
  5. Remove the catalytic converter hanger bracket from the transmission support, if necessary.

  6. Object Number: 546417  Size: SH
  7. Remove the transmission support to the frame nuts and bolts.
  8. Remove the transmission support.

Installation Procedure


    Object Number: 546417  Size: SH
  1. Install the transmission support.
  2. Notice: Use the correct fastener in the correct location. Replacement fasteners must be the correct part number for that application. Fasteners requiring replacement or fasteners requiring the use of thread locking compound or sealant are identified in the service procedure. Do not use paints, lubricants, or corrosion inhibitors on fasteners or fastener joint surfaces unless specified. These coatings affect fastener torque and joint clamping force and may damage the fastener. Use the correct tightening sequence and specifications when installing fasteners in order to avoid damage to parts and systems.

  3. Install the transmission support to the frame nuts and bolts.
  4. Tighten
    Tighten the transmission support to the frame nuts to 54 N·m (40 lb ft).

  5. Install the catalytic converter hanger bracket to transmission support, if necessary.
  6. Tighten
    Tighten the catalytic converter hanger bracket to the transmission support mounting bolts to 17 N·m (13 lb ft).


    Object Number: 547862  Size: SH
  7. Install transmission mount to the transmission support stud nuts.
  8. Tighten
    Tighten the transmission mount to the transmission support stud nut to 45 N·m (33 lb ft).

  9. Connect the transmission wiring harness to the transmission support , if necessary.
  10. Remove the transmission jack from the transmission.
  11. Lower the vehicle.