GM Service Manual Online
For 1990-2009 cars only
Makes
🢒
Isuzu
🢒
2000
🢒
S/T Isuzu - 2WD
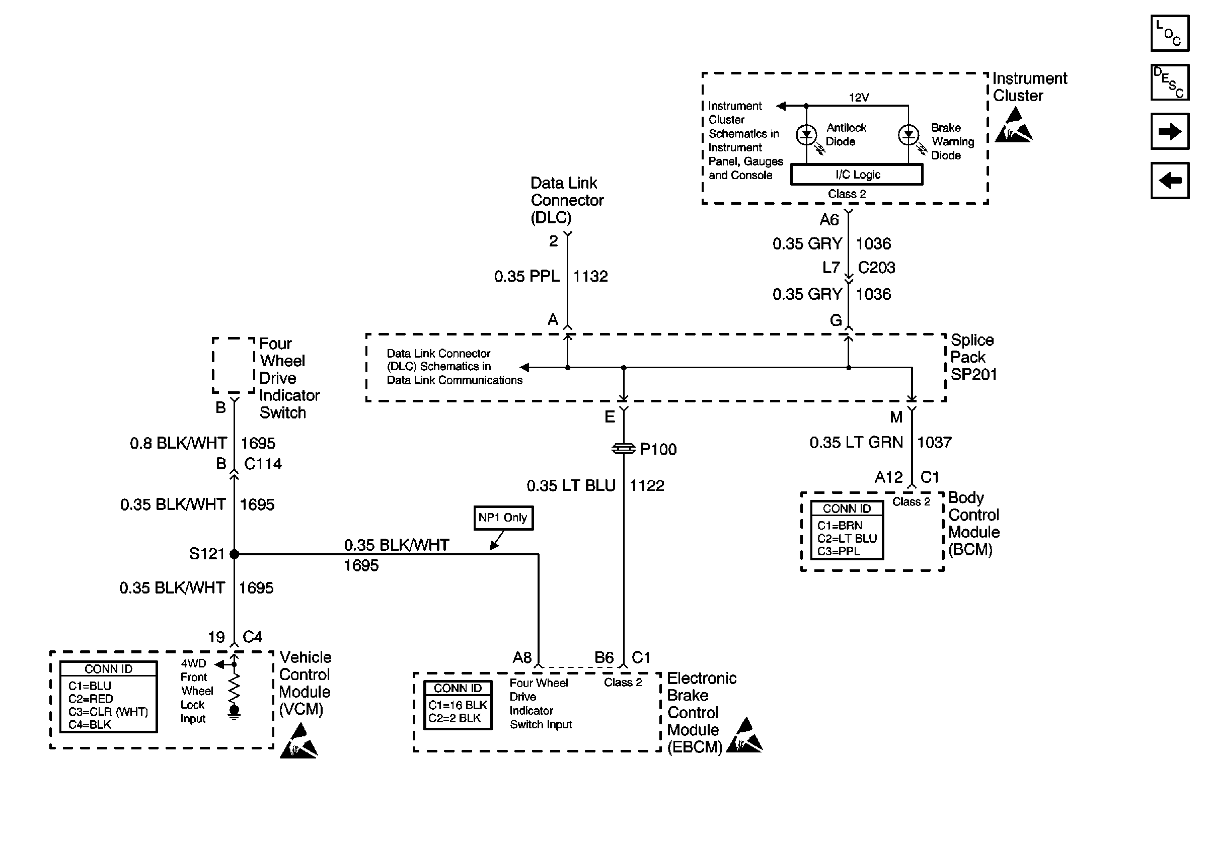
🢒 Class 2 Communication
Class 2 Communication
Class 2 Communication
ABS Components
ABS Description
Wheel Speed Sensors
Power and Ground
Data Link Connector (DLC), PCM/VCM, Engine Oil Pressure Gauge Sensor
Handling ESD Sensitive Parts Notice
SP201 (2.2L)
Body Control System Connector End Views
VCM Connector End Views
Handling ESD Sensitive Parts Notice
Antilock Brake System Connector End Views
Handling ESD Sensitive Parts Notice