GM Service Manual Online
For 1990-2009 cars only
Makes
🢒
Isuzu
🢒
2000
🢒
S/T Isuzu - 2WD
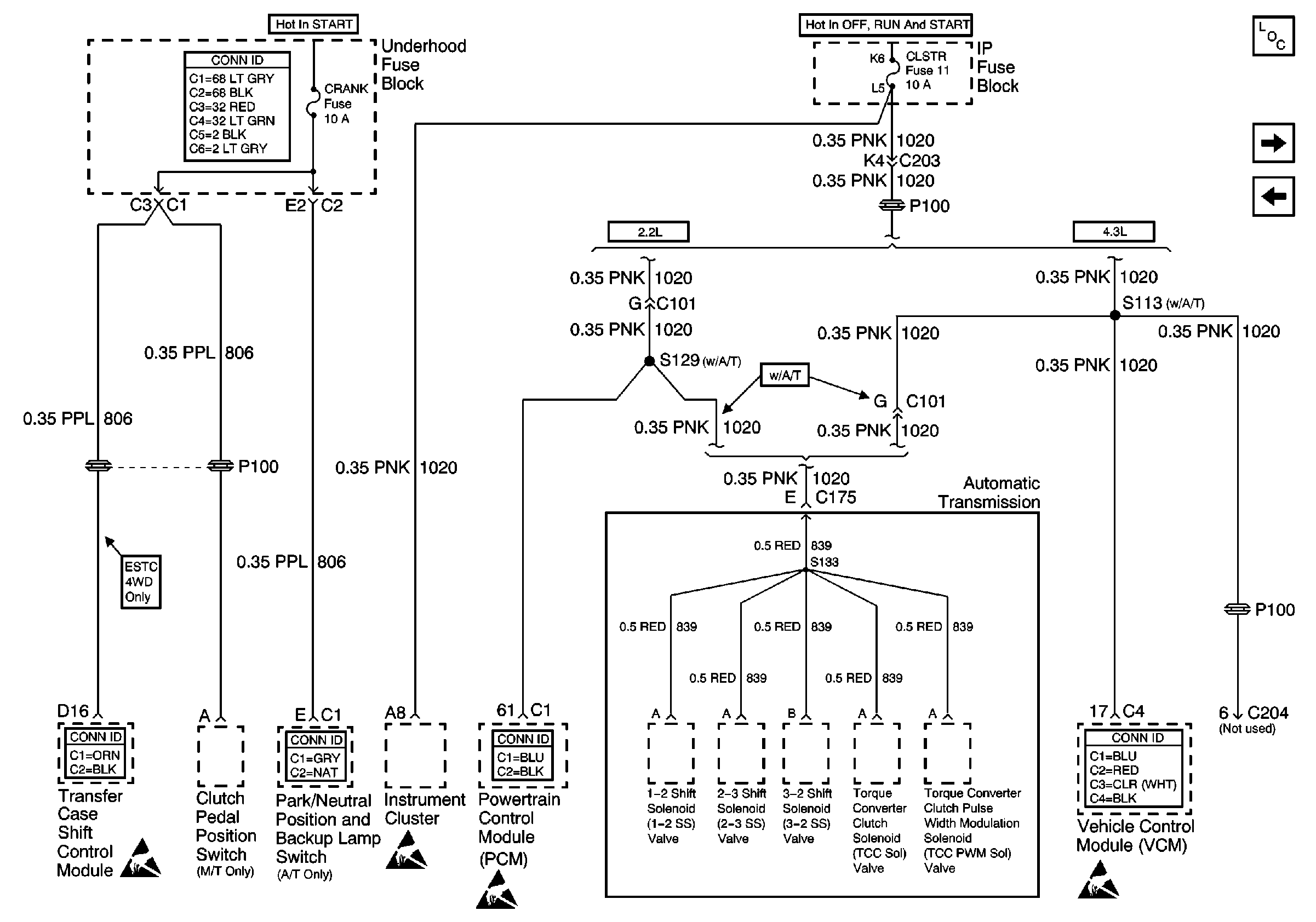
🢒 CRANK and CLSTR Fuses
CRANK and CLSTR Fuses
CRANK and CLSTR Fuses
Power and Grounding Components
TURN, SIR and GAUGES Fuses
FR PRK, LR PRK, and RR PRK Fuses
Power and Grounding Connector End Views
IGN C, IGN A Fuses and Ignition and Start Switch
Transfer Case Control Connector End Views
Handling ESD Sensitive Parts Notice
Shift Lock Control Connector End Views
Handling ESD Sensitive Parts Notice
Handling ESD Sensitive Parts Notice
Powertrain Control Module Connector End Views
VCM Connector End Views
Handling ESD Sensitive Parts Notice