GM Service Manual Online
For 1990-2009 cars only

Object Number: 357942  Size: SF
Body Control System Connector End Views
Handling ESD Sensitive Parts Notice
Body Control Module Components
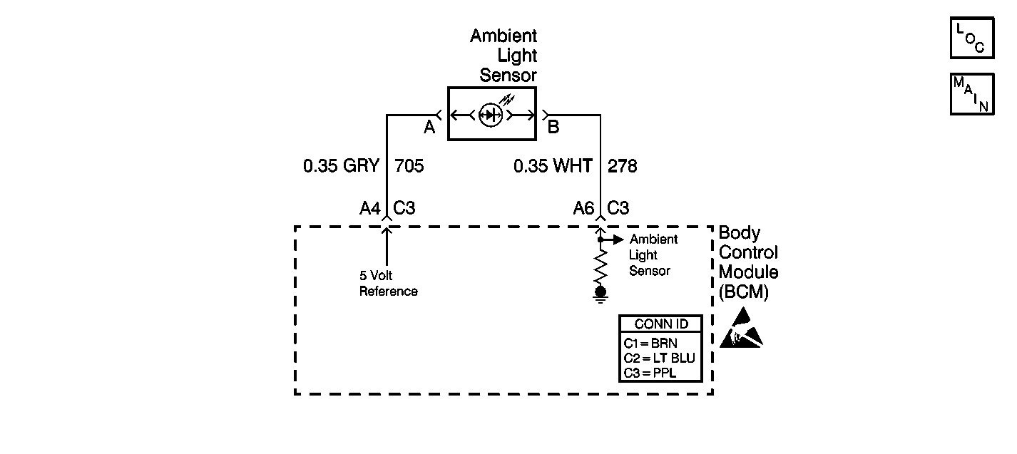
Cell 51: VCM or PCM Speed Signal and Ambient Light Sensor

Circuit Description

The body control module (BCM) provides a constant output reference voltage (5 volts) in order to enable correct operation of the ambient light sensor. The constant output reference voltage supply ensures that variations in the output signal of the ambient light sensor are due to changes of the sensor rather than variations in the voltage supply. The BCM monitors the constant output reference voltage (5 volts) and sets a DTC when the output is not within the specified range (4.75-5.25 volts).

Conditions for Setting the DTC

    • The 5 volt reference output (CKT 705) is less than 4.75 volts (shorted to ground).
    • The system voltage is between 9.0-16.0 volts.
    • The above conditions exist for 0.5 seconds.

Action Taken When the DTC Sets

The daytime running lamps feature will not operate.

Conditions for Clearing the MIL/DTC

    • A current DTC will clear immediately after the condition that sets the DTC is corrected.
    • A history DTC will clear after 100 consecutive ignition cycles without a fault present.
    • History and current DTCs may be cleared using the scan tool.

Diagnostic Aids

    • Always diagnose the first DTC that is listed on the scan tool.
    • Verify that the scan tool displays DTC B1397 as a current code before you perform diagnostics.
    • A short to ground in CKT 705 will cause DTC B1397 to set.
    • Inspect for loose or poor connections at all of the related components.
    • Refer to Intermittents and Poor Connections Diagnosis in Wiring Systems.

Test Description

The numbers below refer to the step numbers on the diagnostic table.

  1. This step determines if the BCM 5 volt reference output voltage is shorted internally. Other DTCs will set when you disconnect the BCM connector.

  2. This step determines if one of the following conditions exists:

  3. • The ambient light sensor is shorted to ground.
    • CKT 705 (GRY) is shorted to ground between the sensor and the BCM.

Step

Action

Value(s)

Yes

No

1

Did you perform the BCM Diagnostic System Check?

--

Go to Step 2

Go to Diagnostic System Check - Body Control System

2

  1. Use a scan tool in order to monitor the current DTCs.
  2. Disconnect BCM connector C3 (PPL).

Does the scan tool display DTC B1397?

--

Go to Step 6

Go to Step 3

3

  1. Reconnect BCM connector C3 (PPL).
  2. Use the scan tool in order to monitor current DTCs while you disconnect the ambient light sensor.

Does the scan tool display DTC B1397?

--

Go to Step 5

Go to Step 4

4

Replace the ambient light sensor.

Is the repair complete?

--

Go to Step 7

--

5

Locate and repair the short to ground in CKT 705 (GRY) between BCM connector C3 (PPL) and the ambient light sensor.

Is the repair complete?

--

Go to Step 7

--

6

  1. Replace the BCM. Refer to Body Control Module Replacement .
  2. Program the correct calibrations into the BCM.
  3. Perform the learn procedure.

Is the repair complete?

--

Go to Step 7

--

7

Clear the DTCs.

Is the repair complete?

--

Go to Diagnostic System Check - Body Control System

--