GM Service Manual Online
For 1990-2009 cars only

Tools Required

J 8059 Snap Ring Pliers


    Object Number: 243181  Size: SH
  1. Remove the clamps from the seal with a pair of side cutters.
  2. Important: Do not damage the tripot housing (1).

  3. Use a hand grinder to cut through the swage ring.
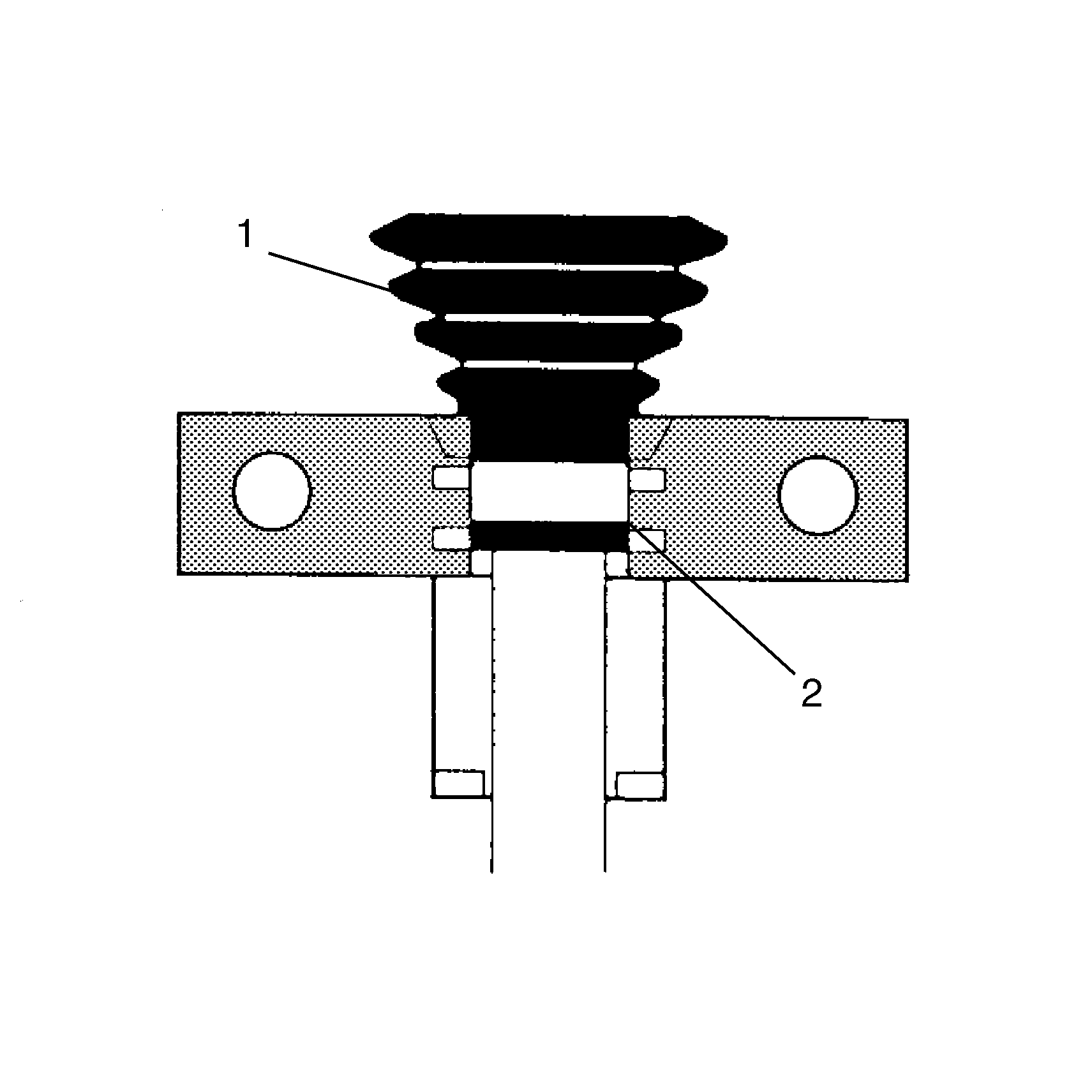
  4. Remove the tripot housing (1) and the tripot trilobal bushing (2) from the halfshaft bar (5).
  5. Wipe the grease off of the tripot assembly roller bearings and the housing (1).
  6. Thoroughly degrease the housing (1) and the tripot trilobal bushing (2).
  7. Use 320 grit 3M cloth (or equivalent) to remove any evident corrosion in the transmission sealing surface.
  8. Allow the housing (1) and the tripot trilobal bushing (2) to dry prior to assembly.

  9. Object Number: 244513  Size: SH

    Important: Handle the tripot spider assembly (1) with care. Tripot balls and needle rollers may separate from the spider trunnion if the tripot balls and needle rollers are not handled carefully.

  10. Compress the tripot seal (4) onto the halfshaft bar (3), away from the spider assembly (1).

  11. Object Number: 244491  Size: SH
  12. Spread the spacer rings using J 8059 (or equivalent) to remove the spider assembly.

  13. Object Number: 233581  Size: SH
  14. Remove the following items:
  15. • The spacer ring (1)
    • The spider assembly (2)
    • The second spacer ring (3)
    • The tripot seal (4)
  16. Clean the halfshaft bar. Use a wire brush to remove any rust in the seal mounting area (grooves).
  17. Inspect the following items:
  18. • The needle rollers
    • The needle bearings
    • The trunnion
  19. Check the tripot housing for unusual wear, cracks, or other damage.
  20. Replace any damaged parts.

Tools Required

    • J 41048 Swage Clamp Tool
    • J 35566 Large Seal Retaining Clamp Tool

    Object Number: 386688  Size: SH
  1. Slide the new small swage clamp (2) and the seal (1) to the proper position (3) on the halfshaft bar.

  2. Object Number: 221917  Size: SH
  3. Install the new swage clamp onto the neck of the seal. Do not swage.
  4. Position the neck of the seal in the seal groove on the halfshaft bar.
  5. In order to swage the swage clamp, position the inboard end (1) of the halfshaft assembly in J 41048 .

  6. Object Number: 221918  Size: SH
  7. Align the swage clamp (2) within J 41048 .

  8. Object Number: 221917  Size: SH
  9. Place the top half of the J 41048 on the bottom half.
  10. Check to make sure there are no pinch points on the seal before proceeding.
  11. Insert the bolts (2).
  12. Tighten the bolts (2) by hand until snug.
  13. Notice: Use the correct fastener in the correct location. Replacement fasteners must be the correct part number for that application. Fasteners requiring replacement or fasteners requiring the use of thread locking compound or sealant are identified in the service procedure. Do not use paints, lubricants, or corrosion inhibitors on fasteners or fastener joint surfaces unless specified. These coatings affect fastener torque and joint clamping force and may damage the fastener. Use the correct tightening sequence and specifications when installing fasteners in order to avoid damage to parts and systems.

  14. Align the following items:
  15. • The seal
    • The housing
    • The swage clamp

    Tighten
    Each bolt 180 degrees at a time, using a ratchet wrench. Alternate between each bolt until both sides are bottomed.

  16. Loosen the bolts.
  17. Separate the dies.
  18. Important: If deformities exist in the swage clamp, place the swage clamp back into J 41048 . Ensure the swage clamp covers the whole swaging area. Re-swage the swage clamp.

  19. Check the swage clamp for any "lip" deformities.

  20. Object Number: 340715  Size: SH

    Important: Assemble the joint with the convolute retainer in the correct position. Assemble the joint to meet the specified dimension to avoid seal damage.

  21. Install the convolute retainer over the seal capturing four convolutions.

  22. Object Number: 340719  Size: SH

    Important: Ensure that the rings are fully seated.

  23. Install the spacer ring (2) and spider assembly (1) onto the halfshaft bar (3).
  24. Install the other spacer ring in the groove at the end of the halfshaft bar. Ensure that the rings are fully seated.

  25. Object Number: 243202  Size: SH
  26. Pack the seal and housing with the grease supplied in the kit. The amount of grease supplied in this kit has been pre-measured for this application.
  27. Place the large retaining clamp (2) on the seal.
  28. Place the housing (1) and the tripot trilobal bushing over the spider assembly (3).
  29. Install the seal onto the tripot trilobal bushing.

  30. Object Number: 244519  Size: SH
  31. Check the inboard stroke position.

  32. Object Number: 243212  Size: SH
  33. Secure the large retaining clamp (2) and the seal (3) to the housing (1) using J 35566 .

  34. Object Number: 340720  Size: SH
  35. Remove the convolute retainer from the seal (1).