GM Service Manual Online
For 1990-2009 cars only

WINDNOISE AT FRONT DOOR OUTER BELT SEALING STRIP

SUBJECT: WINDNOISE AT FRONT DOOR OUTER BELT SEALING STRIP (APPLY STRIP CAULK)

MODELS: 1995-96 BUICK SKYLARK 1995-96 OLDSMOBILE ACHIEVA 1995-96 PONTIAC GRAND AM

CONDITION:

SOME OWNERS MAY COMMENT ON WINDNOISE AT THE FRONT DOOR OUTER BELT SEALING STRIP.

CAUSE:

THIS CONDITION MAY BE CAUSED BY MISSING STRIP CAULK AT THE FRONT OF FRONT DOOR OUTER BELT SEALING STRIP.

CORRECTION:

THIS CONDITION MAY BE CORRECTED BY THE FOLLOWING PROCEDURE:

REMOVE OR DISCONNECT

1. DOOR OUTER BELT SEALING STRIP BY PRESSING RATCHET ON RETAINER AT REAR OF SEALING STRIP AND LIFTING TO DISENGAGE RETAINER.

2. PULL UP ON DOOR OUTER BELT SEALING STRIP TO RELEASE FROM CLIPS.

3. SLIDE DOOR OUTER BELT SEALING STRIP BACK TO DISENGAGE FROM FRONT OF DOOR WINDOW FRAME MOLDING.

4. DOOR OUTER BELT SEALING STRIP CLIPS.

INSTALL OR CONNECT

1. APPLY STRIP CAULK, 3M STRIP-CAULK 8578 OR EQUIVALENT, FOR 40 - 45 MM (1 1/2 - 1 3/4 INCHES).

2. CLIPS TO DOOR OUTER BELT SEALING STRIP.

3. SLIDE FRONT OF DOOR OUTER SEALING STRIP INTO DOOR FRAME MOLDING.

4. ALIGN DOOR OUTER BELT SEALING STRIP CLIPS TO SLOTS IN DOOR AND PUSH DOWN UNTIL AN AUDIBLE SNAP IS HEARD AT EACH CLIP TO ENGAGE DOOR OUTER SEALING STRIP.

WARRANTY INFORMATION:

FOR VEHICLES REPAIRED UNDER WARRANTY, USE:

LABOR OPERATION NUMBER: B7840 (RIGHT) B7841 (LEFT) USE PUBLISHED LABOR OPERATION TIME.

FIGURES: 01 ATTACHMENTS: 00

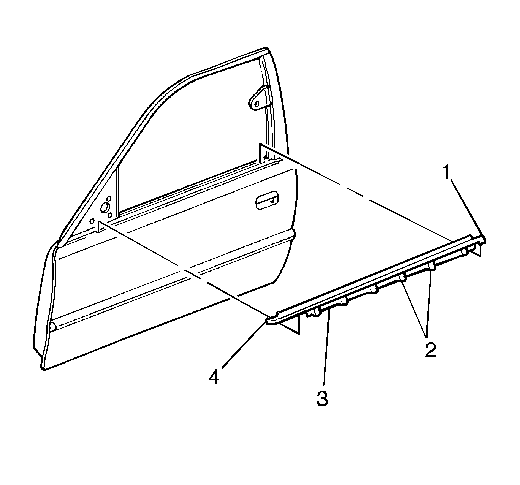
FIGURE 1: 1. RETAINER 2. CLIPS 3. DOOR OUTER BELT SEALING STRIP 4. CAVITY FOR STRIP CAULK


Object Number: 95483  Size: MF

GENERAL MOTORS BULLETINS ARE INTENDED FOR USE BY PROFESSIONAL TECHNICIANS, NOT A "DO-IT-YOURSELFER". THEY ARE WRITTEN TO INFORM THOSE TECHNICIANS OF CONDITIONS THAT MAY OCCUR ON SOME VEHICLES, OR TO PROVIDE INFORMATION THAT COULD ASSIST IN THE PROPER SERVICE OF A VEHICLE. PROPERLY TRAINED TECHNICIANS HAVE THE EQUIPMENT, TOOLS, SAFETY INSTRUCTIONS AND KNOW-HOW TO DO A JOB PROPERLY AND SAFELY. IF A CONDITION IS DESCRIBED, DO NOT ASSUME THAT THE BULLETIN APPLIES TO YOUR VEHICLE, OR THAT YOUR VEHICLE WILL HAVE THAT CONDITION. SEE A GENERAL MOTORS DEALER SERVICING YOUR BRAND OF GENERAL MOTORS VEHICLE FOR INFORMATION ON WHETHER YOUR VEHICLE MAY BENEFIT FROM THE INFORMATION.

COPYRIGHT 1996 GENERAL MOTORS CORPORATION. ALL RIGHTS RESERVED.