GM Service Manual Online
For 1990-2009 cars only

Center Instrument Panel


Object Number: 520498  Size: MF
(1)Ashtray
(2)Cigar Lighter Lead

Front Impact Bar


Object Number: 520448  Size: MF
(1)Forward Lamp Harness Clip
(2)S115
(3)Clip (Oldsmobile only)
(4)Fog Lamp Relay
(5)Isolation Relay
(6)Automatic Light Control Relay
(7)Park Lamp Relay
(8)Daytime Running Lamp Relay
(9)Relay Bracket
(10)S426
(11)S128, S434
(12)S100
(13)S116
(14)S987, S988
(15)S196
(16)S429, S430, S427

LH Rear of Transaxle


Object Number: 520292  Size: MF
(1)Back Up Lamp Switch
(2)Detonation Sensor
(3)Vehicle Speed Sensor Connector
(4)Transaxle Assembly
(5)Engine Harness

LH Lower Instrument Panel near Steering Column


Object Number: 520539  Size: MF
(1)Cruise Control Brake Switch
(2)Brake Switch
(3)SIR Branch
(4)SIR SDM Harness
(5)Cruise Control Switch

Center Console


Object Number: 520491  Size: MF
(1)Lighter Connector
(2)Cigar Lighter Lamp
(3)PRNDL Connector
(4)Auxiliary Power Connector
(5)Clip
(5)Clip
(6)BTSI Shifter Connector

Left of Steering Column behind Instrument Panel


Object Number: 520506  Size: MF
(1)Convenience Center
(2)Turn/Hazard Flasher
(3)Horn Relay

Headliner


Object Number: 520738  Size: MF
(1)LH Header Courtesy Lamp and Switch
(2)LH Vanity Mirror Lamp
(3)S326
(3)S326
(4)S328
(5)Map/Reading Lamp Switch
(6)RH Header Courtesy Lamp and Switch
(7)RH Vanity Mirror Lamp
(8)RH Rear Quarter Courtesy/Reading Lamp and Switch
(9)LH Rear Quarter Courtesy/Reading Lamp and Switch

LH Side of Instrument Panel


Object Number: 520504  Size: MF
(1)Locator Pin
(2)IP Trim Plate
(3)Clip
(3)Clip
(3)Clip
(4)Fog Lamp Switch
(5)Panel Dimming Switch

Lower LH of Steering Column


Object Number: 520684  Size: MF
(1)Multi-Function Lever
(2)SIR Coil
(3)Ignition Lock Solenoid
(4)Passlock Connector Lead
(5)Windshield Wiper Switch Lead
(6)SIR Lead
(7)SIR Connector
(8)DLC Lead
(9)S128
(10)S127
(11)S200
(12)S205
(13)S204
(14)S423, S424
(15)LH Stalk Switch Branch
(16)S202
(17)Headlamp Switch Lead
(18)Ignition Switch Connector
(19)Wiper Switch
(20)Passlock Connector Lead

RH Side of Instrument Panel in IP Compartment


Object Number: 520563  Size: MF
(1)S226
(2)Glove Box Lamp Branch
(3)IP Compartment Lamp

Instrument Cluster


Object Number: 520550  Size: MF
(1)Photocell Jumper Connector
(2)IP Harness
(3)IP Cluster
(4)S416, S118

LH Instrument Panel near Steering Column


Object Number: 520588  Size: MF
(1)Multifunction Alarm Module
(2)G200
(3)S206
(4)S321
(5)S101, S435
(6)S207
(7)Lamp Dimmer Module Connector
(8)S232
(9)S216
(10)S201
(11)Convenience Center-to-MICAM Connector
(12)MICAM Connector

Rear Fascia


Object Number: 520745  Size: MF
(1)License Lamp

Rear of Vehicle


Object Number: 520740  Size: MF
(1)License Lamp
(2)Back-up Lamp

Rear of Vehicle


Object Number: 520742  Size: MF
(1)Back-up Lamp
(2)S309, S403

Rear of Vehicle


Object Number: 520744  Size: MF
(1)Back-up Lamp

LH Front Fascia


Object Number: 520439  Size: MF
(1)Bolt
(2)Headlamp Rear Locator
(3)LH Composite Headlamp

LH Lower Instrument Panel


Object Number: 520486  Size: MF
(1)Insulator Stud
(1)Insulator Stud
(2)Left Sound Insulator
(3)Nut
(3)Nut
(4)1/4 Turn Retainer
(5)LH Courtesy Lamp

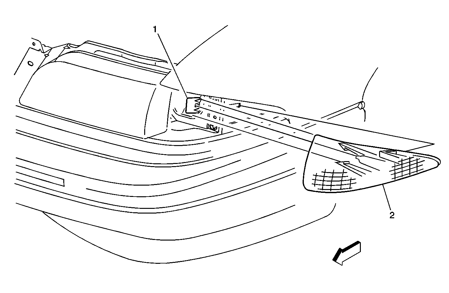
LH Front Impact Bar


Object Number: 520480  Size: MF
(1)Impact Bar
(2)Retainer Plate
(3)Nut
(3)Nut
(4)Fog Lamp Brace
(5)Fog Lamp
(6)Fog Lamp Plate

LH Front Fascia


Object Number: 520442  Size: MF
(1)Headlamp Bracket
(2)LH Front Marker Lamp

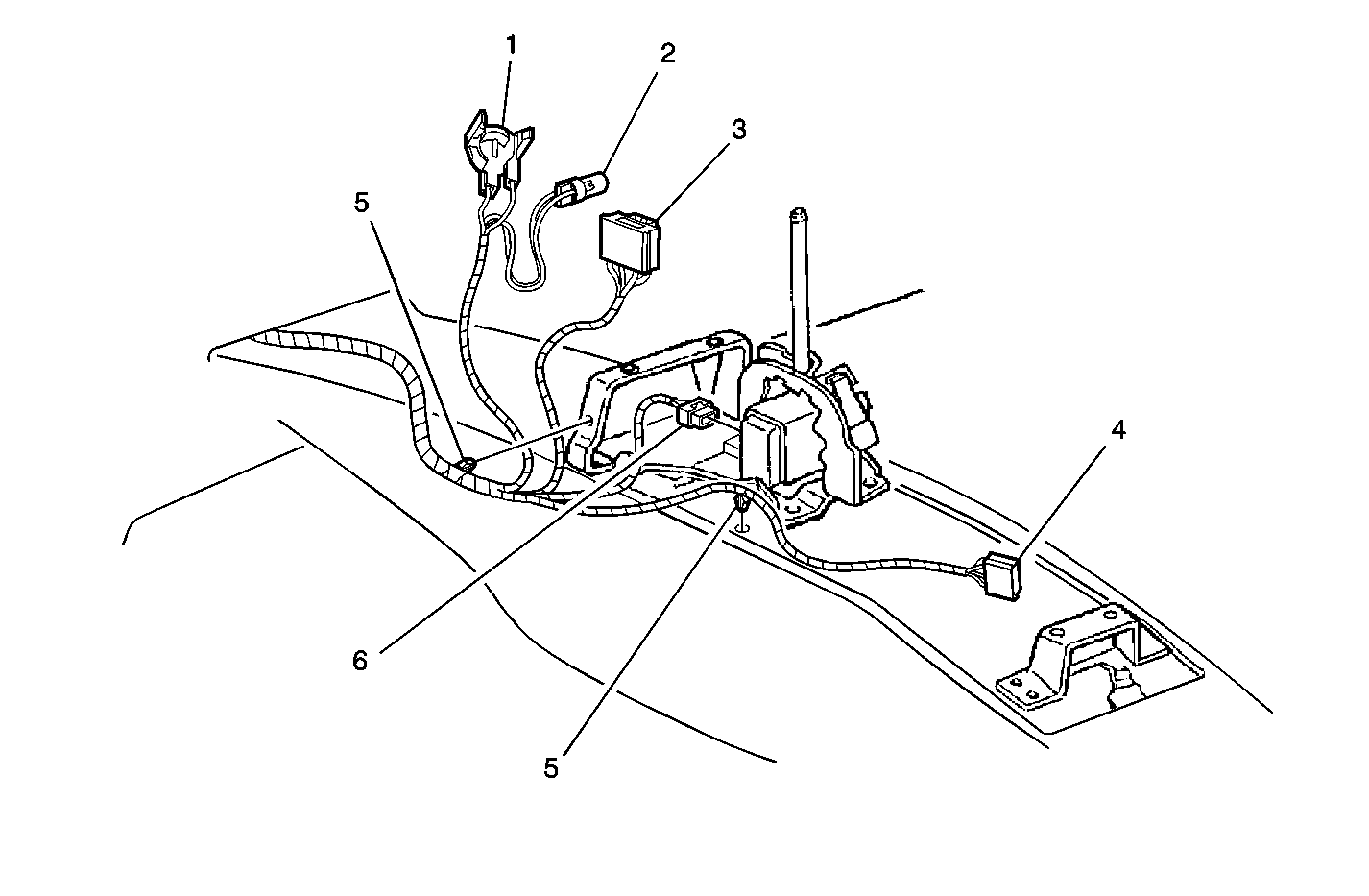
LH Front Impact Bar


Object Number: 520478  Size: MF
(1)S117
(2)Side Marker Lamp
(2)Side Marker Lamp
(3)Washer Pump Connector
(4)LH Horn Connector
(5)S127
(6)Fluid Level Sensor Connector
(7)Fog Lamp Connector
(8)S115
(9)Park/Turn Signal Lamp
(9)Park/Turn Signal Lamp
(10)Headlamp Connector
(11)Positive
(12)Negative
(13)Solder

Side of Rear Fascia


Object Number: 520748  Size: MF
(1)Bolt
(1)Bolt
(2)Rear Marker Lamp
(3)Fascia

Rear Compartment


Object Number: 520317  Size: MF
(1)LH Tail/Stop/Turn Lamp Connector
(2)C324
(3)S319
(4)S433
(5)S317
(6)S300
(7)RH Tail/Stop/Turn Lamp Connector
(8)S320

Top Center of Instrument Panel


Object Number: 520543  Size: MF
(1)Photocell Jumper Connector
(2)IP Harness
(3)Photoresistor

LH Front Luggage Compartment


Object Number: 520427  Size: MF
(1)Remote Control Door Lock Receiver
(2)Rear Compartment Lamp Connector
(3)Body-to-Rear Body Harness
(4)RFA Programming Terminal

RH Lower Instrument Panel


Object Number: 520497  Size: MF
(1)PCM Bracket Tab
(1)PCM Bracket Tab
(2)1/4 Turn Retainer
(3)RH Courtesy Lamp
(4)Right Sound Insulator

LH Rear of Engine Compartment


Object Number: 520676  Size: MF
(1)Windshield Wiper and Washer Motor Lead
(2)Underhood Lamp Lead
(3)Hood Release Cable
(4)IP Wiring Harness
(5)Engine Wiring Harness