GM Service Manual Online
For 1990-2009 cars only

Park Brake Cable Service/Adjustment Front - Olds And Buick

Removal Procedure

  1. Raise the vehicle. Support the vehicle. Refer to Lifting and Jacking the Vehicle in General Information.

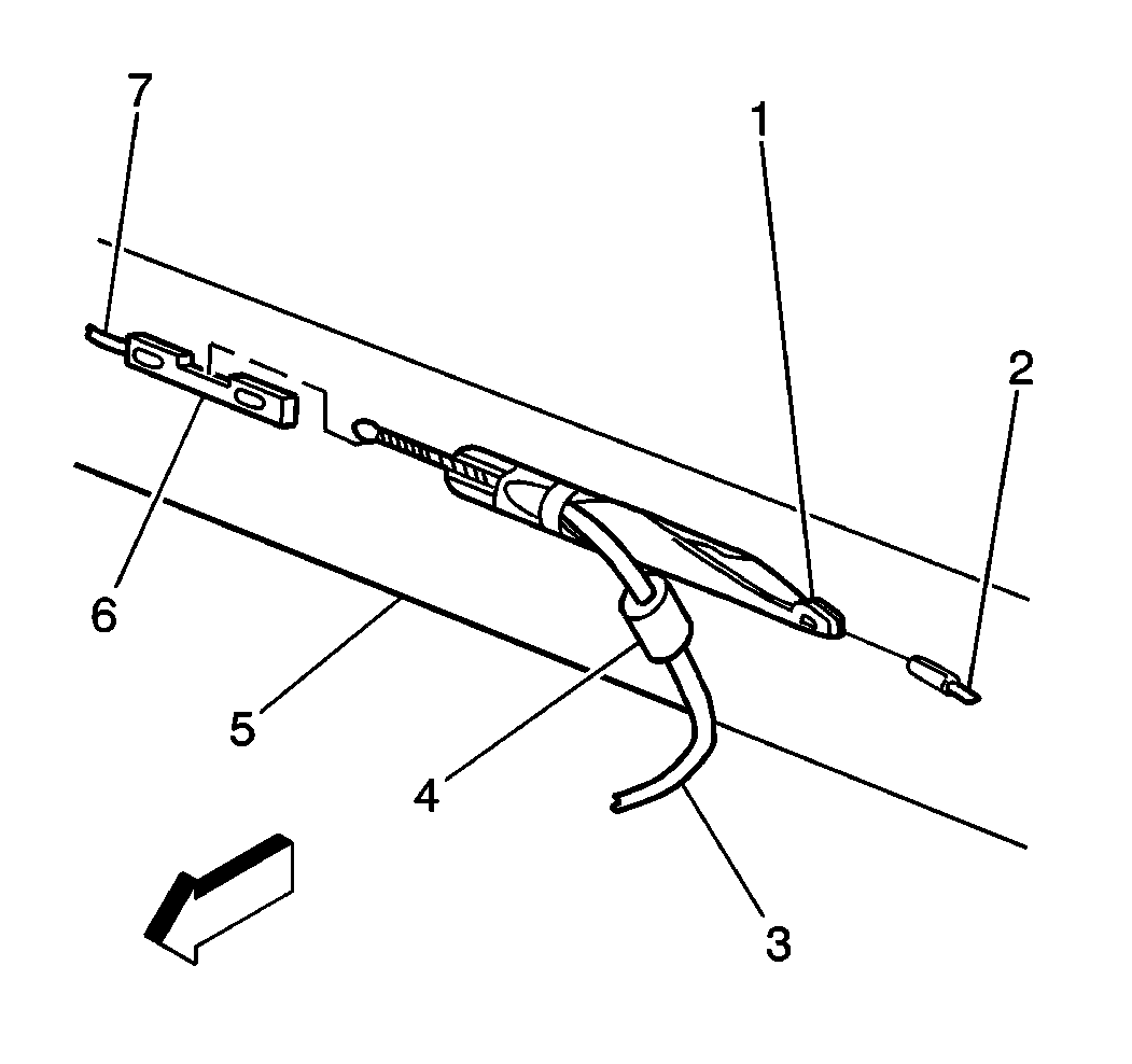
  2. Object Number: 169061  Size: SH
  3. Bend the tang (1) on the connector (4) in order to allow the cable removal.
  4. Pull and hold the cable (3) towards the rear of the car in order to create slack in the cable.

  5. Object Number: 169060  Size: SH
  6. Disconnect the cable from the following components:
  7. • The connector (6)
    • The equalizer assembly (1)
    • The fold over clip
  8. Lower the vehicle.
  9. Notice: Use Caution when removing the spring. This is to avoid hiting and knocking self adjusting spring loose.


    Object Number: 169059  Size: SH
  10. Remove the parking brake cable (8) from the reel assembly (9).
  11. Remove the cable conduit flitting from the lever assembly while depressing the retaining tags.
  12. Remove the left rocker panel/door sill plate.
  13. Remove the grommet (5) from the floor pan and cable from the center 2 body clips (6).
  14. Remove the front cable (8).

Installation Procedure


    Object Number: 169059  Size: SH
  1. Connect the parking brake cable (8) to the lever and reel assembly (9).
  2. Install the cable conduit fitting securing the cable to the lever assembly.
  3. Install the grommet (5) to the following components:
  4. • The floor pan
    • The grommet retainer
    • The center 2 body clips (6)
  5. Install the left rocker panel/sill plate.
  6. Raise the vehicle. Support the vehicle. Refer to Lifting and Jacking the Vehicle in General Information.
  7. Install the cable through the fold over and the equalizer to the connector. Route the cable under the left rear brake line.
  8. Lower the vehicle.
  9. Notice: Parking brake adjustment is not necessary. This is a self adjusting system and damage may result from attempting to adjust or modify this system in any way. It may be necessary to adjust the rear brakes to obtain the proper tension in the system.

  10. Fully apply and release the foot brake 4 to 6 times in order to self adjust the system.

Park Brake Cable Service/Adjustment Front - Pontiac

Removal Procedure

  1. Raise the vehicle. Support the vehicle. Refer to Lifting and Jacking the Vehicle in General Information.

  2. Object Number: 169061  Size: SH
  3. Pull and hold the cable (4) towards the rear of the car in order to create slack in the cable
  4. Bend the tang on the connector in order to allow cable removal.
  5. Disconnect the cable from the connector.

  6. Object Number: 169064  Size: SH
  7. Remove the fold over retaining clip.

  8. Object Number: 169061  Size: SH
  9. Disconnect the cable from the equalizer.
  10. Lower the vehicle.
  11. Remove the console (and the shifter boot).

  12. Object Number: 169063  Size: SH
  13. Move the lever to the off position.
  14. Remove the cable conduit end fitting from the handle assembly.

  15. Object Number: 169065  Size: SH
  16. Pull the cable (3) until the notch on the ratchet (4) is visible through the cover plate opening.
  17. Push the pawl spring (5) downward toward the notch in the ratchet (4).
  18. Release the cable (3) slowly in order to allow the notch to catch the leg of the spring.
  19. Remove the front parking brake cable button (2) from the reel assembly.

  20. Object Number: 169064  Size: SH
  21. Remove the left rocker panel/door sill plate.
  22. Remove the grommet and the retainer from the floor pan.
  23. Remove the cable from the clip (3) on #2 bar, under the carpet.
  24. Remove the front cable.

Installation Procedure


    Object Number: 169064  Size: SH
  1. Install the cable through the floor pan, from the interior to the exterior.
  2. Install the cable conduit fitting to the handle assembly.
  3. Install the front parking brake cable button to the reel assembly.
  4. Install the cable into the #2 bar clip (under the carpet).
  5. Install the console (and the shifter boot).
  6. Install the left rocker panel/door sill plate.
  7. Raise the vehicle.
  8. Install the fold over bracket to the body.
  9. Install the cable to the equalizer assembly and under the left rear brake line.

  10. Object Number: 169061  Size: SH
  11. Install the cable to the connector.
  12. Bend the tang on the connector in order to retain the cable.
  13. Lower the vehicle.
  14. Notice: Parking brake adjustment is not necessary. This is a self adjusting system and damage may result from attempting to adjust or modify this system in any way. It may be necessary to adjust the rear brakes to obtain the proper tension in the system.


    Object Number: 169063  Size: SH
  15. Fully apply and release the hand brake 4 - 6 times in order to activate the self adjust system.

Park Brake Cable Service/Adjustment Rear - Olds And Buick

Removal Procedure

  1. Raise the vehicle. Support the vehicle. Refer to Lifting and Jacking the Vehicle in General Information.

  2. Object Number: 169059  Size: SH
  3. Bend the tang on the connector (10) in order to allow cable removal.
  4. Pull and hold the cable (1) towards the rear of the car in order to create slack in the cable.

  5. Object Number: 169060  Size: SH
  6. Remove the left rear cable from the equalizer assembly (1); or remove the right rear cable from the connector.
  7. Remove the tire and wheel assembly. Refer to Wheel Removal in Tires and Wheels.
  8. Remove the brake drum.
  9. Insert the screwdriver between the brake shoe and the lower part of the rear parking brake lever.

  10. Object Number: 169059  Size: SH
  11. Remove the parking brake cable eyelet from the rear parking brake lever.
  12. Remove the conduit fitting from the backing plate while depressing the conduit fitting retaining tangs.
  13. Remove the conduit fitting from the axle bracket.

Installation Procedure

  1. Install the conduit fitting into the backing plate.

  2. Object Number: 169059  Size: SH
  3. Install the parking brake cable eyelet to the parking brake lever in the drum assembly.
  4. Install the brake drum.
  5. Install the tire and the wheel assembly. Refer to Wheel Installation in Tires and Wheels.
  6. Install the conduit fitting into the axle bracket.

  7. Object Number: 169060  Size: SH
  8. Connect the cable to the equalizer assembly (left cable) (1).
  9. Install the cable end button to the connector (front and right rear cables).
  10. Notice: Parking brake adjustment is not necessary. This is a self adjusting system and damage may result from attempting to adjust or modify this system in any way. It may be necessary to adjust the rear brakes to obtain the proper tension in the system.


    Object Number: 169058  Size: SH
  11. Fully apply and release the hand brake 4 - 6 times in order to self adjust the system.
  12. Test the parking brake for proper operation.
  13. Lower the vehicle.

Park Brake Cable Service/Adjustment Rear - Pontiac

Removal Procedure

  1. Remove the console (and the shifter boot).

  2. Object Number: 169063  Size: SH
  3. Move the lever (3) to the off position.
  4. Remove the cable conduit fitting from the handle assembly.

  5. Object Number: 169065  Size: SH
  6. Pull the cable (3) until the notch on the ratchet (4) is visible through the cover plate opening.
  7. Push the pawl spring (5) downward toward the notch in the ratchet (4).
  8. Release the cable (3) slowly in order to allow the notch to catch the leg of the spring.
  9. Raise the vehicle. Support the vehicle. Refer to Lifting and Jacking the Vehicle in General Information.

  10. Object Number: 169061  Size: SH
  11. Bend the tang on the connector in order to allow cable removal.
  12. Pull and hold the cable towards the rear of the car in order to create a slack in the cable.

  13. Object Number: 169061  Size: SH
  14. Remove the cable (4) from the equalizer (1) and conduit fitting from the axle bracket.
  15. Remove the tire and wheel assembly. Refer to Wheel Installation in Tires and Wheels.
  16. Remove the brake drum.
  17. Insert the screwdriver between the brake shoe and the lower part of the brake adjuster bracket.
  18. Remove the cable eyelet fitting from the rear park brake lever.
  19. Remove the conduit fitting from the backing plate while depressing conduit fitting retaining tangs.

Installation Procedure

  1. Install the conduit fitting into the backing plate.

  2. Object Number: 169063  Size: SH
  3. Install the parking brake cable (1) to the parking brake lever (3) in the drum assembly.
  4. Install the brake drum, and the tire and wheel assembly.
  5. Install the conduit fitting retaining tangs and conduit fitting into the axle bracket.

  6. Object Number: 169061  Size: SH
  7. Connect the cable (4) to the equalizer (1).
  8. Connect the cable to the connector.
  9. Lower the vehicle.
  10. Install the console (and the shifter boot).
  11. Notice: Parking brake adjustment is not necessary. This is a self adjusting system and damage may result from attempting to adjust or modify this system in any way. It may be necessary to adjust the rear brakes to obtain the proper tension in the system.


    Object Number: 169063  Size: SH
  12. Fully apply and release the hand brake 4 - 6 times in order to self adjust the system.
  13. Test the parking brake operation.