GM Service Manual Online
For 1990-2009 cars only
Figure 1:
Object Number: 204703  Size: LF
(1)Rear Wheel Speed Sensor
(2)Front Wheel Speed Sensor
(3)ABS Brake Modulator/Master Cylinder Assembly
(4)Electronic Brake Control Module (EBCM)
Figure 2:

LH Rear of Engine Compartment


Object Number: 520103  Size: MF
(1)S112
(1)S112
(1)S112
(2)Brake Fluid Level Switch
(3)ABS Solenoid Lead
(4)S417
(5)S102
(6)Engine Harness
(6)Engine Harness
(7)ABS Motor Pack Connector
(8)Electronic Brake Control Relay
(9)S174
(10)ABS Motor Pack Connector Retainer
(11)Engine Wiring Harness Clip
(12)Air Cleaner Support
Figure 3:

LH Lower Instrument Panel near Steering Column


Object Number: 520539  Size: MF
(1)Cruise Control Brake Switch
(2)Brake Switch
(3)SIR Branch
(4)SIR SDM Harness
(5)Cruise Control Switch
Figure 4:

RH Rear of Engine Compartment


Object Number: 520067  Size: MF
(1)S119
(2)S195
(3)S414
(4)S106
(5)S170
(6)S173
(7)Blower Motor Resistor Connector
(8)Wire Harness Installed Channel
(9)Electric Brake Control Module Connector
(10)Blower Motor
(11)Blower Motor Feed Connector
(12)Auxiliary Discriminating Sensor Harness
(13)Blower Motor Ground
(14)Blower Motor Relay
(15)A/C Clutch Relay
(16)Fuel Pump Relay
(17)Coolant Fan Relay
(18)A/C Transducer Low Coolant Lead
(19)S415
(20)S171
Figure 5:

RH Side of the Engine


Object Number: 520120  Size: MF
(1)Injector Lead
(2)Generator Cooling Duct
(3)Engine Wiring Harness
(4)EVO Solenoid Connector
(5)Generator Stud Terminal
(6)Generator
Figure 6:

LH Side of the Engine Compartment


Object Number: 520079  Size: MF
(1)Engine Compartment Fuse Center
(2)Fuse Block Bracket
(3)Battery
Figure 7:

LH Side of Instrument Panel


Object Number: 520509  Size: MF
(1)Steering Column Wiring Branch
(2)DLC Cover
(3)Screw
(4)DLC
(5)Rear Defogger Relay
(6)Fuse Block
Figure 8:

Instrument Cluster


Object Number: 520550  Size: MF
(1)Photocell Jumper Connector
(2)IP Harness
(3)IP Cluster
(4)S416, S118
Figure 9:

Center Console


Object Number: 520489  Size: MF
(1)PRNDL Connector
(2)ETS Connector
(3)Automatic Transaxle Control
(4)Clip
Figure 10:

LH Front Wheel


Object Number: 520694  Size: MF
(1)RH Front Wheel Speed Sensor (LH similar)
(2)RH Front Control Arm
(3)RH Front Wheel Speed Connector (LH similar)
Figure 11:

RH Rear Wheel


Object Number: 520731  Size: MF
(1)RH Rear Wheel Speed Sensor (LH similar)
(2)RH Rear Axle
(3)RH Rear Wheel Speed Connector (LH similar)
Figure 12:

Lower LH of Steering Column


Object Number: 520684  Size: MF
(1)Multi-Function Lever
(2)SIR Coil
(3)Ignition Lock Solenoid
(4)Passlock Connector Lead
(5)Windshield Wiper Switch Lead
(6)SIR Lead
(7)SIR Connector
(8)DLC Lead
(9)S128
(10)S127
(11)S200
(12)S205
(13)S204
(14)S423, S424
(15)LH Stalk Switch Branch
(16)S202
(17)Headlamp Switch Lead
(18)Ignition Switch Connector
(19)Wiper Switch
(20)Passlock Connector Lead
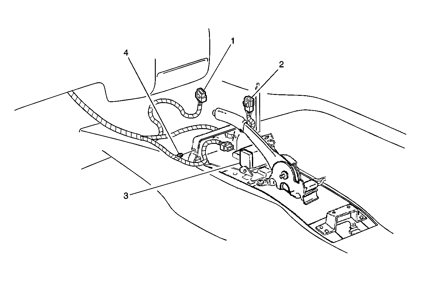
Figure 13:

Center Instrument Panel near Tie Bar


Object Number: 520687  Size: MF
(1)S227
(2)S439
(3)S391
(4)ETS
(5)BTSI
(6)PRNDL Control Module
(7)S277
(8)S327