GM Service Manual Online
For 1990-2009 cars only
Figure 1:

RH Upper Instrument Panel


Object Number: 520065  Size: MF
(1)S278
(2)Engine Wiring Harness
(3)P201
(4)C411
(5)IP Branch of Engine Wiring Harness
(6)S109
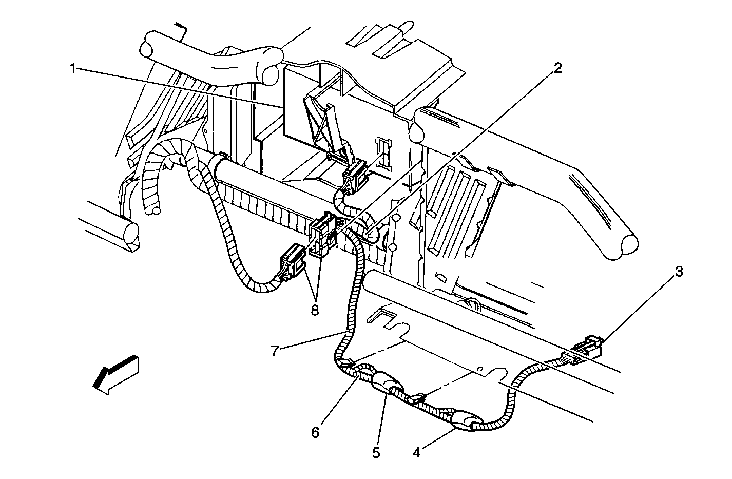
Figure 2:

RH Rear of Engine Compartment


Object Number: 520067  Size: MF
(1)S119
(2)S195
(3)S414
(4)S106
(5)S170
(6)S173
(7)Blower Motor Resistor Connector
(8)Wire Harness Installed Channel
(9)Electric Brake Control Module Connector
(10)Blower Motor
(11)Blower Motor Feed Connector
(12)Auxiliary Discriminating Sensor Harness
(13)Blower Motor Ground
(14)Blower Motor Relay
(15)A/C Clutch Relay
(16)Fuel Pump Relay
(17)Coolant Fan Relay
(18)A/C Transducer Low Coolant Lead
(19)S415
(20)S171
Figure 3:

LH Side of Engine


Object Number: 520071  Size: MF
(1)Ground Lead
(2)Transaxle Range Switch
(3)Trans Shift Cable Bracket
(4)Engine Wiring Harness
(4)Engine Wiring Harness
(5)Engine Harness To Rear Lead
(6)S111, A/C Diode, S110
(7)Coolant Fan
(8)Automatic Transaxle Connector
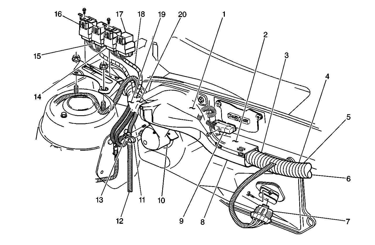
Figure 4:

Rear of Engine


Object Number: 520078  Size: MF
(1)Engine Wiring Harness-to-Ignition Module Connector
(2)Map Sensor
(3)Generator
(4)Blower Motor Resistor Connector
(5)Engine Wiring Harness
(6)Oxygen Sensor
(7)Engine Wire Harness Clip
(8)EGR Solenoid
(9)Engine Wiring-to-Ignition Module Harness
(10)C120
(11)C220
(12)Canister Purge Solenoid
(13)Cam Sensor Connector
Figure 5:

Under Driver's Seat


Object Number: 520749  Size: MF
(1)G303
Figure 6:

LH Rear of Engine Compartment


Object Number: 520095  Size: MF
(1)G111
(2)Forward Lamps Harness
(3)C499 (LD9 only)
(4)Air Cleaner
Figure 7:

LH Rear of Engine Compartment


Object Number: 520097  Size: MF
(1)Engine-to-Bulkhead Harness
(2)S303
(3)Left Strut Tower
(4)Post Catalytic Oxygen Sensor Connector
(5)Engine-to-Front of Dash Harness
(6)Fuel Line
Figure 8:

LH Rear of Engine Compartment


Object Number: 520103  Size: MF
(1)S112
(1)S112
(1)S112
(2)Brake Fluid Level Switch
(3)ABS Solenoid Lead
(4)S417
(5)S102
(6)Engine Harness
(6)Engine Harness
(7)ABS Motor Pack Connector
(8)Electronic Brake Control Relay
(9)S174
(10)ABS Motor Pack Connector Retainer
(11)Engine Wiring Harness Clip
(12)Air Cleaner Support
Figure 9:

LH Instrument Panel


Object Number: 520296  Size: MF
(1)C202
(2)C204
(3)Door Lock Relay
(4)S308, S436
(5)S432
(6)S431
(6)S431
(7)S330
(8)S418
(9)S437
(10)S307
(11)S225
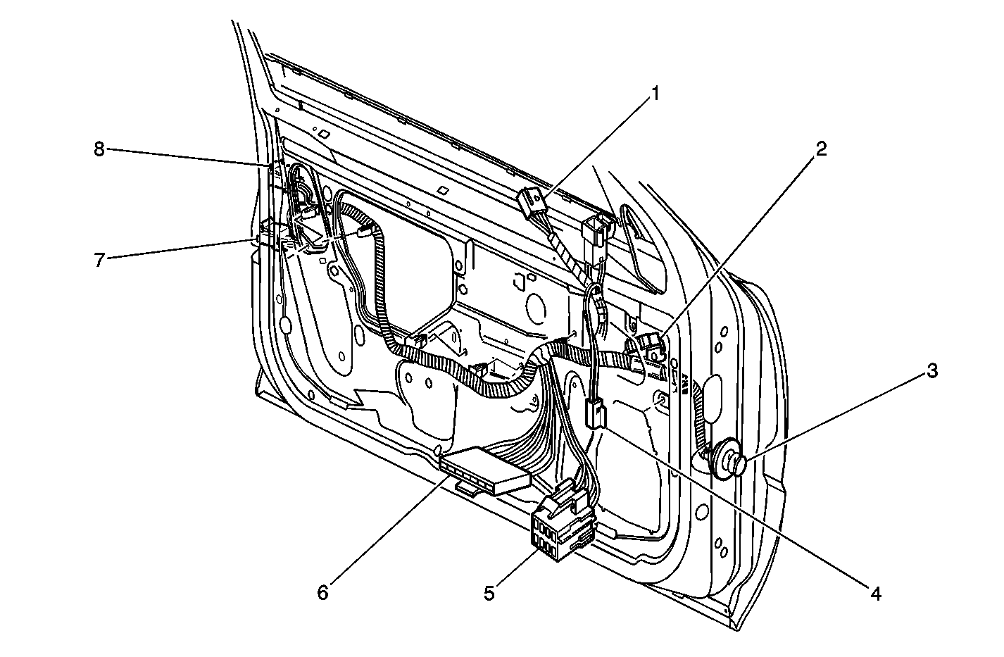
Figure 10:

LH Front Door


Object Number: 520301  Size: MF
(1)Power Mirror Switch Connector
(2)LH Front Window Motor Connector
(3)P500
(4)LH Front Speaker Connector
(5)Door Lock Switch Connector
(6)Master Window Switch Connector
(7)Power Door Lock Motor Connector
(8)LH Front Door Handle Switch Connector
Figure 11:

RH Side of Passenger Compartment


Object Number: 520304  Size: MF
(1)G301
(2)Sensing Diagnostic Module Connector
(3)Sensing Diagnostic Module
(4)S301
(5)S419
(6)S331
Figure 12:

LH Side of Passenger Compartment


Object Number: 520306  Size: MF
(1)S312
(2)G302
(3)S438
(4)S304
(5)C306, Power Seat
(6)Seat Belt Switch Connector
Figure 13:

RH Side of Instrument Panel


Object Number: 520309  Size: MF
(1)SIR Passenger Safing Connector
(2)C200
(3)PCM Bracket
Figure 14:

RH Front Door


Object Number: 520312  Size: MF
(1)RH Outside Mirror Connector
(2)RH Front Door Handle Switch Connector
(3)RH Front Door Lock Motor
(4)RH Front Window Switch Connector
(5)RH Door Lock Switch Connector
(6)RH Front Speaker Connector
(7)P600
(8)RH Front Window Motor Connector
Figure 15:

Rear Underside of Vehicle


Object Number: 520313  Size: MF
(1)C313
Figure 16:

Rear Compartment


Object Number: 520317  Size: MF
(1)LH Tail/Stop/Turn Lamp Connector
(2)C324
(3)S319
(4)S433
(5)S317
(6)S300
(7)RH Tail/Stop/Turn Lamp Connector
(8)S320
Figure 17:

LH Rear Door


Object Number: 520413  Size: MF
(1)Door Jamb Switch Connector
(2)S328
(3)Power Window Switch Connector
(4)Power Window Motor Connector
(5)Electronic Door Lock Motor Connector
Figure 18:

Front Impact Bar


Object Number: 520448  Size: MF
(1)Forward Lamp Harness Clip
(2)S115
(3)Clip (Oldsmobile only)
(4)Fog Lamp Relay
(5)Isolation Relay
(6)Automatic Light Control Relay
(7)Park Lamp Relay
(8)Daytime Running Lamp Relay
(9)Relay Bracket
(10)S426
(11)S128, S434
(12)S100
(13)S116
(14)S987, S988
(15)S196
(16)S429, S430, S427
Figure 19:

LH Rear of Engine Compartment


Object Number: 520477  Size: MF
(1)C101
(2)S425
(3)P101
(4)S104
(5)Trans Vent Pipe
(6)C416
(7)Air Cleaner
Figure 20:

LH Front Impact Bar


Object Number: 520478  Size: MF
(1)S117
(2)Side Marker Lamp
(2)Side Marker Lamp
(3)Washer Pump Connector
(4)LH Horn Connector
(5)S127
(6)Fluid Level Sensor Connector
(7)Fog Lamp Connector
(8)S115
(9)Park/Turn Signal Lamp
(9)Park/Turn Signal Lamp
(10)Headlamp Connector
(11)Positive
(12)Negative
(13)Solder
Figure 21:

LH Side of Instrument Panel


Object Number: 520514  Size: MF
(1)Radio
(2)S421
(3)Inline Connector-to-Steering Wheel Radio Controls
(4)Inline Fuse B
(5)Inline Fuse A
(6)S218
(7)S420
(8)C415
Figure 22:

Instrument Cluster


Object Number: 520550  Size: MF
(1)Photocell Jumper Connector
(2)IP Harness
(3)IP Cluster
(4)S416, S118
Figure 23:

Center Instrument Panel near HVAC Control Assembly


Object Number: 520554  Size: MF
(1)S231
(2)S217
(3)S218
(4)S439
(5)Rear Fog and Applique Lamp Connector
(6)Heater Control Selector Connector
(7)Heater Control Connector
(8)Rear Defogger Switch
(9)HVAC Controller
(10)Heater Control Connector
(11)Radio Connector
(12)Antenna Connector
(13)S213
(14)S118
(15)Heater Control
(16)Cluster Connector
Figure 24:

RH Side of Instrument Panel in IP Compartment


Object Number: 520563  Size: MF
(1)S226
(2)Glove Box Lamp Branch
(3)IP Compartment Lamp
Figure 25:

LH Instrument Panel near Steering Column


Object Number: 520588  Size: MF
(1)Multifunction Alarm Module
(2)G200
(3)S206
(4)S321
(5)S101, S435
(6)S207
(7)Lamp Dimmer Module Connector
(8)S232
(9)S216
(10)S201
(11)Convenience Center-to-MICAM Connector
(12)MICAM Connector
Figure 26:

RH Lower Instrument Panel


Object Number: 520663  Size: MF
(1)IP Compartment Lamp
(2)RH Courtesy Lamp
(3)C207
Figure 27:

LH Upper Front of Dash


Object Number: 520667  Size: MF
(1)Front of Dash
(2)S242
(3)C100
Figure 28:

RH Front of Instrument Panel


Object Number: 520673  Size: MF
(1)S172
(2)S440
(3)Powertrain Control Module
Figure 29:

Lower LH of Steering Column


Object Number: 520684  Size: MF
(1)Multi-Function Lever
(2)SIR Coil
(3)Ignition Lock Solenoid
(4)Passlock Connector Lead
(5)Windshield Wiper Switch Lead
(6)SIR Lead
(7)SIR Connector
(8)DLC Lead
(9)S128
(10)S127
(11)S200
(12)S205
(13)S204
(14)S423, S424
(15)LH Stalk Switch Branch
(16)S202
(17)Headlamp Switch Lead
(18)Ignition Switch Connector
(19)Wiper Switch
(20)Passlock Connector Lead
Figure 30:

Center Instrument Panel near Tie Bar


Object Number: 520687  Size: MF
(1)S227
(2)S439
(3)S391
(4)ETS
(5)BTSI
(6)PRNDL Control Module
(7)S277
(8)S327
Figure 31:

RH Instrument Panel near IP Compartment


Object Number: 520689  Size: MF
(1)C200
(2)C207
(3)S289
Figure 32:

Under Rear of Vehicle


Object Number: 520692  Size: MF
(1)C313
(2)Fuel Sender Pipe (from Fuel Tank Unit)
Figure 33:

Luggage Compartment


Object Number: 520732  Size: MF
(1)Luggage Compartment Lid Release Solenoid Connector
(2)C400
Figure 34:

Headliner


Object Number: 520738  Size: MF
(1)LH Header Courtesy Lamp and Switch
(2)LH Vanity Mirror Lamp
(3)S326
(3)S326
(4)S328
(5)Map/Reading Lamp Switch
(6)RH Header Courtesy Lamp and Switch
(7)RH Vanity Mirror Lamp
(8)RH Rear Quarter Courtesy/Reading Lamp and Switch
(9)LH Rear Quarter Courtesy/Reading Lamp and Switch
Figure 35:

Rear of Vehicle


Object Number: 520742  Size: MF
(1)Back-up Lamp
(2)S309, S403