GM Service Manual Online
For 1990-2009 cars only

Removal Procedure

Tools Required

J 39500-B A/C Refrigerant Recover, Recharging, and Recycling Station

  1. Recover the A/C system. Refer to Refrigerant Recovery and Recharging .
  2. Caution: Unless directed otherwise, the ignition and start switch must be in the OFF or LOCK position, and all electrical loads must be OFF before servicing any electrical component. Disconnect the negative battery cable to prevent an electrical spark should a tool or equipment come in contact with an exposed electrical terminal. Failure to follow these precautions may result in personal injury and/or damage to the vehicle or its components.

  3. Disconnect the negative battery cable.
  4. Remove the right side insulator panel from underneath the dash.
  5. Remove the electrical junction box at the heater core cover.
  6. Remove the left side insulator panel.
  7. Remove the steering column filler.
  8. Partially remove the shift console, if equipped, in order to gain access to the floor duct and to the heater core cover.
  9. Remove the floor duct.
  10. Remove the heater core cover.
  11. Remove the heater core shroud and the straps.

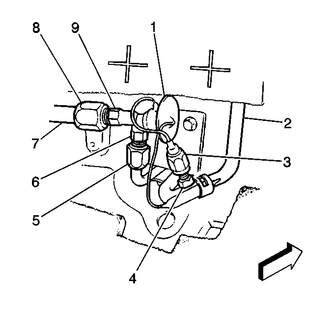
  12. Object Number: 366915  Size: SH
  13. Remove the insulation tape from the valve fittings.
  14. Remove the thermal expansion valve (TXV) (1).
  15. Clean all of the insulation tape from the evaporator fittings in order to ensure correct seating/torque of the O-rings.

Installation Procedure

Tools Required

J 39500-B A/C Refrigerant Recover, Recharging, and Recycling Station


    Object Number: 366915  Size: SH
  1. Install the TXV (1), including the installation of the new insulation wrap.
  2. Notice: Use the correct fastener in the correct location. Replacement fasteners must be the correct part number for that application. Fasteners requiring replacement or fasteners requiring the use of thread locking compound or sealant are identified in the service procedure. Do not use paints, lubricants, or corrosion inhibitors on fasteners or fastener joint surfaces unless specified. These coatings affect fastener torque and joint clamping force and may damage the fastener. Use the correct tightening sequence and specifications when installing fasteners in order to avoid damage to parts and systems.

    • Install the TXV fitting from the evaporator inlet line (7).

    Tighten
    Tighten the fitting to 17 N·m (13 lb ft), using a 23-mm wrench at fitting (8) and a 16-mm wrench at fitting (9).

    • Install the TXV fitting (1) to the evaporator.

    Tighten
    Tighten the fitting to 24 N·m (17 lb ft), using a 15-mm wrench at fitting (3) and a 9/16-in wrench at fitting (4).

    • Install the TXV fitting from the evaporator outlet line (2).

    Tighten
    Tighten the fitting to 8 N·m (71 lb in), using a 13-mm wrench at fitting (6) and a 19-mm wrench at fitting (5).

  3. Install the heater core shroud and the straps.
  4. Tighten
    Tighten the screws to 1.4 N·m (12 lb in).

  5. Install the heater core cover.
  6. A mounting screw is located in a recess in the center of the cover.

    Tighten
    Tighten the screws to 1.4 N·m (12 lb in).

    Important: Perform a leak test on the fittings of the TXV before you finish re-assembly. You can perform this test without running the vehicle.

  7. Perform the following steps:
  8. 4.1. Evacuate and partially recharge the A/C system using 0.48 kg (1 lb) of refrigerant R-134a.
    4.2. Perform a leak test. Refer to Leak Testing .
  9. Install the floor duct.
  10. Install the steering column filler.
  11. Install the left side insulation panel.
  12. Install the electrical junction box to the heater core cover.
  13. Install the right side insulation panel.
  14. Install the console.
  15. Connect the negative battery cable.
  16. Finish charging the A/C system. Refer to Refrigerant Recovery and Recharging .
  17. Test the performance of the system. Refer to TXV Air Conditioning (A/C) System Diagnosis .