GM Service Manual Online
For 1990-2009 cars only

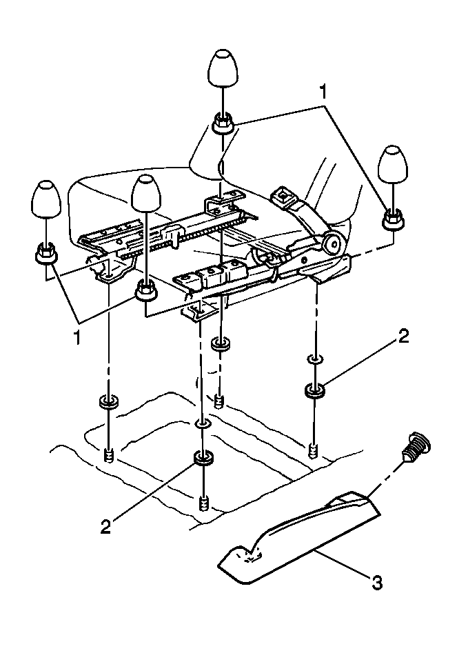
Removal Procedure

  1. Position the driver or passenger front seat to the forward position.

  2. Object Number: 385293  Size: MH
  3. Remove the driver or passenger seat rear adjuster nuts (1).
  4. Position the driver or the passenger front seat to the rearward position.
  5. Remove the driver or the passenger seat front adjuster nuts (1).
  6. Remove the driver or the passenger front seat.

Installation Procedure

  1. Install the driver or the passenger front seat.
  2. Position the driver or the passenger front seat to the rearward position.

  3. Object Number: 385293  Size: MH

    Notice: Use the correct fastener in the correct location. Replacement fasteners must be the correct part number for that application. Fasteners requiring replacement or fasteners requiring the use of thread locking compound or sealant are identified in the service procedure. Do not use paints, lubricants, or corrosion inhibitors on fasteners or fastener joint surfaces unless specified. These coatings affect fastener torque and joint clamping force and may damage the fastener. Use the correct tightening sequence and specifications when installing fasteners in order to avoid damage to parts and systems.

  4. Install the driver or the passenger seat front adjuster nuts (1).
  5. Tighten
    Tighten the driver or passenger seat adjuster nuts (1) to 29 N·m (21 lb ft).

  6. Position the driver or the passenger front seat to the forward position.
  7. Install the driver or the passenger seat rear adjuster nuts (1).
  8. Tighten
    Tighten the driver or passenger seat adjuster nuts (1) to 29 N·m (21 lb ft).