GM Service Manual Online
For 1990-2009 cars only

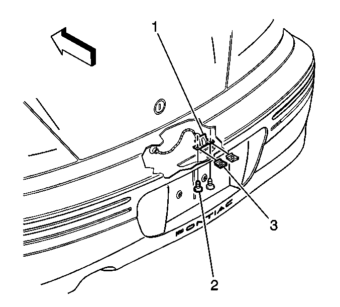
Removal Procedure


    Object Number: 522366  Size: SH
  1. Twist the license plate lamp (1) socket counter-clockwise in order to remove the socket from the housing.
  2. Remove the bulb from the socket.

Installation Procedure


    Object Number: 522366  Size: SH
  1. Install the new bulb in the license plate lamp (1) socket.
  2. Turn the socket clockwise into the housing in order to fully retain the socket.