GM Service Manual Online
For 1990-2009 cars only
Makes
🢒
Oldsmobile
🢒
1998
🢒
Achieva
🢒
Body and Accessories
🢒
Lighting Systems
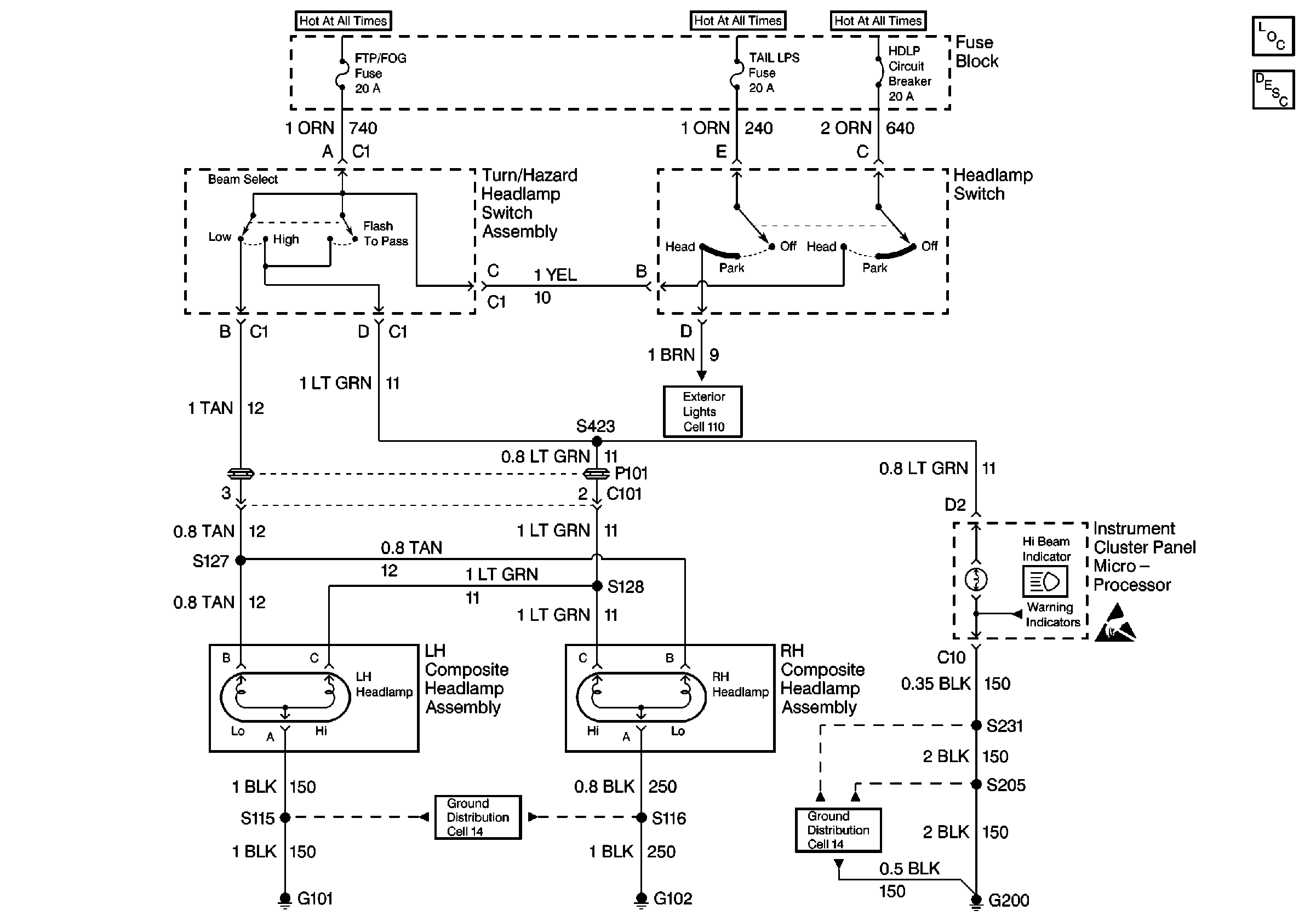
🢒 Headlights Schematics
Headlights Schematics Buick
Lighting Systems Components
Lighting System Description
Handling ESD Sensitive Parts Notice
Ground Distribution Schematics
Ground Distribution Schematics
Exterior Lights Schematics