GM Service Manual Online
For 1990-2009 cars only

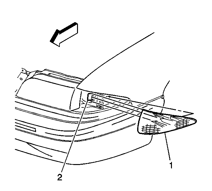
Front Side Marker Lamp Replacement Buick

Removal Procedure


    Object Number: 522404  Size: SH
  1. Open the hood.
  2. Remove the screw from the lamp tab (2).
  3. Remove the socket by twisting counter-clockwise 45 degrees.
  4. Remove the bulb and the socket from lthe lamp housing.

Installation Procedure


    Object Number: 522404  Size: SH
  1. Install the new bulb to the socket.
  2. Install the socket to the lamp housing by twisting clockwise 45 degrees.
  3. Notice: Use the correct fastener in the correct location. Replacement fasteners must be the correct part number for that application. Fasteners requiring replacement or fasteners requiring the use of thread locking compound or sealant are identified in the service procedure. Do not use paints, lubricants, or corrosion inhibitors on fasteners or fastener joint surfaces unless specified. These coatings affect fastener torque and joint clamping force and may damage the fastener. Use the correct tightening sequence and specifications when installing fasteners in order to avoid damage to parts and systems.

  4. Install the screw to the lamp tab (2).
  5. Tighten
    Tighten the screw to 2 N·m (17 lb in).

  6. Close the hood.

Front Side Marker Lamp Replacement Oldsmobile

Removal Procedure


    Object Number: 522362  Size: SH
  1. Open the hood.
  2. Remove the screw (3) from the lamp tab.
  3. Remove the socket by twisting counter-clockwise 45 degrees.
  4. Remove the bulb and the socket from lthe lamp housing.

Installation Procedure


    Object Number: 522362  Size: SH
  1. Install the new bulb to the socket.
  2. Install the socket to the lamp housing by twisting clockwise 45 degrees.
  3. Notice: Use the correct fastener in the correct location. Replacement fasteners must be the correct part number for that application. Fasteners requiring replacement or fasteners requiring the use of thread locking compound or sealant are identified in the service procedure. Do not use paints, lubricants, or corrosion inhibitors on fasteners or fastener joint surfaces unless specified. These coatings affect fastener torque and joint clamping force and may damage the fastener. Use the correct tightening sequence and specifications when installing fasteners in order to avoid damage to parts and systems.

  4. Install the screw (2) to the lamp tab.
  5. Tighten
    Tighten the screw to 2 N·m (17 lb in).

  6. Close the hood.