GM Service Manual Online
For 1990-2009 cars only
Figure 1:

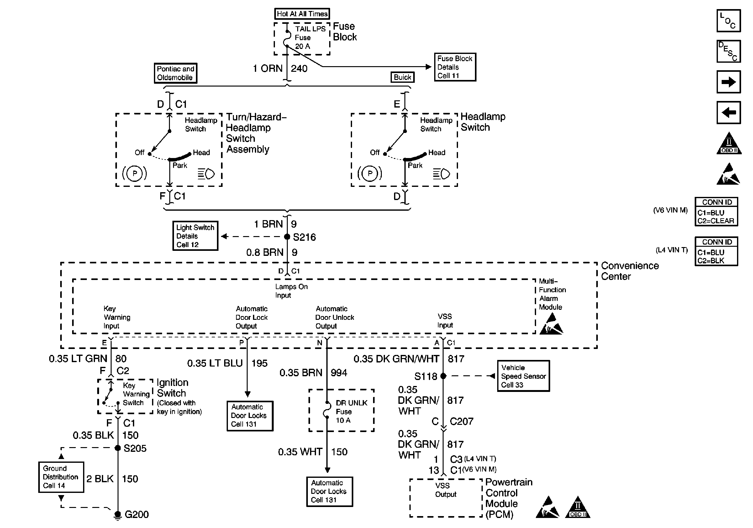
Cell 76: Chime Lights-On/Ignition/Fasten Belts (1 of 2)


Object Number: 528797  Size: FS
Audible Warnings Components
Audible Warnings Circuit Description
Cell 76: Chime Lights-On/Ignition/Fasten Belts (2 of 2)
Handling ESD Sensitive Parts Notice
Figure 2:

Cell 76: Chime Lights-On/Ignition/Fasten Belts (2 of 2)


Object Number: 528800  Size: FS
Audible Warnings Components
Audible Warnings Circuit Description
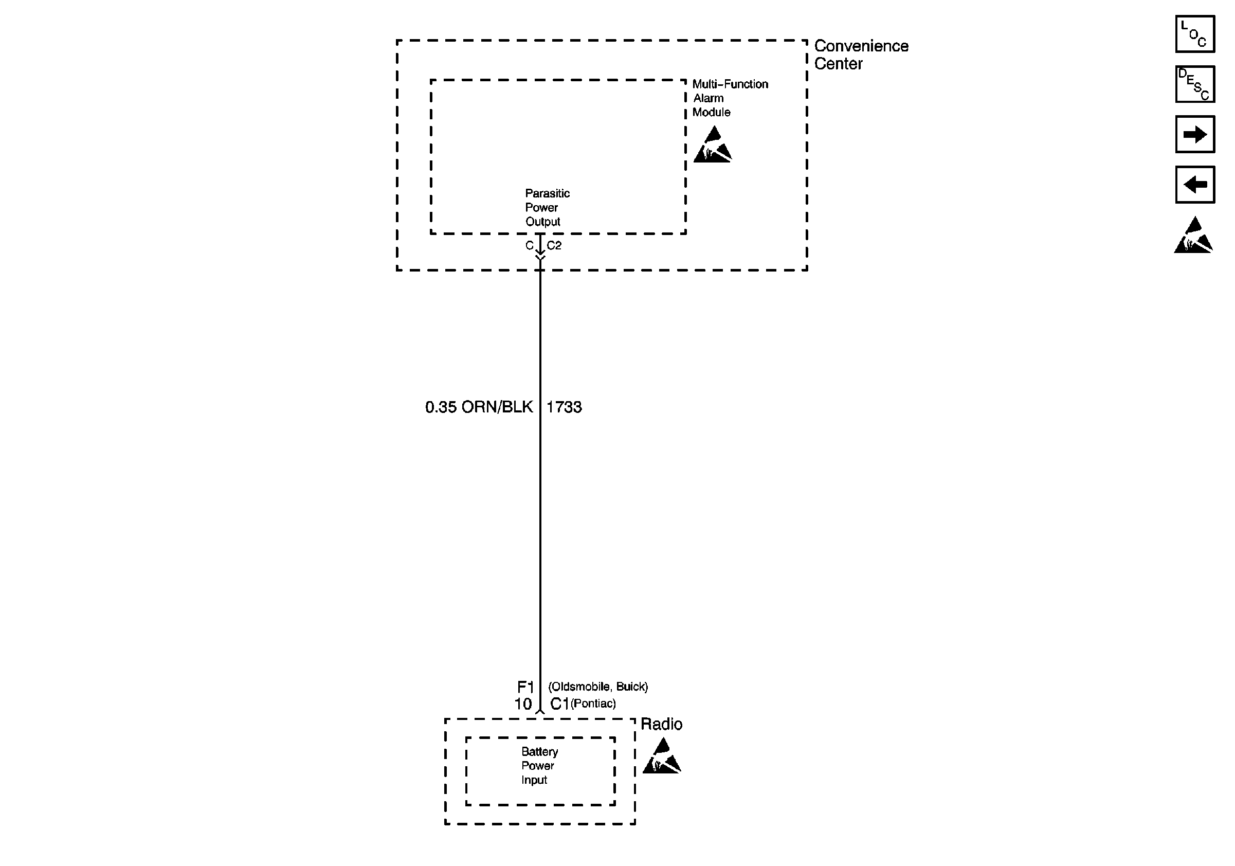
Cell 76: Chime Parasitic Power Output
Cell 76: Chime Lights-On/Ignition/Fasten Belts (1 of 2)
OBD II Symbol Description Notice
Handling ESD Sensitive Parts Notice
Figure 3:

Cell 76: Chime Parasitic Power Output


Object Number: 528802  Size: FS
Audible Warnings Components
Audible Warnings Circuit Description
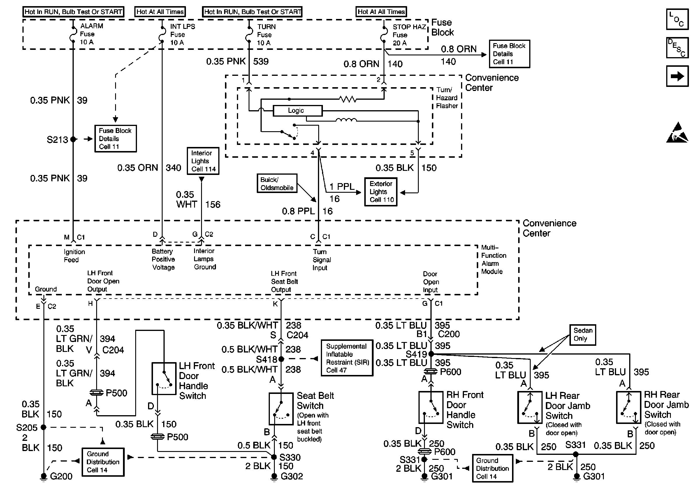
Cell 76: Chime Remote Control Door Locks
Cell 76: Chime Lights-On/Ignition/Fasten Belts (2 of 2)
Handling ESD Sensitive Parts Notice
Figure 4:

Cell 76: Chime Remote Control Door Locks


Object Number: 528806  Size: FS
Audible Warnings Components
Audible Warnings Circuit Description
Cell 76: Chime Parasitic Power Output
Cell 76: Chime Defogger Switch, Interior Lamps
OBD II Symbol Description Notice
Handling ESD Sensitive Parts Notice
Figure 5:

Cell 76: Chime Defogger Switch, Interior Lamps


Object Number: 528809  Size: FS
Audible Warnings Components
Audible Warnings Circuit Description
Cell 76: Chime Remote Control Door Locks
Handling ESD Sensitive Parts Notice