GM Service Manual Online
For 1990-2009 cars only
Makes
🢒
Oldsmobile
🢒
1998
🢒
Achieva
🢒
Body and Accessories
🢒
Cruise Control
🢒 Cruise Control Schematics
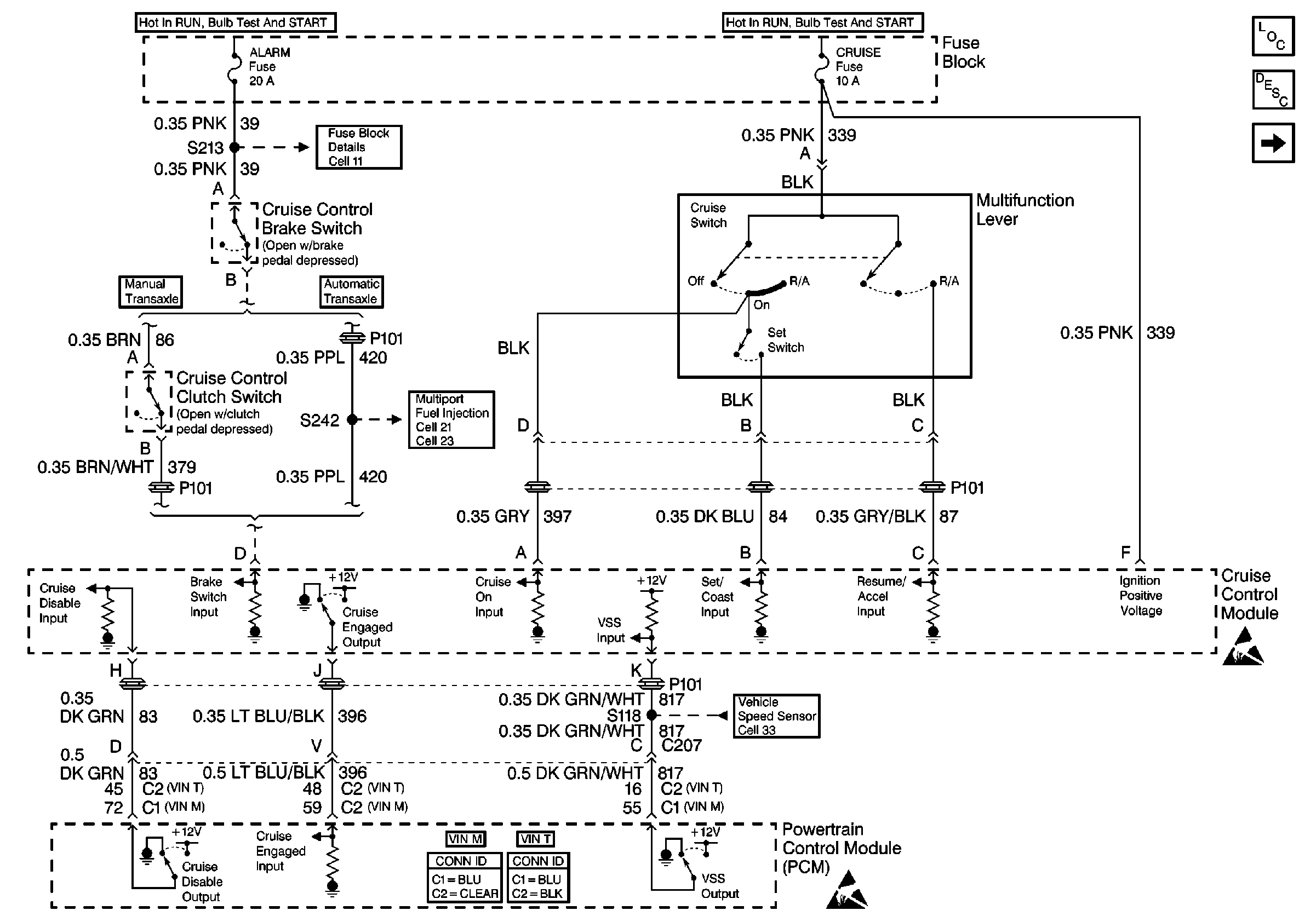
Figure
1:
Cell 34: Brake Switch Open
Cruise Control Components
Cell 34: Brake Switch Closed
Fuse Block Schematics
Handling ESD Sensitive Parts Notice
Handling ESD Sensitive Parts Notice
Cruise Control System Description
Figure
2:
Cell 34: Brake Switch Closed
Cruise Control Components
Cell 34: Brake Switch Open
Fuse Block Schematics
Exterior Lights Schematics
Handling ESD Sensitive Parts Notice
Ground Distribution Schematics
Cruise Control System Description