GM Service Manual Online
For 1990-2009 cars only

Removal Procedure

  1. Remove the applicable front seat.
  2. Refer to Seat Replacement .

  3. Position the front seat on a clean, dry, non-abrasive surface.
  4. Remove the assist spring from the seat adjuster.
  5. For the removal of the right adjuster, perform the following procedure:

    3.1. Squeeze together the hooked end of the seat adjuster locking wire.
    3.2. Slide the retaining spring back over the hump in the locking wire.
    3.3. Remove the locking wire from the adjuster.
  6. Remove the passenger E-Z entry adjuster cable. Refer to Front Seat Back Cushion Latch Release Cable Replacement .

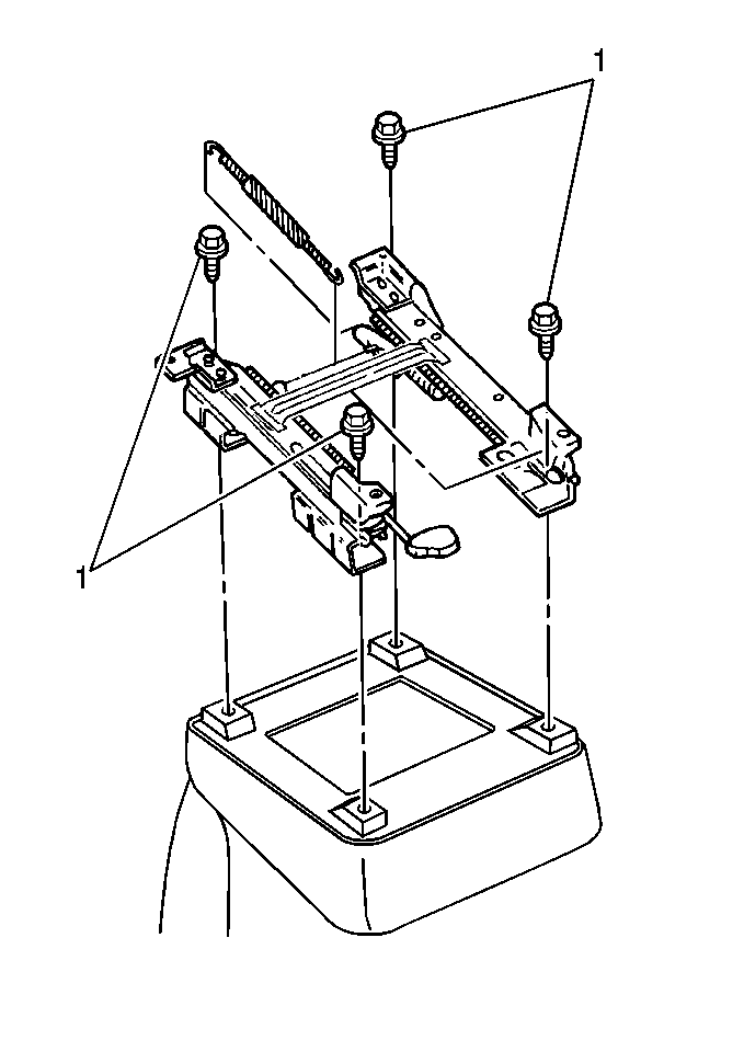
  7. Object Number: 385274  Size: MH
  8. Remove the front seat adjuster bolts (1).
  9. Remove the front seat adjuster.

Installation Procedure

    Important: Both front seat adjusters must be in the same relative position.

  1. Install the front seat adjuster.

  2. Object Number: 385274  Size: MH

    Notice: Use the correct fastener in the correct location. Replacement fasteners must be the correct part number for that application. Fasteners requiring replacement or fasteners requiring the use of thread locking compound or sealant are identified in the service procedure. Do not use paints, lubricants, or corrosion inhibitors on fasteners or fastener joint surfaces unless specified. These coatings affect fastener torque and joint clamping force and may damage the fastener. Use the correct tightening sequence and specifications when installing fasteners in order to avoid damage to parts and systems.

  3. Install the front seat adjuster bolts (1).
  4. Tighten
    Tighten the front seat adjuster bolt to 29 N·m (21 lb ft).

  5. Install the passenger E-Z entry adjuster cable. Refer to Front Seat Back Cushion Latch Release Cable Replacement .
  6. Install the assist spring to the seat adjuster.
  7. Install the front seat. Refer to Seat Replacement .