GM Service Manual Online
For 1990-2009 cars only
Makes
🢒
Oldsmobile
🢒
1998
🢒
Achieva
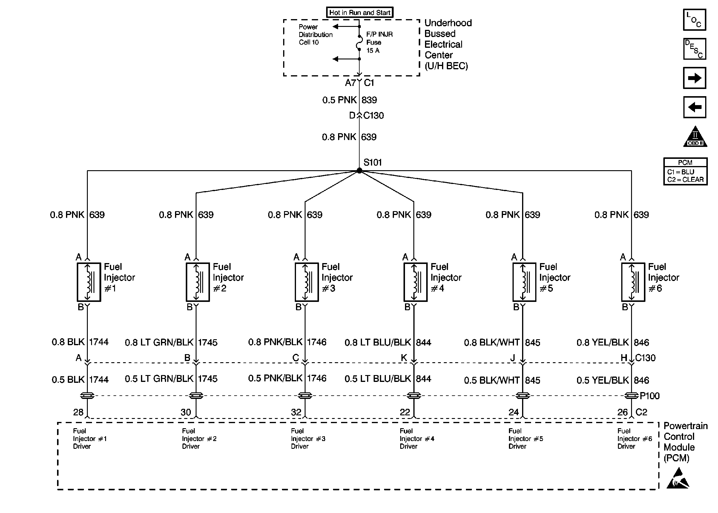
🢒 Fuel Injectors
Fuel Injectors
Fuel Injectors
Engine Controls Components
Information Sensors
Engine Data Sensors
Fuel Controls
OBD II Symbol Description Notice
Handling ESD Sensitive Parts Notice