GM Service Manual Online
For 1990-2009 cars only

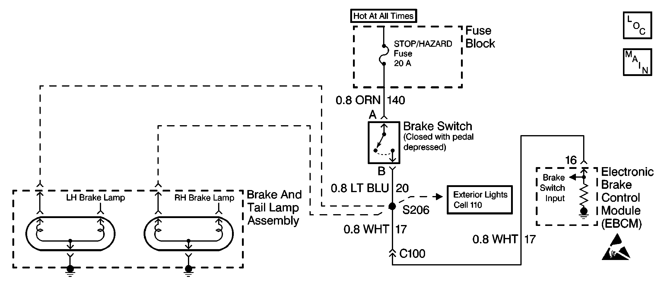
Object Number: 161025  Size: SF
ABS Components
ABS/ETS Schematics

Circuit Description

DTC C1295 identifies open brake switch circuitry that prevents the brake switch input to the EBCM from changing states while applying the brake.

Conditions for Setting the DTC

DTC C1295 can set after initialization is complete.

A malfunction exists if the brake switch input voltage is out of specification for one second. An open circuit exists when the brake switch input voltage is out of specification.

Action Taken When the DTC Sets

    • A malfunction DTC stores.
    • ABS disables.
    • The ABS warning indicator turns on.

Conditions for Clearing the DTC

    • The condition responsible for setting the DTC no longer exists and the Scan Tool Clear DTCs function is used.
    • 100 drive cycles pass with no DTC(s) detected. A drive cycle consists of starting the vehicle, driving the vehicle over 16 km/h (10 mph), stopping and then turning the ignition off.

Diagnostic Aids

The following conditions may cause an intermittent malfunction:

    • A poor connection
    • Rubbed-through wire insulation
    • A broken wire inside the insulation

Use the enhanced diagnostic function of the Scan Tool in order to measure the frequency of the malfunction.

Thoroughly inspect any circuitry that may cause the intermittent complaint for the following conditions:

    • Backed out terminals
    • Improper mating
    • Broken locks
    • Improperly formed or damaged terminals
    • Poor terminal-to-wiring connections
    • Physical damage to the wiring harness

Step

Action

Value(s)

Yes

No

Important: Zero the J 39200 test leads before making any resistance measurements. Refer to the J 39200 user's manual.

1

Was the Diagnostic System Check performed?

--

Go to Step 2

Go to Diagnostic System Check

2

  1. Turn the ignition switch to the RUN position.
  2. Do not start the engine.

  3. Install a Scan Tool .
  4. Select Data List on the Scan Tool .
  5. Select Brake Switch Position on the Scan Tool .

Does the Scan Tool indicate that the brake switch circuit is open?

--

Go to Step 3

Go to Step 11

3

Apply light pressure to the brake pedal while monitoring the Brake Switch Position on the Scan Tool .

Does the Scan Tool indicate that the brake switch is on within 25 mm (1.0 inch) of the brake pedal travel?

--

Go to Step 9

Go to Step 4

4

  1. Apply firm pressure to the brake pedal.
  2. Observe the rear brake lamps.

Are the rear brake lamps on?

--

Go to Step 5

Go to Step 9

5

  1. Turn the ignition switch to the OFF position.
  2. Disconnect the EBCM connector.
  3. Turn the ignition switch to the RUN position.
  4. Do not start the engine.

  5. Apply firm pressure to the brake pedal.
  6. Use the J 39200 in order to measure the voltage between the EBCM connector terminal 16 and ground.

Is the voltage equal to or greater than the specified voltage?

10.0 V

Go to Step 6

Go to Step 7

6

Inspect the EBCM connector and the EBCM harness connector for the following conditions:

    • Terminal damage
    • Poor terminal contact
    • Terminal corrosion

Are poor terminal contact, terminal corrosion or damaged terminals evident?

--

Go to Step 8

Go to Step 10

7

Repair the open in CKT 17 or 20.

Is the repair complete?

--

Go to Diagnostic System Check

--

8

Replace all the terminals or the connectors that exhibit the following conditions:

    • Poor terminal contact
    • Terminal corrosion
    • Damaged terminal(s).

Is the repair complete?

--

Go to Diagnostic System Check

--

9

Repair the open brake lamp circuit wiring. Refer to Exterior Lights, Cell 110 in Electrical Diagnosis for diagnosis.

Is the repair complete?

--

Go to Diagnostic System Check

--

10

Replace the EBCM.

Is the repair complete?

--

Go to Diagnostic System Check

--

11

The malfunction is intermittent or is not present at this time. Refer to Diagnostic Aids for more information.

Is the action complete?

--

System OK

--