GM Service Manual Online
For 1990-2009 cars only

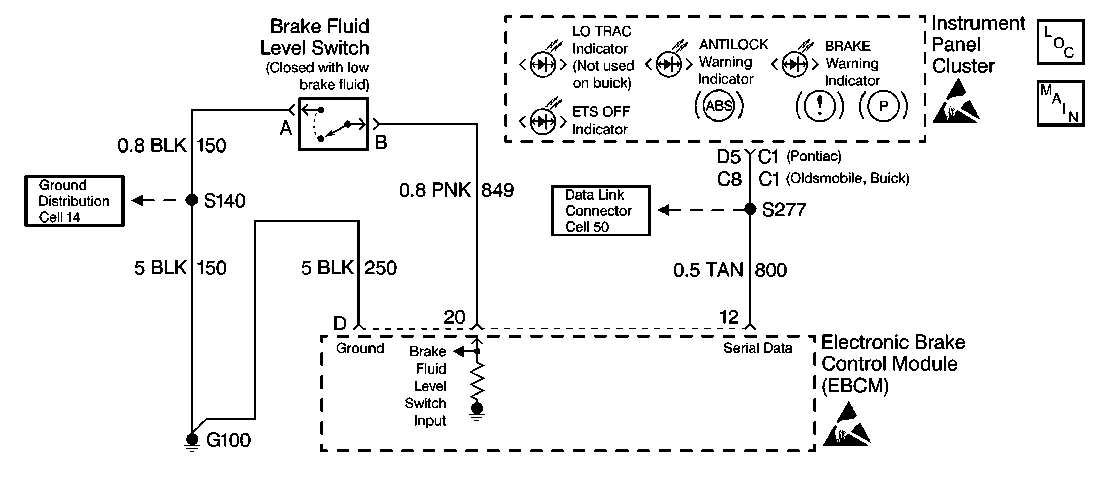
Object Number: 161020  Size: SF
ABS Components
ABS/ETS Schematics

Circuit Description

The serial data communications circuit (CKT 800) transmits messages from one electronic control module to another when interface between systems is necessary. The ABS VI systems depend on information to and from the PCM and IPC for proper operation.

Conditions for Setting the DTC

DTC C1275 will set if either of the following conditions occurs:

    • The vehicle speed is greater than 5 km/h (3 mph) and a malfunction exists in the serial data circuit.
    • The PCM has not broadcasted a serial message for at least 10 seconds.

Action Taken When the DTC Sets

A serial communication failure does not allow the proper warning indicator commands to be sent to the IPC. A malfunction DTC is stored.

Conditions for Clearing the DTC

    • The condition responsible for setting the DTC no longer exists and the Scan Tool Clear DTCs function is used.
    • 100 drive cycles pass with no DTC(s) detected. A drive cycle consists of starting the vehicle, driving the vehicle over 16 km/h (10 mph), stopping and then turning the ignition off.

Diagnostic Aids

When DTC C1275 is current (malfunction in CKT 800), no communication can be established with the scan tool. When the malfunction is removed, DTC C1275 will be stored in system memory.

The following conditions may cause an intermittent malfunction:

    • A poor connection
    • Rubbed-through wire insulation
    • A broken wire inside the insulation

Use the enhanced diagnostic function of the Scan Tool to measure the frequency of the malfunction.

Thoroughly inspect any circuitry that may cause the intermittent complaint for the following conditions:

    • Backed out terminals
    • Improper mating
    • Broken locks
    • Improperly formed or damaged terminals
    • Poor terminal-to-wiring connections
    • Physical damage to the wiring harness

Step

Action

Value(s)

Yes

No

Important: Zero the J 39200 test leads before making any resistance measurements. Refer to the J 39200 user's manual.

1

Was the Diagnostic System Check performed?

--

Go to Step 2

Go to Diagnostic System Check

2

  1. Using the Scan Tool , exit back to the Application Menu.
  2. Select the Body portion of the menu.
  3. Select the IPC.
  4. Select Data Display
  5. Select the IPC To ABS Mode.
  6. Engage the parking brake.

Is the Scan Tool displaying BRAKE T/T ON?

--

Go to Step 3

Go to Instrument Cluster System Check

3

  1. Disconnect the brake fluid level switch harness connector.
  2. Connect a jumper wire such as the J 36169, between brake switch connector terminals A and B (harness side).

Is the Scan Tool displaying BRAKE T/T ON?

--

Go to Step 5

Go to Step 4

4

Replace the EBCM.

Is the repair complete?

--

Go to Diagnostic System Check

--

5

The malfunction is intermittent or is not present at this time. Refer to Diagnostic Aids for more information.

Is the action complete?

--

System OK

--