GM Service Manual Online
For 1990-2009 cars only

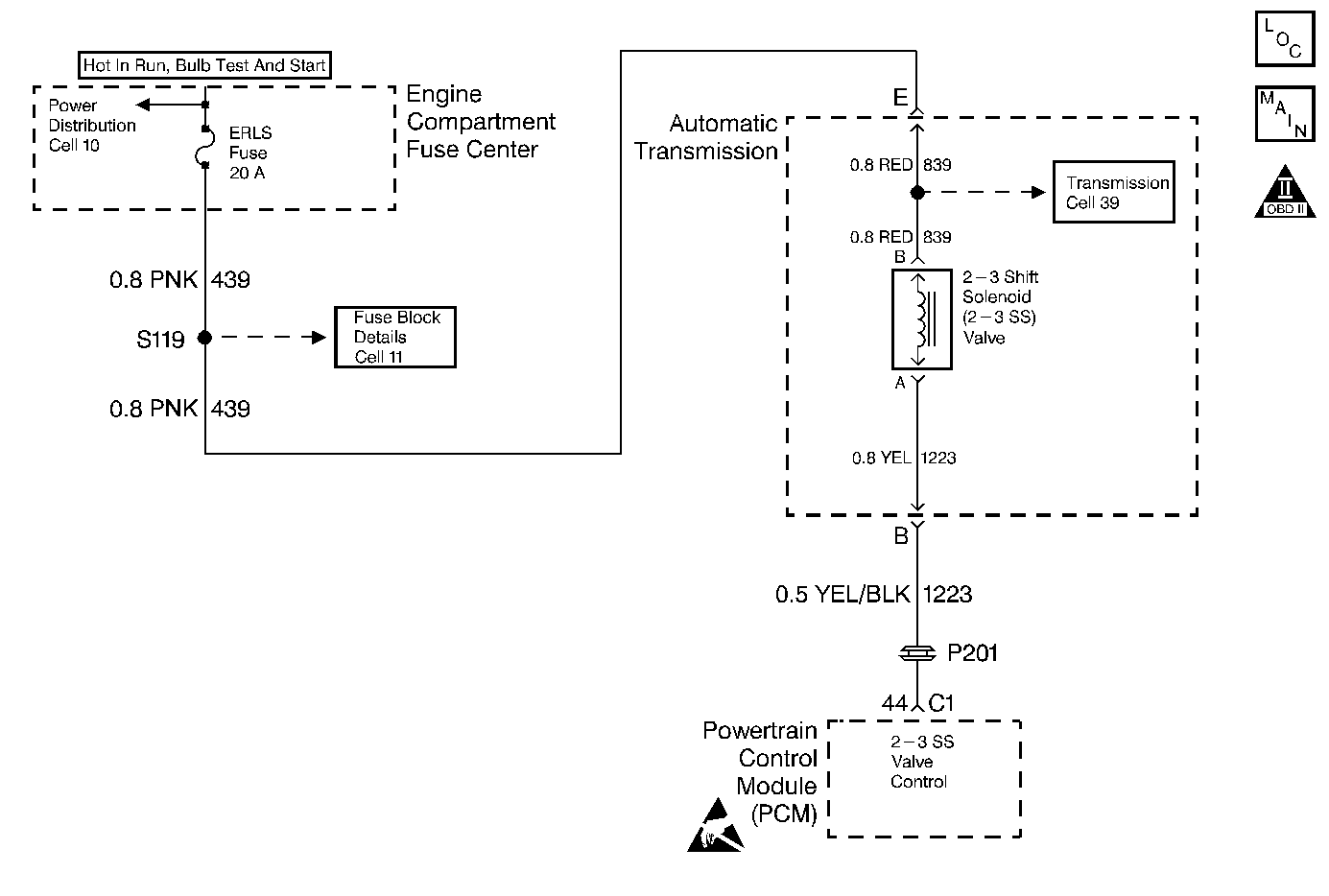
DTC P0758 2-3 Shift Solenoid Circuit Electrical 2.4L Vin T


Object Number: 193614  Size: MF
Automatic Transmission Components 2.4L
Automatic Transmission Controls Schematics 2.4L
OBD II Symbol Description Notice
Handling ESD Sensitive Parts Notice

Circuit Description

The 2-3 Shift Solenoid Valve (2-3 SS Valve) controls the transmission fluid pressure on the 2-3 shift valve. The TCC fuse provides ignition voltage to the solenoid. The Output Driver Module (ODM), within the Powertrain Control Module (PCM), provides ground. The PCM monitors voltage levels at the ODM. When the 2-3 SS Valve is commanded ON, the PCM receives low voltage. When the 2-3 SS Valve is commanded OFF, the PCM receives high voltage.

DTC P0758 sets if the detected voltage is outside the calibration limits. DTC P0758 is a type A DTC.

Conditions for Setting the DTC

    • System voltage is 10-16 volts.
    • The engine speed is greater than 500 RPM.
    • Not in fuel shut off.
    • The PCM commands the solenoid ON and the voltage signal remains high (B+).
    • The PCM commands the solenoid OFF and the voltage signal remains low (0 volts).

All of the above conditions are met for 5 seconds.

Action Taken When the DTC Sets

    • The PCM illuminates the Malfunction Indicator Lamp (MIL).
    • The transmission will default to 3rd gear.
    • The PCM inhibits TCC operation.

Conditions for Clearing the MIL/DTC

    • The PCM turns OFF the MIL after three consecutive trips without a failure reported.
    • A scan tool can clear the DTC from the PCM history. The PCM clears the DTC from the PCM history if the vehicle completes 40 warm-up cycles without a failure reported.
    • The PCM cancels the DTC default actions when the fault no longer exists and the ignition is OFF long enough in order to power down the PCM.

Diagnostic Aids

    • Inspect the wiring at the PCM, the transmission connector, 2-3 shift solenoid connector and all other circuit connecting points for the following conditions:
       - A bent terminal
       - A backed out terminal
       - A damaged terminal
       - Poor terminal tension
       - A chafed wire
       - A broken wire inside the insulation
       - Moisture intrusion
       - Corrosion
    • When diagnosing for an intermittent short or open condition, massage the wiring harness while watching the test equipment for a change.
    • Ensure that the scan tool commanded gear has correct solenoid states and ratio. Refer to Shift Solenoid Valve State and Gear Ratio table.

Test Description

The numbers below refer to the step numbers on the diagnostic table.

  1. This step isolates the fault between the engine harness and the transmission harness.

  2. This step verifies that circuit 1223 is not open or shorted to power.

  3. This step verifies that the solenoid is not open or shorted across its windings, and the transmission harness is not open or shorted.

DTC P0758 2-3 Shift Solenoid -- Electrical (2.4L)

Step

Action

Value(s)

Yes

No

1

Were you sent here from the Powertrain On-Board Diagnostic (OBD) System Check?

--

Go to Step 2

Go to Powertrain On Board Diagnostic (OBD) System Check

2

  1. Install the Scan Tool .
  2. With the engine OFF, turn the ignition switch to the RUN position.
  3. Important: Before clearing the DTCs, use the scan tool in order to record the Freeze Frame and Failure Records for reference. Using the Clear Info function will erase the stored Freeze Frame and Failure Records from the PCM.

  4. Record the DTC Freeze Frame and Failure Records then clear the DTCs.

Are DTCs P0753, P1860 or P0740 set?

--

Go to Step 3

Go to Step 6

3

Remove the ERLS fuse. Inspect the fuse for an open. Refer to General Electrical Diagnosis in Wiring Systems.

Was a condition found and corrected?

--

Go to Step 4

Go to Step 5

4

Repair the short to ground in circuits 439/839. Refer to General Electrical Diagnosis in Wiring Systems.

Was a condition found and corrected?

--

Go to Step 21

--

5

Repair open in circuits 439/839. Refer to General Electrical Diagnosis in Wiring Systems.

Was a condition found and corrected?

--

Go to Step 21

--

6

  1. Turn the ignition switch OFF.
  2. Disconnect the Automatic Transmission 7-way connector.
  3. Install the J 38835 Transmission Electrical Jumper to the engine harness connector.
  4. Connect a test lamp from terminal E to terminal B of the jumper using a J 35616-A Connector Test Adapter Kit.
  5. Important: Additional DTCs will set.

  6. With the engine OFF, turn the ignition switch to the RUN position.

Is the test lamp ON?

--

Go to Step 7

Go to Step 8

7

Inspect circuit 1223 of engine harness for a short to ground. Refer to General Electrical Diagnosis in Wiring Systems.

Was a condition found and corrected?

--

Go to Step 21

Go to Step 19

8

Use the scan tool to cycle the 2-3 solenoid ON and OFF three times.

Does the test lamp cycle ON and OFF as you commanded?

--

Go to Step 11

Go to Step 9

9

Inspect circuit 1223 of engine harness for an open. Refer to General Electrical Diagnosis in Wiring Systems.

Was a condition found and corrected?

--

Go to Step 21

Go to Step 10

10

Inspect circuit 1223 of engine harness for a short to power. Refer to General Electrical Diagnosis in Wiring Systems.

Was a condition found and corrected?

--

Go to Step 21

Go to Step 19

11

  1. Turn the ignition OFF.
  2. Disconnect the Transmission Jumper from the engine harness.
  3. Connect the J 38835 Transmission Electrical Jumper to the Automatic Transmission 7-way connector.
  4. Connect a J 39200 Digital Multimeter (DMM) from terminal E to terminal B of the jumper.

Is the measured resistance within the specified range?

19 ohms to 31 ohms

Go to Step 15

Go to Step 12

12

Is the resistance greater than the specified value?

31 ohms

Go to Step 13

Go to Step 15

13

Inspect the RED wire circuit 839 and the YEL wire circuit 1223 of the transmission harness for an open. Refer to General Electrical Diagnosis in Wiring Systems.

Was a condition found?

--

Go to Step 14

Go to Step 18

14

Replace the Automatic Transmission Wiring Harness.

Refer to Solenoids and Wiring Harness Replacement.

Is the replacement complete?

--

Go to Step 21

--

15

Connect a J 39200 Digital Multimeter from terminal B of the jumper to ground.

Is the measured resistance less than the specified value?

100 ohms

Go to Step 16

Go to Step 18

16

Inspect the YEL wire circuit 1223 of the transmission harness for a short to ground.

Was a condition found?

--

Go to Step 17

Go to Step 18

17

Replace the Automatic Transmission Wiring Harness.

Refer to Solenoids and Wiring Harness Replacement.

Is the replacement complete?

--

Go to Step 21

--

18

Replace the 2-3 Shift Solenoid. Refer to Solenoids and Wiring Harness Replacement.

Is the replacement complete?

--

Go to Step 21

--

19

Inspect PCM connector C2 (BLK) for bent, damaged or backed out connector pins.

Was a condition found and corrected?

--

Go to Step 21

Go to Step 20

20

Replace the PCM. Refer to Powertrain Control Module Replacement/Programming in Engine Controls.

Is the replacement complete?

--

Go to Step 21

--

21

Perform the following procedure to verify your repair:

  1. Use the scan tool to clear DTC information.
  2. Operate the vehicle under the following conditions:
  3. • The engine speed is more than 500 RPM for 5 seconds.
    • The vehicle is not in fuel shut off.
    • The system voltage is 10-16 volts.
    • When the 2-3 SS Valve is commanded ON, the voltage signal decreases to zero.
    • When the 2-3 SS Valve is commanded OFF, the voltage signal increases to B+.
    • All of the above conditions are met for 5 seconds.
  4. Select Specific DTC.
  5. Enter DTC P0758.

Has the test run and passed?

--

System OK

Go to Step 1

DTC P0758 2-3 Shift Solenoid Circuit Electrical 3.1L Vin M


Object Number: 193614  Size: MF
Automatic Transmission Components 3.1L
Automatic Transmission Controls Schematics 3.1L
OBD II Symbol Description Notice
Handling ESD Sensitive Parts Notice

Circuit Description

The 2-3 Shift Solenoid Valve (2-3 SS Valve) controls the transmission fluid pressure on the 2-3 shift valve. The TCC fuse provides ignition voltage to the solenoid. The Output Driver Module (ODM), within the Powertrain Control Module (PCM), provides ground. The PCM monitors voltage levels at the ODM. When the 2-3 SS Valve is commanded ON, the PCM receives low voltage. When the 2-3 SS Valve is commanded OFF, the PCM receives high voltage.

DTC P0758 sets if the detected voltage is outside the calibration limits. DTC P0758 is a type A DTC.

Conditions for Setting the DTC

    • System voltage is 10-16 volts.
    • The engine speed is greater than 500 RPM.
    • Not in fuel shut off.
    • The PCM commands the solenoid ON and the voltage signal remains high (B+).
    • The PCM commands the solenoid OFF and the voltage signal remains low (0 volts).

All of the above conditions are met for 5 seconds.

Action Taken When the DTC Sets

    • The PCM illuminates the Malfunction Indicator Lamp (MIL).
    • The transmission will default to 3rd gear.
    • The PCM inhibits TCC operation.

Conditions for Clearing the MIL/DTC

    • The PCM turns OFF the MIL after three consecutive trips without a failure reported.
    • A scan tool can clear the DTC from the PCM history. The PCM clears the DTC from the PCM history if the vehicle completes 40 warm-up cycles without a failure reported.
    • The PCM cancels the DTC default actions when the fault no longer exists and the ignition is OFF long enough in order to power down the PCM.

Diagnostic Aids

    • Inspect the wiring at the PCM, the transmission connector, 2-3 shift solenoid connector and all other circuit connecting points for the following conditions:
       - A bent terminal
       - A backed out terminal
       - A damaged terminal
       - Poor terminal tension
       - A chafed wire
       - A broken wire inside the insulation
       - Moisture intrusion
       - Corrosion
    • When diagnosing for an intermittent short or open condition, massage the wiring harness while watching the test equipment for a change.
    • Ensure that the scan tool commanded gear has correct solenoid states and ratio. Refer to Shift Solenoid Valve State and Gear Ratio table.

Test Description

The numbers below refer to the step numbers on the diagnostic table.

  1. This step isolates the fault between the engine harness and the transmission harness.

  2. This step verifies that circuit 1223 is not open or shorted to power.

  3. This step verifies that the solenoid is not open or shorted across its windings, and that the transmission harness is not open or shorted.

DTC P0758 2-3 Shift Solenoid Circuit -- Electrical (3.1L)

Step

Action

Value(s)

Yes

No

1

Were you sent here from the Powertrain On-Board Diagnostic (OBD) System Check?

--

Go to Step 2

Go to Powertrain On Board Diagnostic (OBD) System Check

2

  1. Install the Scan Tool .
  2. With the engine OFF, turn the ignition switch to the RUN position.
  3. Important: Before clearing the DTCs, use the scan tool in order to record the Freeze Frame and Failure Records for reference. Using the Clear Info function will erase the stored Freeze Frame and Failure Records from the PCM.

  4. Record the DTC Freeze Frame and Failure Records then clear the DTCs.

Are DTCs P0753, P1860 or P0740 set?

--

Go to Step 3

Go to Step 6

3

Remove the ERLS fuse. Inspect the fuse for an open. Refer to General Electrical Diagnosis in Wiring Systems.

Was a condition found and corrected?

--

Go to Step 4

Go to Step 5

4

Repair the short to ground in circuits 439/839. Refer to General Electrical Diagnosis in Wiring Systems.

Was a condition found and corrected?

--

Go to Step 21

--

5

Repair open in circuits 439/839. Refer to General Electrical Diagnosis in Wiring Systems.

Was a condition found and corrected?

--

Go to Step 21

--

6

  1. Turn the ignition switch OFF.
  2. Disconnect the Automatic Transmission 7-way connector.
  3. Install the J 38835 Transmission Electrical Jumper to the engine harness connector.
  4. Connect a test lamp from terminal E to terminal B of the jumper using a J 35616-A Connector Test Adapter Kit.
  5. Important: Additional DTCs will set.

  6. With the engine OFF, turn the ignition switch to the RUN position.

Is the test lamp ON?

--

Go to Step 7

Go to Step 8

7

Inspect circuit 1223 of engine harness for a short to ground. Refer to General Electrical Diagnosis in Wiring Systems.

Was a condition found and corrected?

--

Go to Step 21

Go to Step 19

8

Use the scan tool to cycle the 2-3 Solenoid ON and OFF three times.

Does the test lamp cycle ON and OFF as you commanded?

--

Go to Step 11

Go to Step 9

9

Inspect circuit 1223 of engine harness for an open. Refer to General Electrical Diagnosis in Wiring Systems.

Was a condition found and corrected?

--

Go to Step 21

Go to Step 10

10

Inspect circuit 1223 of engine harness for a short to power. Refer to General Electrical Diagnosis in Wiring Systems.

Was a condition found and corrected?

--

Go to Step 21

Go to Step 19

11

  1. Turn the ignition OFF.
  2. Disconnect the Transmission Jumper from the engine harness.
  3. Connect the J 38835 Transmission Electrical Jumper to the Automatic Transmission 7-way connector.
  4. Connect a J 39200 Digital Multimeter (DMM) from terminal E to terminal B of the jumper.

Is the measured resistance within the specified range?

19 ohms to 31 ohms

Go to Step 15

Go to Step 12

12

Is the resistance greater than the specified value?

31 ohms

Go to Step 13

Go to Step 15

13

Inspect the RED wire circuit 839 and the YEL wire circuit 1223 of the transmission harness for an open. Refer to General Electrical Diagnosis in Wiring Systems.

Was a condition found?

--

Go to Step 14

Go to Step 18

14

Replace the Automatic Transmission Wiring Harness.

Refer to Solenoids and Wiring Harness Replacement.

Is the replacement complete?

--

Go to Step 21

--

15

Connect a J 39200 Digital Multimeter from terminal B of the jumper to ground.

Is the measured resistance less than the specified value?

100 ohms

Go to Step 16

Go to Step 18

16

Inspect the YEL wire circuit 1223 of the transmission harness for a short to ground.

Was a condition found?

--

Go to Step 17

Go to Step 18

17

Replace the Automatic Transmission Wiring Harness.

Refer to Solenoids and Wiring Harness Replacement.

Is the replacement complete?

--

Go to Step 21

--

18

Replace the 2-3 Shift Solenoid. Refer to Solenoids and Wiring Harness Replacement.

Is the replacement complete?

--

Go to Step 21

--

19

Inspect PCM connector C1 (Blue) for bent, damaged or backed out connector pins.

Was a condition found and corrected?

--

Go to Step 21

Go to Step 20

20

Replace the PCM. Refer to Powertrain Control Module Replacement/Programming in Engine Controls.

Is the replacement complete?

--

Go to Step 21

--

21

Perform the following procedure to verify your repair:

  1. Use the scan tool to clear DTC information.
  2. Operate the vehicle under the following conditions:
  3. • The system voltage is 10-16 volts.
    • The engine speed is more than 500 RPM.
    • The vehicle is not in fuel shut off.
    • When the 2-3 SS Valve is commanded ON, the voltage signal decreases to zero.
    • When the 2-3 SS Valve is commanded OFF, the voltage signal increases to B+.
    • All of the above conditions are met for 5 seconds.
  4. Select Specific DTC.
  5. Enter DTC P0758.

Has the test run and passed?

--

System OK

Go to Step 1