GM Service Manual Online
For 1990-2009 cars only

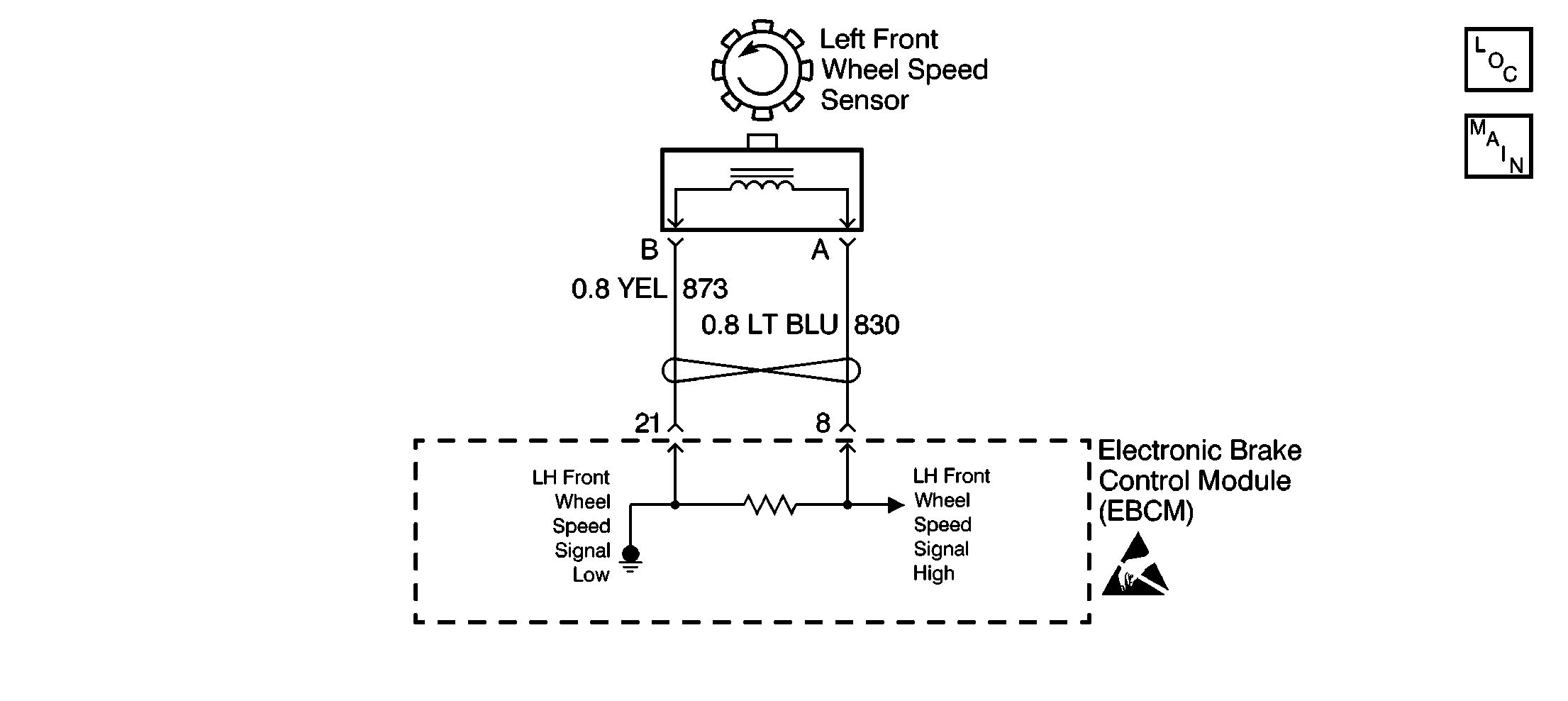
Object Number: 160974  Size: SF
ABS Components
ABS/ETS Schematics

Circuit Description

As a toothed ring passes by the wheel speed sensor, changes in the electromagnetic field cause the wheel speed sensor to produce an AC voltage signal. The frequency of the AC voltage signal is proportional to the wheel speed. The amplitude of the AC voltage signal is directly related to wheel speed and the proximity of the wheel speed sensor to the toothed ring. The proximity of the wheel speed sensor to the toothed ring is also referred to as the air gap.

Conditions for Setting the DTC

DTC C1225 can set when the brake is off.

DTC C1225 detects a situation in which the left front wheel acceleration or deceleration is beyond specified limits.

Action Taken When the DTC Sets

    • A malfunction DTC stores.
    • The ABS disables.
    • The ABS warning indicator turns on.

Conditions for Clearing the DTC

    • The condition responsible for setting the DTC no longer exists and the Scan Tool Clear DTCs function is used.
    • 100 drive cycles pass with no DTC(s) detected. A drive cycle consists of starting the vehicle, driving the vehicle over 16 km/h (10 mph), stopping and then turning the ignition OFF.

Diagnostic Aids

The following conditions may cause an intermittent malfunction:

    • A poor connection
    • Rubbed-through wire insulation
    • A broken wire inside the insulation

Use the enhanced diagnostic function of the Scan Tool in order to measure the frequency of the malfunction.

If the customer's comments reflect that the amber ABS warning indicator is on only during moist environmental changes (rain, snow, vehicle wash), inspect all the wheel speed sensor circuitry for signs of water intrusion. If the DTC is not current, clear all DTCs and simulate the effects of water intrusion by using the following procedure:

  1. Spray the suspected area with a five percent saltwater solution.
  2. Add two teaspoons of salt to twelve ounces of water to make a five percent saltwater solution.

  3. Test drive the vehicle over various road surfaces (bumps, turns, etc.) above 24 km/h (15 mph) for at least 30 seconds.
  4. If the DTC returns, replace the suspected harness.

Thoroughly inspect any circuitry that may be causing the intermittent complaint for the following conditions:

    • Backed out terminals
    • Improper mating
    • Broken locks
    • Improperly formed or damaged terminals
    • Poor terminal-to-wiring connections
    • Physical damage to the wiring harness

Resistance of the wheel speed sensor will increase with an increase in sensor temperature.

Use the following procedure when replacing a wheel speed sensor or harness:

  1. Inspect the wheel speed sensor terminals and harness connector for corrosion and/or water intrusion.
  2. Replace the wheel speed sensor and jumper harness if evidence of corrosion or water intrusion exists.
  3. Refer to On-Vehicle Service.

Step

Action

Value(s)

Yes

No

Important: Zero the J 39200 test leads before making any resistance measurements. Refer to the J 39200 user's manual.

Important: Difficulty may occur when trying to locate intermittent malfunctions in the wheel speed sensor circuit.

Do not disturb any of the electrical connections. Change the electrical connections only when instructed to do so by a step in the diagnostic table.

Changing the electrical connections at the correct time will ensure that an intermittent electrical connection will not be corrected until the source of the malfunction is found.

1

Was the Diagnostic System Check performed?

--

Go to Step 2

Go to Diagnostic System Check

2

  1. Turn the ignition switch to the OFF position.
  2. Inspect the left front wheel speed sensor and the left front wheel speed sensor harness connector for physical damage.

Is there any physical damage?

--

Go to Step 16

Go to Step 3

3

Inspect the following components for physical damage:

    • The left front wheel speed sensor jumper harness
    • The left front wheel speed sensor jumper harness connectors

Is there any physical damage?

--

Go to Step 15

Go to Step 4

4

  1. Disconnect the left front wheel speed sensor directly at the left front wheel speed sensor connector.
  2. Use the J 39200 in order to measure the resistance between the left front wheel speed sensor connector terminal A and the left front wheel speed sensor connector terminal B.

Is the resistance within the specified range?

1530-1870 ohms

Go to Step 5

Go to Step 16

5

  1. Select the A/C VOLTAGE scale on the J 39200 .
  2. Spin the left front wheel by hand while observing the voltage reading on the J 39200 .

Is the voltage equal to or greater than the specified voltage?

100 mV

Go to Step 6

Go to Step 16

6

  1. Disconnect the EBCM connector.
  2. Use the J 39200 in order to measure the resistance between the EBCM connector terminal 21 and the EBCM connector terminal 8.

Is the resistance within the specified range?

OL (Infinite)

Go to Step 7

Go to Step 8

7

  1. Inspect the EBCM connector for the following conditions:
  2. • Damage
    • Poor terminal contact
    • Terminal corrosion
    • (These conditions could result in a short between the EBCM connector terminal 21 and the EBCM connector terminal 8.)
  3. Inspect the remaining terminals of the EBCM connector for the following conditions:
  4. • Damage
    • Poor terminal contact
    • Terminal corrosion

Are there signs of poor terminal contact, corrosion, or damaged terminals?

--

Go to Step 12

Go to Step 8

8

Inspect the wiring of CKT 873 and CKT 830 for signs of damage that may cause a short between CKT 873 and CKT 830.

Are there any signs of damaged wiring?

--

Go to Step 13

Go to Step 9

9

Inspect the harness connectors of CKT 873 and CKT 830 for signs of damage that may cause a short between CKT 873 and CKT 830.

Are there any signs of damaged connectors?

--

Go to Step 14

Go to Step 10

10

  1. Reconnect the EBCM harness connector.
  2. Reconnect the left front wheel speed sensor harness connector.
  3. Install a Scan Tool .
  4. Test drive the vehicle at a speed above 24 km/h (15 mph) for at least 30 seconds.
  5. Use the Scan Tool in order to read the DTCs.

Does DTC C1225 set as a current DTC?

--

Go to Step 11

Go to Step 18

11

  1. Select Data List on the Scan Tool .
  2. Monitor the wheel speed sensor speeds.
  3. Drive the vehicle in the following manner:
  4. 3.1. Slowly accelerate to 65 km/h (40 mph).
    3.2. Slowly decelerate to 0 km/h (0 mph).

Is the speed of the left front wheel speed sensor constantly higher than the speed of the three remaining wheel speed sensors?

--

Go to Step 16

Go to Step 17

12

Replace all of the terminals that exhibit signs of poor terminal contact, corrosion, or damaged terminal(s).

Is the repair complete?

--

Go to Diagnostic System Check

--

13

Replace the damaged wiring harness that causes the short between CKT 873 and CKT 830.

Is the repair complete?

--

Go to Diagnostic System Check

--

14

Replace the damaged wiring harness connectors that cause the short between CKT 873 and CKT 830.

Is the repair complete?

--

Go to Diagnostic System Check

--

15

Replace the left front wheel speed sensor harness.

Is the repair complete?

--

Go to Diagnostic System Check

--

16

Replace the left front wheel speed sensor.

Is the repair complete?

--

Go to Diagnostic System Check

--

17

Replace the EBCM.

Is the repair complete?

--

Go to Diagnostic System Check

--

18

The malfunction is intermittent or is not present at this time.

Refer to Diagnostic Aids for more information.

--

--

--