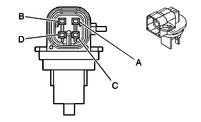
| Table 1: | C101 |
| Table 2: | C102 |
| Table 3: | C130 (LA1) |
| Table 4: | C130 (L61) |
| Table 5: | C200 |
| Table 6: | C206 |
| Table 7: | C207 |
| Table 8: | C300 |
| Table 9: | C301 |
| Table 10: | C306 |
| Table 11: | C400 |
| Table 12: | C411 |
| Table 13: | C412 |
| Table 14: | C413 (Wheel Speed Sensors (WSS)) |
| Table 15: | C413 (Canister Vent) |
| Table 16: | C413 (Fuel Systems) |
| Table 17: | C500 |
| Table 18: | C501 |
| Table 19: | C600 |
| Table 20: | C700 (-A31) |
| Table 21: | C700 (w/A31) |
| Table 22: | C800 (w/A31) |
| Table 23: | C800 (-A31) |
|
| ||||||||||||||
|---|---|---|---|---|---|---|---|---|---|---|---|---|---|---|---|
Connector Part Information |
| Connector Part Information |
| ||||||||||||
Pin | Wire Color | Circuit No. | Function | Pin | Wire Color | Circuit No. | Function | ||||||||
A | -- | -- | Not Used | A | -- | -- | Not Used | ||||||||
B | DK GRN/ WHT | 817 | Vehicle Speed Signal | B | DK GRN/ WHT | 817 | Vehicle Speed Signal | ||||||||
C | GRY/BLK | 87 | Cruise Control Switch Signal | C | GRY/BLK | 87 | Cruise Control Switch Signal | ||||||||
D | DK BLU | 84 | Cruise Control Set/Coast Switch Signal | D | DK BLU | 84 | Cruise Control Set/Coast Switch Signal | ||||||||
E | RED | 228 | Windshield Washer Pump Control | E | RED | 228 | Windshield Washer Pump Control | ||||||||
F | BLK/WHT | 99 | Windshield Washer Fluid Level Signal | F | BLK/WHT | 99 | Windshield Washer Fluid Level Signal | ||||||||
G | YEL/BLK | 68 | Low Coolant Level Indicator Control | G | YEL/BLK | 68 | Low Coolant Level Indicator Control | ||||||||
H | GRY | 397 | Cruise Control On Switch Signal | H | GRY | 397 | Cruise Control On Switch Signal | ||||||||
J-K | -- | -- | Not Used | J-K | -- | -- | Not Used | ||||||||
|
| ||||||||||||||
|---|---|---|---|---|---|---|---|---|---|---|---|---|---|---|---|
Connector Part Information |
| Connector Part Information |
| ||||||||||||
Pin | Wire Color | Circuit No. | Function | Pin | Wire Color | Circuit No. | Function | ||||||||
A | LT GRN | 1222 | (1-2 Shift Solenoid) Valve Control | A | LT GRN | 1222 | (1-2 Shift Solenoid) Valve Control | ||||||||
B | YEL/BLK | 1223 | (2-3 Shift Solenoid) Valve Control | B | YEL | 1223 | (2-3 Shift Solenoid) Valve Control | ||||||||
C | RED/BLK | 1228 | PC Solenoid Valve High Control (Sol A.) | C | PPL | 1228 | PC Solenoid Valve High Control (Sol A.) | ||||||||
D | LT BLU/ WHT | 1229 | PC Solenoid Valve Low Control (Sol A.) | D | LT BLU | 1229 | PC Solenoid Valve Low Control (Sol A.) | ||||||||
E | PNK | 1039 | Ignition 1 Voltage | E | RED | 839 | Ignition 1 Voltage | ||||||||
F-K | -- | -- | Not Used | F-K | -- | -- | Not Used | ||||||||
L | YEL/BLK | 1227 | TFT Sensor Signal | L | BRN | 1227 | TFT Sensor Signal | ||||||||
M | WHT/BLK | 2762 | Low Reference | M | GRY | 452 | Low Reference | ||||||||
N | PNK | 1224 | Transmission Fluid Pressure Switch Signal A | N | PNK | 1224 | Transmission Fluid Pressure Switch Signal A | ||||||||
P | RED | 1226 | Transmission Fluid Pressure Switch Signal C | P | ORN | 1226 | Transmission Fluid Pressure Switch Signal C | ||||||||
R | DK BLU | 1225 | Transmission Fluid Pressure Switch Signal B | R | DK BLU | 1225 | Transmission Fluid Pressure Switch Signal B | ||||||||
S | RED/BLK | 1230 | AT ISS High Signal | S | BLK | 1230 | AT ISS High Signal | ||||||||
T | BRN | 418 | TCC PWM Solenoid Valve Control | T | TAN | 418 | TCC PWM Solenoid Valve Control | ||||||||
U | YEL | 657 | TCC Release Switch Signal | U | WHT | 1804 | TCC Release Switch Signal | ||||||||
V | DK BLU/ WHT | 1231 | AT ISS Low Signal | V | DK GRN | 1231 | AT ISS Low Signal | ||||||||
W | -- | -- | Not Used | W | -- | -- | Not Used | ||||||||
|
| ||||||||||||||
|---|---|---|---|---|---|---|---|---|---|---|---|---|---|---|---|
Connector Part Information |
| Connector Part Information |
| ||||||||||||
Pin | Wire Color | Circuit No. | Function | Pin | Wire Color | Circuit No. | Function | ||||||||
A | PNK | 839 | Ignition 1 Voltage | A | PNK | 639 | Ignition 1 Voltage | ||||||||
B | YEL | 410 | ECT Sensor Signal | B | YEL | 410 | ECT Sensor Signal | ||||||||
C | BLK | 1744 | Fuel Injector 1 Control | C | BLK | 1744 | Fuel Injector 1 Control | ||||||||
D | LT GRN/ BLK | 1745 | Fuel Injector 2 Control | D | LT GRN/ BLK | 1745 | Fuel Injector 2 Control | ||||||||
E | PNK/BLK | 1746 | Fuel Injector 3 Control | E | PNK/BLK | 1746 | Fuel Injector 3 Control | ||||||||
F | LT BLU/ BLK | 844 | Fuel Injector 4 Control | F | LT BLU/ BLK | 844 | Fuel Injector 4 Control | ||||||||
G | BLK/WHT | 845 | Fuel Injector 5 Control | G | BLK/WHT | 845 | Fuel Injector 5 Control | ||||||||
H | YEL/BLK | 846 | Fuel Injector 6 Control | H | YEL/BLK | 846 | Fuel Injector 6 Control | ||||||||
J | -- | -- | Not Used | J | -- | -- | Not Used | ||||||||
K | BRN | 2704 | 5 Volt Reference | K | GRY | 2704 | 5 Volt Reference | ||||||||
L | ORN/BLK | 469 | Low Reference | L | ORN/BLK | 469 | Low Reference | ||||||||
M | LT GRN | 432 | MAP Sensor Signal | M | LT GRN | 432 | MAP Sensor Signal | ||||||||
N | RED/WHT | 812 | 12 Volt Reference | N | RED/WHT | 812 | 12 Volt Reference | ||||||||
P | BLK | 407 | Low Reference | P | BLK | 407 | Low Reference | ||||||||
R | BRN/WHT | 633 | CMP Sensor Signal | R | BRN/WHT | 633 | CMP Sensor Signal | ||||||||
S | -- | -- | Not Used | S | -- | -- | Not Used | ||||||||
|
| ||||||||||||||
|---|---|---|---|---|---|---|---|---|---|---|---|---|---|---|---|
Connector Part Information |
| Connector Part Information |
| ||||||||||||
Pin | Wire Color | Circuit No. | Function | Pin | Wire Color | Circuit No. | Function | ||||||||
A | BLK | 1744 | Fuel Injector 1 Control | A | BLK | 1744 | Fuel Injector 1 Control | ||||||||
B | LT GRN/ BLK | 1745 | Fuel Injector 2 Control | B | LT GRN/ BLK | 1745 | Fuel Injector 2 Control | ||||||||
C | PNK/ BLK | 1746 | Fuel Injector 3 Control | C | PNK/ BLK | 1746 | Fuel Injector 3 Control | ||||||||
D | LT BLU/ BLK | 844 | Fuel Injector 4 Control | D | LT BLU/ BLK | 844 | Fuel Injector 4 Control | ||||||||
E | PNK | 839 | Ignition 1 Voltage | E | PNK | 139 | Ignition 1 Voltage | ||||||||
F | ORN/ BLK | 469 | Low Reference | F | ORN/ BLK | 469 | Low Reference | ||||||||
G | LT GRN | 432 | MAP Sensor Signal | G | LT GRN | 432 | MAP Sensor Signal | ||||||||
H | GRY | 2704 | 5 Volt Reference | H | GRY | 2704 | 5 Volt Reference | ||||||||
|
| ||||||||||||||
|---|---|---|---|---|---|---|---|---|---|---|---|---|---|---|---|
Connector Part Information |
| Connector Part Information |
| ||||||||||||
Pin | Wire Color | Circuit No. | Function | Pin | Wire Color | Circuit No. | Function | ||||||||
A1 | PPL | 1807 | Class 2 Serial Data | A1 | PPL | 1807 | Class 2 Serial Data | ||||||||
A2-A3 | -- | -- | Not Used | A2-A3 | -- | -- | Not Used | ||||||||
A4 | BLK | 250 | Ground (LA1) | A4 | BLK | 250 | Ground | ||||||||
A5-A6 | -- | -- | Not Used | A5-A6 | -- | -- | Not Used | ||||||||
A7 | ORN/BLK | 556 | Low Reference | A7 | ORN/BLK | 556 | Low Reference | ||||||||
A8 | GRY | 1056 | Steering Wheel Position Sensor 5V Reference Voltage | A8 | GRY | 1056 | Steering Wheel Position Sensor 5V Reference Voltage | ||||||||
A9 | LT BLU | 1059 | Steering Wheel Position Sensor Signal | A9 | LT BLU | 1059 | Steering Wheel Position Sensor Signal | ||||||||
B1 | BRN/WHT | 379 | CPP Switch Signal (M86) | B1 | BRN/WHT | 379 | CPP Switch Signal (M86) | ||||||||
B1 | -- | -- | Not Used(MN4/MN5) | B1 | -- | -- | Not Used(MN4/MN5) | ||||||||
B2 | BLK/WHT | 451 | Ground | B2 | BLK/WHT | 451 | Ground | ||||||||
B3 | DK GRN/ WHT | 817 | Vehicle Speed Signal | B3 | DK GRN/ WHT | 817 | Vehicle Speed Signal | ||||||||
B4 | -- | -- | Not Used | B4 | -- | -- | Not Used | ||||||||
B5 | LT GRN | 24 | Backup Lamp Supply Voltage | B5 | LT GRN | 24 | Backup Lamp Supply Voltage | ||||||||
B6 | -- | -- | Not Used | B6 | -- | -- | Not Used | ||||||||
B7 | PPL | 1807 | Class 2 Serial Data | B7 | PPL | 1807 | Class 2 Serial Data | ||||||||
B8 | BRN/WHT | 419 | MIL Control | B8 | BRN/WHT | 419 | MIL Control | ||||||||
B9 | PPL | 1500 | Ignition 0 Voltage | B9 | PPL | 1500 | Ignition 0 Voltage | ||||||||
|
| ||||||||||||||
|---|---|---|---|---|---|---|---|---|---|---|---|---|---|---|---|
Connector Part Information |
| Connector Part Information |
| ||||||||||||
Pin | Wire Color | Circuit No. | Function | Pin | Wire Color | Circuit No. | Function | ||||||||
A | BRN | 441 | Ignition 3 Voltage | A | BRN | 441 | Ignition 3 Voltage | ||||||||
B | DK BLU | 84 | Cruise Control Set/Coast Switch Signal | B | DK BLU | 84 | Cruise Control Set/Coast Switch Signal | ||||||||
C | GRY/BLK | 87 | Cruise Control Resume/Accel Switch Signal | C | GRY/BLK | 87 | Cruise Control Resume/Accel Switch Signal | ||||||||
D | GRY | 397 | Cruise Control On Switch Signal | D | GRY | 397 | Cruise Control On Switch Signal | ||||||||
E | BRN | 1244 | Instrument Panel Lamp Supply Voltage - 2 | E | BRN | 1244 | Instrument Panel Lamp Supply Voltage - 2 | ||||||||
F | BLK | 150 | Ground | F | BLK | 150 | Ground | ||||||||
G | YEL | 314 | Radio On Signal - Pontiac | G | PNK | 314 | Radio On Signal - Pontiac | ||||||||
G | YEL | 314 | Radio On Signal | G | -- | -- | Not Used - Oldsmobile | ||||||||
H | LT GRN | 1011 | Remote Radio Control Signal | H | LT GRN | 1011 | Remote Radio Control Signal | ||||||||
|
| ||||||||||||||
|---|---|---|---|---|---|---|---|---|---|---|---|---|---|---|---|
Connector Part Information |
| Connector Part Information |
| ||||||||||||
Pin | Wire Color | Circuit No. | Function | Pin | Wire Color | Circuit No. | Function | ||||||||
A | BRN | 441 | Ignition 3 Voltage | A | BRN | 441 | Ignition 3 Voltage | ||||||||
B | DK BLU | 84 | Cruise Control Set/Coast Switch Signal | B | DK BLU | 84 | Cruise Control Set/Coast Switch Signal | ||||||||
C | GRY/BLK | 87 | Cruise Control Resume/Accel Switch Signal | C | GRY/BLK | 87 | Cruise Control Resume/Accel Switch Signal | ||||||||
D | GRY | 397 | Cruise Control On Switch Signal | D | GRY | 397 | Cruise Control On Switch Signal | ||||||||
E | BRN | 1244 | Instrument Panel Lamp Supply Voltage - 2 | E | BRN/BLK | 1244 | Instrument Panel Lamp Supply Voltage - 2 | ||||||||
F | BLK | 150 | Ground | F | BLK | 150 | Ground | ||||||||
G | YEL | 314 | Radio On Signal - Pontiac | G | YEL | 314 | Radio On Signal - Pontiac | ||||||||
H | LT GRN | 1011 | Remote Radio Control Signal | H | LT GRN | 1011 | Remote Radio Control Signal | ||||||||
|
| ||||||||||||||
|---|---|---|---|---|---|---|---|---|---|---|---|---|---|---|---|
Connector Part Information |
| Connector Part Information |
| ||||||||||||
Pin | Wire Color | Circuit No. | Function | Pin | Wire Color | Circuit No. | Function | ||||||||
A | BRN | 882 | Right Rear Wheel Speed Sensor Signal | A | BRN | 882 | Right Rear Wheel Speed Sensor Signal | ||||||||
B | WHT | 883 | Right Rear Wheel Speed Sensor Low Reference | B | WHT | 883 | Right Rear Wheel Speed Sensor Low Reference | ||||||||
C | BLK | 884 | Left Rear Wheel Speed Sensor Signal | C | BLK | 884 | Left Rear Wheel Speed Sensor Signal | ||||||||
D | RED | 885 | Left Rear Wheel Speed Sensor Low Reference | D | RED | 885 | Left Rear Wheel Speed Sensor Low Reference | ||||||||
E | BLK | 2759 | Low Reference | E | BLK | 2759 | Low Reference | ||||||||
F | GRY | 2709 | 5 Volt Reference | F | GRY | 2709 | 5 Volt Reference | ||||||||
G | DK GRN | 890 | Fuel Tank Pressure Sensor Signal | G | DK GRN | 890 | Fuel Tank Pressure Sensor Signal | ||||||||
H | LT GRN | 275 | Park Neutral Position Switch Park Signal | H | LT GRN | 275 | Park Neutral Position Switch Park Signal | ||||||||
J | PPL | 1589 | Fuel Level Sensor Signal | J | PPL | 1589 | Fuel Level Sensor Signal | ||||||||
K | WHT | 1310 | EVAP Canister Vent Solenoid Control | K | WHT | 1310 | EVAP Canister Vent Solenoid Control | ||||||||
|
| ||||||||||||||
|---|---|---|---|---|---|---|---|---|---|---|---|---|---|---|---|
Connector Part Information |
| Connector Part Information |
| ||||||||||||
Pin | Wire Color | Circuit No. | Function | Pin | Wire Color | Circuit No. | Function | ||||||||
A | PNK | 541 | Ignition 3 Voltage | A | BRN | 541 | Ignition 3 Voltage | ||||||||
B | -- | -- | Not Used | B | -- | -- | Not Used | ||||||||
C | BLK | 750 | Ground | C | BLK | 750 | Ground | ||||||||
|
| ||||||||||||||
|---|---|---|---|---|---|---|---|---|---|---|---|---|---|---|---|
Connector Part Information |
| Connector Part Information |
| ||||||||||||
Pin | Wire Color | Circuit No. | Function | Pin | Wire Color | Circuit No. | Function | ||||||||
A | ORN | 540 | Battery Positive Voltage | A | ORN | 540 | Battery Positive Voltage | ||||||||
B | BLK | 550 | Ground | B | BLK | 550 | Ground | ||||||||
|
| ||||||||||||||
|---|---|---|---|---|---|---|---|---|---|---|---|---|---|---|---|
Connector Part Information |
| Connector Part Information |
| ||||||||||||
Pin | Wire Color | Circuit No. | Function | Pin | Wire Color | Circuit No. | Function | ||||||||
A | ORN | 1732 | Courtesy Lamps Supply Voltage (w/Y71/Y72) | A | ORN | 1732 | Courtesy Lamps Supply Voltage | ||||||||
BLK/WHT | 1732 | Courtesy Lamps Supply Voltage (w/Y71/Y72) | |||||||||||||
B-C | -- | -- | Not Used | B-C | -- | -- | Not Used | ||||||||
D | BRN | 541 | Ignition 3 Voltage (w/Y71) | D | BRN | 541 | Ignition 3 Voltage (w/power mirrors) | ||||||||
E | BLK | 156 | Courtesy Low Control (w/Y71/Y72) | E | WHT | 156 | Courtesy Lamp Low Control | ||||||||
WHT | 156 | Courtesy Low Control (w/Y71/Y72) | |||||||||||||
F | -- | -- | Not Used | F | -- | -- | Not Used | ||||||||
G | BLK | 750 | Ground (w/Y71) | G | BLK | 750 | Ground (w/power mirrors) | ||||||||
H | BLK | 750 | Ground (w/Y71/Y72) | H | BLK | 750 | Ground | ||||||||
BLK | 750 | Ground (w/Y71/Y72) | |||||||||||||
|
| ||||||||||||||
|---|---|---|---|---|---|---|---|---|---|---|---|---|---|---|---|
Connector Part Information |
| Connector Part Information |
| ||||||||||||
Pin | Wire Color | Circuit No. | Function | Pin | Wire Color | Circuit No. | Function | ||||||||
A | PPL | 30 | Fuel Level Sensor Signal | A | PPL | 30 | Fuel Level Sensor Signal | ||||||||
B | GRY | 120 | Fuel Pump Supply Voltage | B | GRY | 120 | Fuel Pump Supply Voltage | ||||||||
C | BLK | 150 | Ground | C | BLK | 150 | Ground | ||||||||
D | PPL | 30 | Fuel Level Sensor Signal | D | PPL | 30 | Fuel Level Sensor Signal | ||||||||
|
| ||||||||||||||
|---|---|---|---|---|---|---|---|---|---|---|---|---|---|---|---|
Connector Part Information |
| Connector Part Information |
| ||||||||||||
Pin | Wire Color | Circuit No. | Function | Pin | Wire Color | Circuit No. | Function | ||||||||
A | PPL | 30 | Fuel Level Sensor Signal | A | PPL | 30 | Fuel Level Sensor Signal | ||||||||
B | GRY | 120 | Fuel Pump Supply Voltage | B | GRY | 120 | Fuel Pump Supply Voltage | ||||||||
C | BLK | 150 | Ground | C | BLK | 150 | Ground | ||||||||
D | BLK/WHT | 30 | Fuel Level Sensor Signal | D | BLK/WHT | 30 | Fuel Level Sensor Signal | ||||||||
|
| ||||||||||||||
|---|---|---|---|---|---|---|---|---|---|---|---|---|---|---|---|
Connector Part Information |
| Connector Part Information |
| ||||||||||||
Pin | Wire Color | Circuit No. | Function | Pin | Wire Color | Circuit No. | Function | ||||||||
A | WHT | 883 | Right Rear Wheel Speed Sensor Low Reference | 1A | WHT | 883 | Right Rear Wheel Speed Sensor Low Reference | ||||||||
B | BRN | 882 | Right Rear Wheel Speed Sensor Signal | 1B | BRN | 882 | Right Rear Wheel Speed Sensor Signal | ||||||||
C | RED | 885 | Left Rear Wheel Speed Sensor Low Reference | 1C | RED | 885 | Left Rear Wheel Speed Sensor Low Reference | ||||||||
D | BLK | 884 | Left Rear Wheel Speed Sensor Signal | 1D | BLK | 884 | Left Rear Wheel Speed Sensor Signal | ||||||||
|
| ||||||||||||||
|---|---|---|---|---|---|---|---|---|---|---|---|---|---|---|---|
Connector Part Information |
| Connector Part Information |
| ||||||||||||
Pin | Wire Color | Circuit No. | Function | Pin | Wire Color | Circuit No. | Function | ||||||||
A | BRN | 241 | Ignition 3 Voltage | 2A | BRN | 241 | Ignition 3 Voltage | ||||||||
B | WHT | 1310 | EVAP Canister Vent Solenoid Control | 2B | WHT | 1310 | EVAP Canister Vent Solenoid Control | ||||||||
C-D | -- | -- | Not Used | 2C-2D | -- | -- | Not Used | ||||||||
|
| ||||||||||||||
|---|---|---|---|---|---|---|---|---|---|---|---|---|---|---|---|
Connector Part Information |
| Connector Part Information |
| ||||||||||||
Pin | Wire Color | Circuit No. | Function | Pin | Wire Color | Circuit No. | Function | ||||||||
A | BLK | 150 | Ground | 3A | BLK | 650 | Ground | ||||||||
B | BLK/WHT | 651 | Ground | 3B | BLK | 2759 | Low Reference | ||||||||
C | GRY | 120 | Fuel Pump Supply Voltage | 3C | GRY | 120 | Fuel Pump Supply Voltage | ||||||||
D | PPL | 30 | Fuel Level Sensor Signal | 3D | PPL | 1589 | Fuel Level Sensor Signal | ||||||||
E | -- | -- | Not Used | 3E | -- | -- | Not Used | ||||||||
F | GRY/BLK | 416 | 5 Volt Reference | 3F | GRY | 2709 | 5 Volt Reference | ||||||||
G | DK GRN | 890 | Fuel Tank Pressure Sensor Signal | 3G | DK GRN | 890 | Fuel Tank Pressure Sensor Signal | ||||||||
H | ORN/BLK | 469 | Low Reference | 3H | BLK | 2759 | Low Reference | ||||||||
3H | BLK | 2759 | Low Reference | ||||||||||||
|
| ||||||||||||||
|---|---|---|---|---|---|---|---|---|---|---|---|---|---|---|---|
Connector Part Information |
| Connector Part Information |
| ||||||||||||
Pin | Wire Color | Circuit No. | Function | Pin | Wire Color | Circuit No. | Function | ||||||||
A1 | PPL/WHT | 889 | Right Mirror Motor Down - Oldsmobile | A1 | PPL/WHT | 889 | Right Rear Motor Down - Oldsmobile | ||||||||
A1 | BRN/WHT | 1498 | Right Rear Motor Up - Pontiac | A1 | BRN/WHT | 1498 | Right Rear Motor Up - Pontiac | ||||||||
A2 | RED/WHT | 881 | Right Mirror Motor Right | A2 | RED/WHT | 881 | Right Mirror Motor Right | ||||||||
A3 | -- | -- | Not Used | A3 | -- | -- | Not Used | ||||||||
A4 | LT BLU | 166 | Power Window Master Switch Right Front Up Signal | A4 | LT BLU | 166 | Power Window Master Switch Right Front Up Signal | ||||||||
A5 | TAN | 167 | Power Window Master Switch Right Front Down Signal | A5 | TAN | 167 | Power Window Master Switch Right Front Down Signal | ||||||||
A6 | BLK | 550 | Ground | A6 | BLK | 550 | Ground | ||||||||
A7-A9 | -- | -- | Not Used | A7-A9 | -- | -- | Not Used | ||||||||
B1 | GRY | 8 | Instrument Panel Lamp Supply Voltage -1 Oldsmobile | B1 | GRY | 8 | Instrument Panel Lamp Supply Voltage -1 Oldsmobile | ||||||||
B1 | -- | -- | Not Used - Pontiac | B1 | -- | -- | Not Used - Pontiac | ||||||||
B2 | BLK | 550 | Ground | B2 | BLK | 550 | Ground | ||||||||
B3 | -- | -- | Not Used | B3 | -- | -- | Not Used | ||||||||
B4 | BRN | 141 | Ignition 3 Voltage | B4 | BRN | 141 | Ignition 3 Voltage | ||||||||
B5 | YEL | 1956 | Left Front Tweeter Speaker Output (-) (w/U85) | B5 | YEL | 1956 | Left Front Tweeter Speaker Output (-) (w/U85) | ||||||||
B5 | -- | -- | Not Used (-U85) | B5 | -- | -- | Not Used (-U85) | ||||||||
B6 | BLK | 1856 | Left Front Tweeter Speaker Output (+) (w/U85) | B6 | BLK | 1856 | Left Front Tweeter Speaker Output (+) (w/U85) | ||||||||
B6 | -- | -- | Not Used (-U85) | B6 | -- | -- | Not Used (-U85) | ||||||||
B7 | -- | -- | Not Used | B7 | -- | -- | Not Used | ||||||||
B8 | ORN | 1840 | Battery Positive Voltage | B8 | ORN | 1840 | Battery Positive Voltage | ||||||||
B9 | GRY | 90 | Passenger Mirror Motor Left Control | B9 | GRY | 90 | Passenger Mirror Motor Left Control | ||||||||
|
| ||||||||||||||
|---|---|---|---|---|---|---|---|---|---|---|---|---|---|---|---|
Connector Part Information |
| Connector Part Information |
| ||||||||||||
Pin | Wire Color | Circuit No. | Function | Pin | Wire Color | Circuit No. | Function | ||||||||
A1 | LT GRN/ BLK | 394 | Driver Door Ajar Switch Signal | A1 | LT GRN/ BLK | 394 | Driver Door Ajar Switch Signal | ||||||||
A2 | BLK/WHT | 1576 | Trunk Release Switch Signal | A2 | BLK | 1576 | Trunk Release Switch Signal | ||||||||
A3 | BLK | 550 | Ground | A3 | BLK | 550 | Ground | ||||||||
A4 | LT GRN | 170 | Power Window Master Switch Right Rear Up Signal (w/A31) | A4 | LT GRN | 170 | Power Window Master Switch Right Rear Up Signal (w/A31) | ||||||||
A5 | PPL | 171 | Power Window Master Switch Right Rear Down Signal (w/A31) | A5 | PPL | 171 | Power Window Master Switch Right Rear Down Signal (w/A31) | ||||||||
A6-A7 | -- | -- | Not Used | A6-A7 | -- | -- | Not Used | ||||||||
A8 | TAN | 294 | Door Lock Actuator Unlock Control | A8 | TAN | 694 | Driver Door Lock Actuator Unlock Control | ||||||||
A9 | GRY | 295 | Door Lock Actuator Lock Control | A9 | GRY | 295 | Door Lock Actuator Lock Control | ||||||||
B1 | GRY | 118 | Left Front Speaker Output (-) (-U85) | B1 | GRY | 118 | Left Front Speaker Output (-) (-U85) | ||||||||
B1 | LT BLU | 1957 | Left Front Midrange Speaker Output (-) (w/U85) | B1 | LT BLU | 1957 | Left Front Midrange Speaker Output (-) (w/U85) | ||||||||
B2 | BLK | 650 | Ground | B2 | BLK | 650 | Ground | ||||||||
B3 | WHT | 682 | Door Lock Lock/Unlock Signal | B3 | WHT | 682 | Door Lock Lock/Unlock Signal | ||||||||
B4 | DK BLU | 1307 | Power Window Master Switch Lockout Signal (w/A31) - Sedan | B4 | DK BLU/WHT | 1307 | Power Window Master Switch Lockout Signal (w/A31) - Sedan | ||||||||
B4-B6 | -- | -- | Not Used - Coupe | B4-B6 | -- | -- | Not Used - Coupe | ||||||||
B5 | DK GRN | 168 | Power Window Master Switch Left Rear Up Signal - Sedan | B5 | DK GRN | 168 | Power Window Master Switch Left Rear Up Signal - Sedan | ||||||||
B6 | PPL/WHT | 169 | Power Window Master Switch Left Rear Down Signal - Sedan | B6 | PPL | 169 | Power Window Master Switch Left Rear Down Signal - Sedan | ||||||||
B7 | GRY | 8 | Instrument Panel Lamp Supply Voltage -1 | B7 | GRY | 8 | Instrument Panel Lamp Supply Voltage -1 | ||||||||
B8 | TAN | 201 | Left Front Speaker Output (+)(-U85) | B8 | TAN | 201 | Left Front Speaker Output (+)(-U85) | ||||||||
B8 | DK BLU | 1857 | Left Front Midrange Speaker Output (+)(w/U85) | B8 | DK BLU | 1857 | Left Front Midrange Speaker Output (+)(w/U85) | ||||||||
B9 | -- | -- | Not Used | B9 | -- | -- | Not Used | ||||||||
|
| ||||||||||||||
|---|---|---|---|---|---|---|---|---|---|---|---|---|---|---|---|
Connector Part Information |
| Connector Part Information |
| ||||||||||||
Pin | Wire Color | Circuit No. | Function | Pin | Wire Color | Circuit No. | Function | ||||||||
A1 | BRN/WHT | 1498 | Passenger Mirror Motor Up Control - Oldsmobile | A1 | PPL/WHT | 889 | Passenger Mirror Motor Down Control - Oldsmobile | ||||||||
A1 | BRN/WHT | 1498 | Passenger Mirror Motor Up Control - Pontiac | A1 | BRN/WHT | 1498 | Passenger Mirror Motor Up Control - Pontiac | ||||||||
A2 | RED/WHT | 881 | Passenger Mirror Motor Right Control | A2 | RED/WHT | 881 | Passenger Mirror Motor Right Control | ||||||||
A3 | BLK | 550 | Ground | A3 | BLK | 550 | Ground | ||||||||
A4 | LT BLU | 166 | Power Window Master Switch Right Front Up Signal | A4 | LT BLU | 166 | Power Window Master Switch Right Front Up Signal | ||||||||
A5 | TAN | 167 | Power Window Master Switch Right Front Down Signal | A5 | TAN | 167 | Power Window Master Switch Right Front Down Signal | ||||||||
A6 | LT BLU | 395 | Passenger Door Ajar Switch Signal | A6 | LT BLU | 395 | Passenger Door Ajar Switch Signal | ||||||||
A7 | -- | -- | Not Used | A7 | -- | -- | Not Used | ||||||||
A8 | TAN | 294 | Door Lock Actuator Unlock Control | A8 | TAN | 294 | Door Lock Actuator Unlock Control | ||||||||
A9 | GRY | 295 | Door Lock Actuator Lock Control | A9 | GRY | 295 | Door Lock Actuator Lock Control | ||||||||
B1 | DK GRN | 117 | Right Front Speaker Output (-) (-U85) | B1 | DK GRN | 117 | Right Front Speaker Output (-) (-U85) | ||||||||
B1 | DK GRN | 1953 | Right Front Midrange Speaker Output (-) (w/U85) | B1 | DK GRN | 1953 | Right Front Midrange Speaker Output (-) (w/U85) | ||||||||
B2 | BLK | 650 | Ground | B2 | BLK | 650 | Ground | ||||||||
B3 | WHT | 682 | Door Lock Lock/Unlock Signal | B3 | WHT | 682 | Door Lock Lock/Unlock Signal | ||||||||
B4 | DK BLU | 1307 | Power Window Master Switch Lockout Signal - Sedan | B4 | DK BLU | 1307 | Power Window Master Switch Lockout Signal - Sedan | ||||||||
B4 | DK BLU/ WHT | 1307 | Power Window Master Switch Lockout Signal - Sedan | B4 | DK BLU/ WHT | 1307 | Power Window Master Switch Lockout Signal - Sedan | ||||||||
B4 | BRN | 141 | Ignition 3 Voltage - Coupe | B4 | BRN | 141 | Ignition 3 Voltage - Coupe | ||||||||
B5 | PPL | 1952 | Right Front Tweeter Speaker Output (-) | B5 | PPL | 1952 | Right Front Tweeter Speaker Output (-) | ||||||||
B6 | LT GRN | 1852 | Right Front Tweeter Speaker Output (+) | B6 | LT GRN | 1852 | Right Front Tweeter Speaker Output (+) | ||||||||
B7 | GRY | 8 | Instrument Panel Lamp Supply Voltage -1 | B7 | GRY | 8 | Instrument Panel Lamp Supply Voltage -1 | ||||||||
B8 | ORN | 1853 | Right Front Midrange Speaker Output (+) (w/U85) | B8 | ORN | 1853 | Right Front Midrange Speaker Output (+) (w/U85) | ||||||||
B8 | LT GRN | 200 | Right Front Speaker Output (+) (-U85) | B8 | LT GRN | 200 | Right Front Speaker Output (+) (-U85) | ||||||||
B9 | GRY | 90 | Passenger Mirror Motor Left Control | B9 | GRY | 90 | Passenger Mirror Motor Left Control | ||||||||
|
| ||||||||||||||
|---|---|---|---|---|---|---|---|---|---|---|---|---|---|---|---|
Connector Part Information |
| Connector Part Information |
| ||||||||||||
Pin | Wire Color | Circuit No. | Function | Pin | Wire Color | Circuit No. | Function | ||||||||
A | -- | -- | Not Used | A | -- | -- | Not Used | ||||||||
B | GRY | 295 | Door Lock Actuator Lock Control | B | GRY | 295 | Door Lock Actuator Lock Control | ||||||||
C | -- | -- | Not Used | C | -- | -- | Not Used | ||||||||
D | TAN | 294 | Door Lock Actuator Unlock Control | D | TAN | 294 | Door Lock Actuator Unlock Control | ||||||||
E-H | -- | -- | Not Used | E-H | -- | -- | Not Used | ||||||||
|
| ||||||||||||||
|---|---|---|---|---|---|---|---|---|---|---|---|---|---|---|---|
Connector Part Information |
| Connector Part Information |
| ||||||||||||
Pin | Wire Color | Circuit No. | Function | Pin | Wire Color | Circuit No. | Function | ||||||||
A | -- | -- | Not Used | A | -- | -- | Not Used | ||||||||
B | GRY | 295 | Door Lock Actuator Lock Control | B | GRY | 295 | Door Lock Actuator Lock Control | ||||||||
C | PPL | 169 | Power Window Master Switch Left Rear Down Signal | C | PPL | 171 | Power Window Master Switch Right Rear Down Signal | ||||||||
D | TAN | 294 | Door Lock Actuator Unlock Control | D | TAN | 294 | Door Lock Actuator Unlock Control | ||||||||
E-F | -- | -- | Not Used | E-F | -- | -- | Not Used | ||||||||
G | DK GRN | 168 | Power Window Master Switch Left Rear Up Signal | G | LT GRN | 170 | Power Window Master Switch Right Rear Up Signal | ||||||||
H | DK BLU | 1307 | Power Window Master Switch Lockout Signal (w/UQ2) | H | DK BLU | 1307 | Power Window Master Switch Lockout Signal (w/UQ2) | ||||||||
H | DK BLU/WHT | 1307 | Power Window Master Switch Lockout Signal (w/U85) | H | DK BLU | 1307 | Power Window Master Switch Lockout Signal (w/U85) | ||||||||
|
| ||||||||||||||
|---|---|---|---|---|---|---|---|---|---|---|---|---|---|---|---|
Connector Part Information |
| Connector Part Information |
| ||||||||||||
Pin | Wire Color | Circuit No. | Function | Pin | Wire Color | Circuit No. | Function | ||||||||
A | -- | -- | Not Used | A | -- | -- | Not Used | ||||||||
B | GRY | 295 | Door Lock Actuator Lock Control | B | GRY | 295 | Door Lock Actuator Lock Control | ||||||||
C | PPL | 171 | Power Window Master Switch Right Rear Down Signal | C | PPL | 171 | Power Window Master Switch Right Rear Down Signal | ||||||||
D | TAN | 294 | Door Lock Actuator Unlock Control | D | TAN | 294 | Door Lock Actuator Unlock Control | ||||||||
E-F | -- | -- | Not Used | E-F | -- | -- | Not Used | ||||||||
G | LT GRN | 170 | Power Window Master Switch Right Rear Up Signal | G | LT GRN | 170 | Power Window Master Switch Right Rear Up Signal | ||||||||
H | DK BLU | 1307 | Power Window Master Switch Lockout Signal (wUQ2/UQ8) | H | DK BLU | 1307 | Power Window Master Switch Lockout Signal (wUQ2/UQ8) | ||||||||
H | DK BLU/WHT | 1307 | Power Window Master Switch Lockout Signal (w/U85) | H | DK BLU | 1307 | Power Window Master Switch Lockout Signal (w/U85) | ||||||||
|
| ||||||||||||||
|---|---|---|---|---|---|---|---|---|---|---|---|---|---|---|---|
Connector Part Information |
| Connector Part Information |
| ||||||||||||
Pin | Wire Color | Circuit No. | Function | Pin | Wire Color | Circuit No. | Function | ||||||||
A | -- | -- | Not Used | A | -- | -- | Not Used | ||||||||
B | GRY | 295 | Door Lock Actuator Lock Control | B | GRY | 295 | Door Lock Actuator Lock Control | ||||||||
C | -- | -- | Not Used | C | -- | -- | Not Used | ||||||||
D | TAN | 294 | Door Lock Actuator Unlock Control | D | TAN | 294 | Door Lock Actuator Unlock Control | ||||||||
E-H | -- | -- | Not Used | E-H | -- | -- | Not Used | ||||||||