GM Service Manual Online
For 1990-2009 cars only
Makes
🢒
Oldsmobile
🢒
2002
🢒
Alero
🢒 Temperature Controls
Temperature Controls
Temperature Controls
Master Electrical Component List
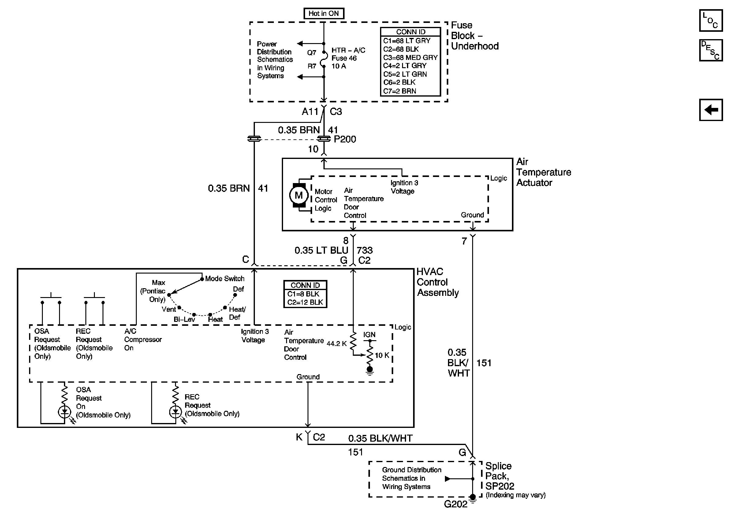
Air Temperature Description and Operation
Compressor Controls
IGN SW-BATT1, HTR-A/C, ERLS, CRANK, PCM ACC, IPC/BFC/ACC Fuses
G202