GM Service Manual Online
For 1990-2009 cars only
Table 1: Camshaft Position (CMP) Sensor
Table 2: Crankshaft Position (CKP) Sensor A
Table 3: Crankshaft Position (CKP) Sensor B
Table 4: Engine Coolant Temperature (ECT) Sensor
Table 5: Evaporative Emission (EVAP) Canister Purge Solenoid
Table 6: Evaporative Emission (EVAP) Canister Vent Solenoid
Table 7: Exhaust Gas Recirculation (EGR) Valve
Table 8: Fuel Injector 1
Table 9: Fuel Injector 2
Table 10: Fuel Injector 3
Table 11: Fuel Injector 4
Table 12: Fuel Injector 5
Table 13: Fuel Injector 6
Table 14: Fuel Pump and Sender Assembly
Table 15: Fuel Tank Pressure (FTP) Sensor
Table 16: Heated Oxygen Sensor (HO2S) Sensor 1
Table 17: Heated Oxygen Sensor (HO2S) Sensor 2
Table 18: Idle Air Control (IAC) Valve
Table 19: Ignition Control Module (ICM), C1
Table 20: Ignition Control Module (ICM), C2
Table 21: Ignition Control Module (ICM), C3
Table 22: Intake Air Temperature (IAT) Sensor
Table 23: Knock Sensor (KS)
Table 24: Manifold Absolute Pressure (MAP) Sensor
Table 25: Mass Air Flow (MAF) Sensor
Table 26: Throttle Position (TP) Sensor

Camshaft Position (CMP) Sensor


Object Number: 833724  Size: CH

Connector Part Information

    • 15336065
    • 3-Way F Global Terminal 150 Series Sealed (BLK)

Pin

Wire Color

Circuit No.

Function

A

BRN/WHT

633

CMP Sensor Signal

B

BLK

407

Low Reference

C

RED/WHT

812

12 Volt Reference

Crankshaft Position (CKP) Sensor A


Object Number: 684807  Size: CH

Connector Part Information

    • 12110294
    •  3-Way F Metri-Pack 150 Series Sealed (BLK)

Pin

Wire Color

Circuit No.

Function

A

RED/WHT

812

12 Volt Reference

B

LT BLU/BLK

647

Medium Resolution Engine Speed Signal

C

BLK

407

Low Reference

Crankshaft Position (CKP) Sensor B


Object Number: 655692  Size: CH

Connector Part Information

    • 12162192
    •  2-Way F Metri-Pack 150.2 Series Sealed Pull-to-Seat (BLK)

Pin

Wire Color

Circuit No.

Function

A

YEL

573

CKP Sensor B Signal

B

PPL

574

Low Reference

Engine Coolant Temperature (ECT) Sensor


Object Number: 237066  Size: CH

Connector Part Information

    • 12162192
    •  2-Way F Metri-Pack 150.2 Series Sealed Pull-to-Seat (BLK)

Pin

Wire Color

Circuit No.

Function

A

ORN/BLK

469

Low Reference

B

YEL

410

ECT Sensor Signal

Evaporative Emission (EVAP) Canister Purge Solenoid


Object Number: 684795  Size: CH

Connector Part Information

    • 12052643
    • 2-Way F Metri-Pack 150 Series Sealed (RED)

Pin

Wire Color

Circuit No.

Function

A

BRN

241

Ignition 3 Voltage

B

DK GRN/WHT

428

EVAP Canister Purge Solenoid Control

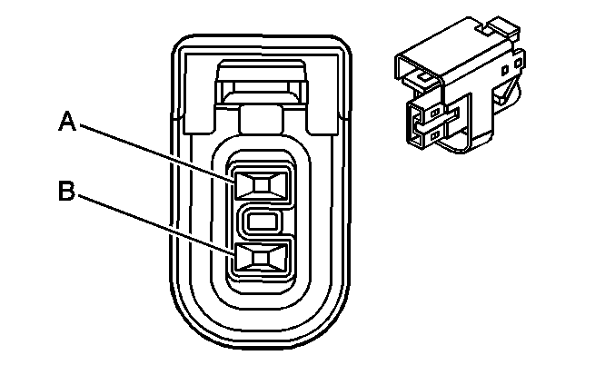
Evaporative Emission (EVAP) Canister Vent Solenoid


Object Number: 334626  Size: CH

Connector Part Information

    • 12059862
    • 2-Way F Metri-Pack 150 Series Sealed (BRN)

Pin

Wire Color

Circuit No.

Function

A

BRN

241

Ignition 3 Voltage

B

WHT

1310

EVAP Canister Vent Solenoid Control

Exhaust Gas Recirculation (EGR) Valve


Object Number: 594477  Size: CH

Connector Part Information

    • 15306556
    •  5-Way F Global Terminal 150 Pull-to-Seat Sealed (BLK)

Pin

Wire Color

Circuit No.

Function

A

GRY

435

EGR Solenoid Low Control

B

BLK

2753

Low Reference

C

BRN

1456

EGR Valve Position Signal

D

BRN/WHT

2702

5 Volt Reference

E

RED

1676

EGR Solenoid High Control

Fuel Injector 1


Object Number: 806497  Size: CH

Connector Part Information

    • 15326180
    • 2-Way F Micro-Pack 64 Series Sealed (BLK)

Pin

Wire Color

Circuit No.

Function

A

PNK

639

Ignition 1 Voltage

B

BLK

1744

Fuel Injector 1 Control

Fuel Injector 2


Object Number: 806497  Size: CH

Connector Part Information

    • 15326180
    • 2-Way F Micro-Pack 64 Series Sealed (BLK)

Pin

Wire Color

Circuit No.

Function

A

PNK

639

Ignition 1 Voltage

B

LT GRN/BLK

1745

Fuel Injector 2 Control

Fuel Injector 3


Object Number: 806497  Size: CH

Connector Part Information

    • 15326180
    • 2-Way F Micro-Pack 64 Series Sealed (BLK)

Pin

Wire Color

Circuit No.

Function

A

PNK

639

Ignition 1 Voltage

B

PNK/BLK

1746

Fuel Injector 3 Control

Fuel Injector 4


Object Number: 806497  Size: CH

Connector Part Information

    • 15326180
    • 2-Way F Micro-Pack 64 Series Sealed (BLK)

Pin

Wire Color

Circuit No.

Function

A

PNK

639

Ignition 1 Voltage

B

LT BLU/BLK

844

Fuel Injector 4 Control

Fuel Injector 5


Object Number: 806497  Size: CH

Connector Part Information

    • 15326180
    • 2-Way F Micro-Pack 64 Series Sealed (BLK)

Pin

Wire Color

Circuit No.

Function

A

PNK

639

Ignition 1 Voltage

B

BLK/WHT

845

Fuel Injector 5 Control

Fuel Injector 6


Object Number: 806497  Size: CH

Connector Part Information

    • 15326180
    • 2-Way F Micro-Pack 64 Series Sealed (BLK)

Pin

Wire Color

Circuit No.

Function

A

PNK

639

Ignition 1 Voltage

B

YEL/BLK

846

Fuel Injector 6 Control

Fuel Pump and Sender Assembly


Object Number: 456551  Size: CH

Connector Part Information

    • 12160482
    •  4-Way F Metri-Pack 150 Series Sealed (BLK)

Pin

Wire Color

Circuit No.

Function

A

PPL

30

Fuel Level Sensor Signal

B

GRY

120

Fuel Pump Supply Voltage

C

BLK

150

Ground

D

GRY

651

Ground

Fuel Tank Pressure (FTP) Sensor


Object Number: 516611  Size: CH

Connector Part Information

    • 12059595
    •  3-Way F Metri-Pack 150 Series Sealed (BLK)

Pin

Wire Color

Circuit No.

Function

A

ORN/BLK

469

Low Reference

B

DK GRN

890

Fuel Tank Pressure Sensor Signal

C

GRY

416

5 Volt Reference

Heated Oxygen Sensor (HO2S) Sensor 1


Object Number: 474210  Size: CH

Connector Part Information

    • 12176896
    • 4-Way F Metri-Pack 150 Series Sealed (LT GRY)

Pin

Wire Color

Circuit No.

Function

A

TAN

413

Low Reference

B

PPL

412

HO2S High Signal Sensor 1

C

BLK/WHT

3113

HO2S Heater Low Control (Bank 1 Sensor 1)

D

BRN

241

Ignition 3 Voltage

Heated Oxygen Sensor (HO2S) Sensor 2


Object Number: 280761  Size: CH

Connector Part Information

    • 12160825
    • 4-Way M Metri-Pack 150 Series Sealed (BLK)

Pin

Wire Color

Circuit No.

Function

A

TAN/WHT

1669

HO2S Low Signal (Bank 1 Sensor 2)

B

PPL/WHT

1668

HO2S High Signal (Bank 1 Sensor 2)

C

BLK

250

Ground

D

BRN

241

Ignition 3 Voltage

Idle Air Control (IAC) Valve


Object Number: 38608  Size: CH

Connector Part Information

    • 12162187
    • 4-Way F Metri-Pack 150.2 Series Pull-to-Seat Sealed (BLK)

Pin

Wire Color

Circuit No.

Function

A

LT GRN/BLK

444

IAC Coil B Low Control

B

LT GRN/WHT

1749

IAC Coil B High Control

C

LT BLU/BLK

1748

IAC Coil A Low Control

D

LT BLU/WHT

1747

IAC Coil A High Control

Ignition Control Module (ICM), C1


Object Number: 40442  Size: CH

Connector Part Information

    • 12059220
    • 6-Way F Metri-Pack 150.1 Series Pull-to-Seat Sealed (BLK)

Pin

Wire Color

Circuit No.

Function

A

TAN/BLK

424

IC Timing Signal

B

WHT

423

IC Timing Control

C-D

--

--

Not Used

E

PPL/WHT

430

Low Resolution Engine Speed Signal

F

RED/BLK

453

Low Reference

Ignition Control Module (ICM), C2


Object Number: 73223  Size: CH

Connector Part Information

    • 12065558
    • 3-Way F Metri-Pack 150 Series Pull-to-Seat Sealed (BLK)

Pin

Wire Color

Circuit No.

Function

A

YEL

573

CKP Sensor B Signal

B

--

--

Not Used

C

PPL

574

Low Reference

Ignition Control Module (ICM), C3


Object Number: 655692  Size: CH

Connector Part Information

    • 12162192
    • 2-Way F Metri-Pack 150.2 Series Pull-to-Seat Sealed (BLK)

Pin

Wire Color

Circuit No.

Function

A

BLK

450

Ground

B

PNK

239

Ignition 1 Voltage

Intake Air Temperature (IAT) Sensor


Object Number: 646180  Size: CH

Connector Part Information

    • 12162196
    • 2-Way F Metri-Pack 150.2 Series Pull-to-Seat Sealed (MD GRY)

Pin

Wire Color

Circuit No.

Function

A

BLK

2760

Low Reference

B

TAN

472

IAT Sensor Signal

Knock Sensor (KS)


Object Number: 95764  Size: CH

Connector Part Information

    • 400309
    • 1-Way F Metri-Pack 150 Series Sealed (GRY)

Pin

Wire Color

Circuit No.

Function

1

DK BLU

496

Knock Sensor Signal

Manifold Absolute Pressure (MAP) Sensor


Object Number: 622368  Size: CH

Connector Part Information

    • 12020403
    • 3-Way M Weather Pack Sealed (DK GRN)

Pin

Wire Color

Circuit No.

Function

A

ORN/BLK

469

Low Reference

B

LT GRN

432

MAP Sensor Signal

C

GRY

2704

5 Volt Reference

Mass Air Flow (MAF) Sensor


Object Number: 516611  Size: CH

Connector Part Information

    • 12059595
    • 3-Way F Metri-Pack 150 Series Sealed (BLK)

Pin

Wire Color

Circuit No.

Function

A

YEL

492

MAF Sensor Signal

B

BLK/WHT

451

Ground

C

PNK

639

Ignition 1 Voltage

Throttle Position (TP) Sensor


Object Number: 258299  Size: CH

Connector Part Information

    • 12065286
    • 3-Way F Metri-Pack 150 Series Pull-to-Seat Sealed (BLK)

Pin

Wire Color

Circuit No.

Function

A

GRY/BLK

2701

5 Volt Reference

B

BLK

2752

Low Reference

C

DK BLU

417

TP Sensor Signal