GM Service Manual Online
For 1990-2009 cars only
Makes
🢒
Oldsmobile
🢒
2003
🢒
Alero
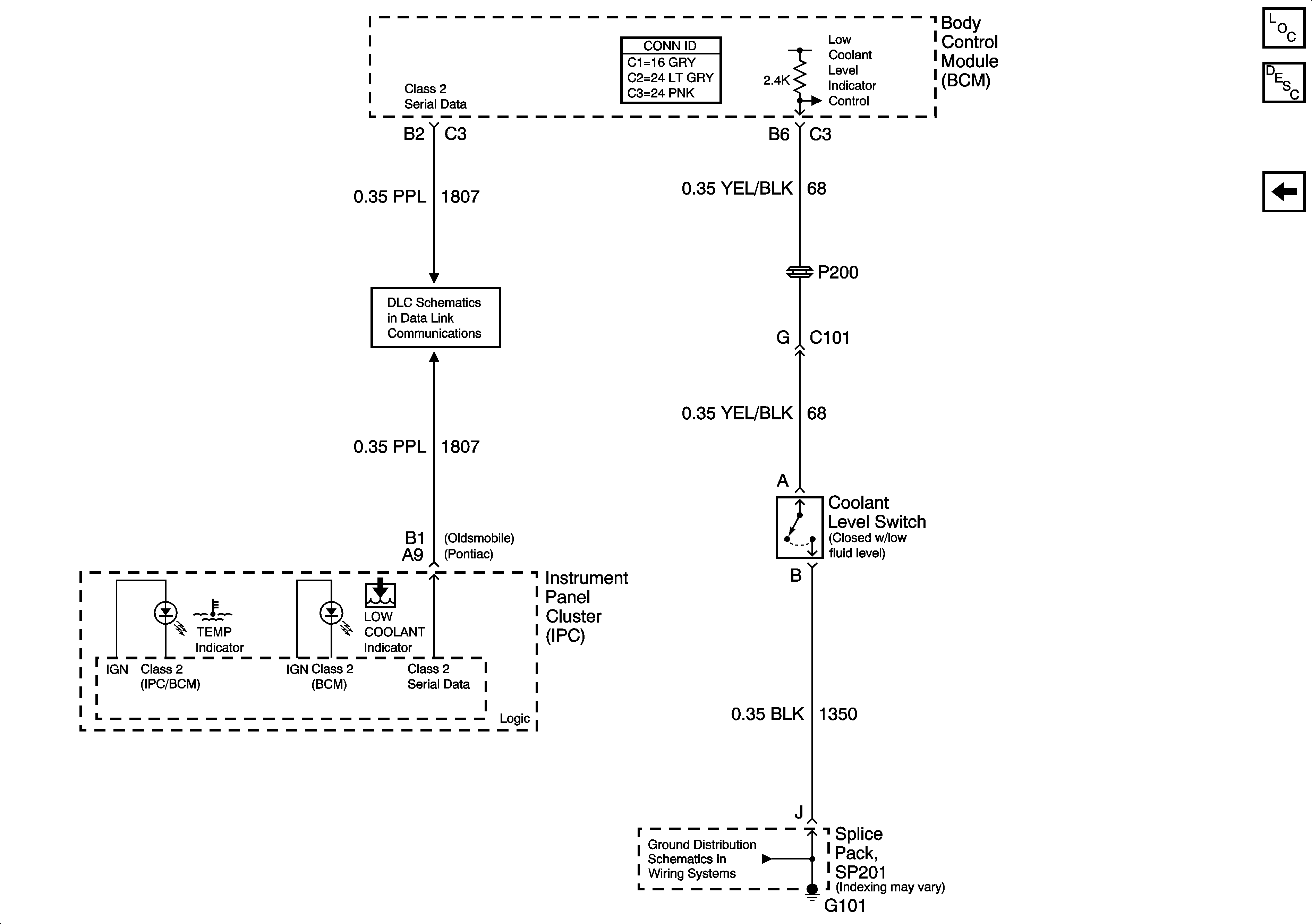
🢒 Coolant Indicators
Coolant Indicators
Coolant Indicators
Master Electrical Component List
Cooling System Description and Operation
Cooling Fans
G101