GM Service Manual Online
For 1990-2009 cars only
Makes
🢒
Oldsmobile
🢒
2003
🢒
Alero
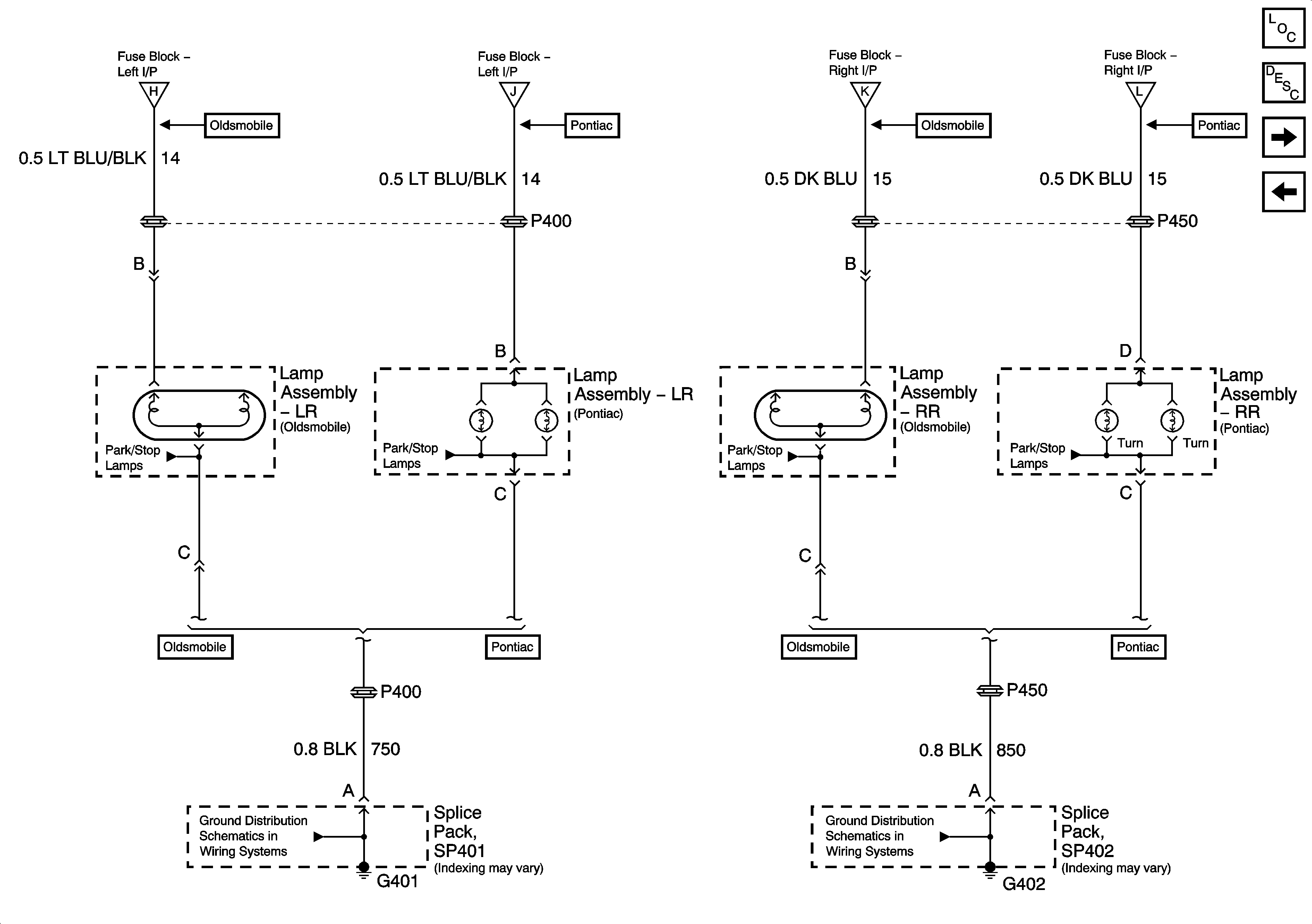
🢒 Turn Lamps - Rear Lamp Assemblies
Turn Lamps - Rear Lamp Assemblies
Turn Lamps - Rear Lamp Assemblies
Master Electrical Component List
Exterior Lighting Systems Description and Operation
Stop Lamps
Turn Signal Lamps - Front - Domestic
Switches and Indicators
Switches and Indicators
Switches and Indicators
Switches and Indicators
Stop Lamps
Stop Lamps
Stop Lamps
Stop Lamps
G401
G402