GM Service Manual Online
For 1990-2009 cars only
Makes
🢒
Oldsmobile
🢒
2003
🢒
Alero
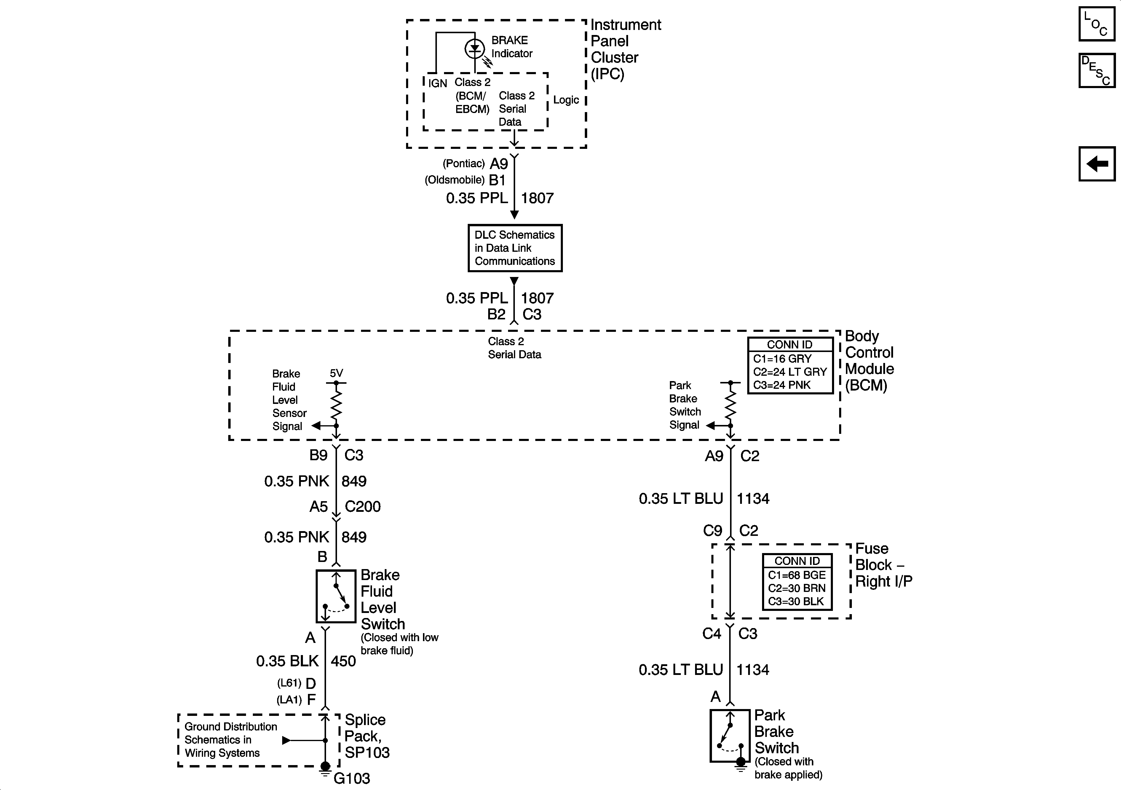
🢒 Brake Warning System Schematic (w/o ABS)
Brake Warning System Schematic (w/o ABS)
w/o ABS
Master Electrical Component List
Brake Warning System Description and Operation
Brake Warning System Schematics (w/ABS)
Data Link Connector (DLC) Schematics
G103 and G105
G103 and G105