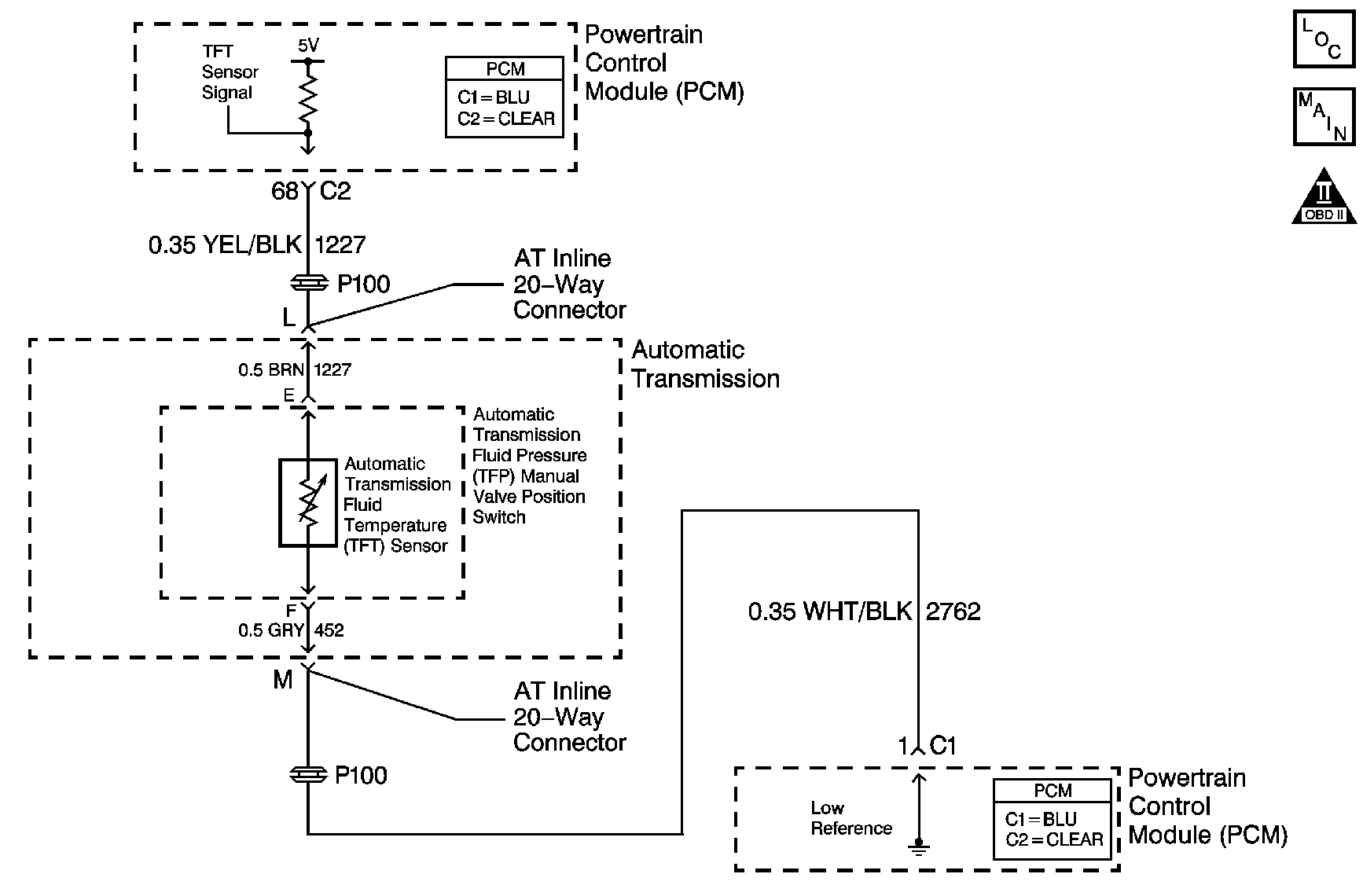
The automatic transmission fluid temperature (TFT) sensor is a thermistor. The TFT sensor is part of the automatic transmission fluid pressure (TFP) manual valve position switch. The PCM supplies a 5 volt reference signal to the sensor. When the transmission fluid is cold, the sensor resistance is high and the PCM senses a high signal voltage. As the transmission fluid warms, the sensor resistance lowers and the PCM senses lower voltage. The PCM uses the TFT reading in order to control the torque converter clutch (TCC), line pressure adjustments, and temperature compensated shifts.
When the PCM detects a continuous short to ground in the TFT circuit or the TFT sensor, then DTC P0712 sets. DTC P0712 is a type C DTC.
| • | No TFT sensor DTC P0713. |
| • | The ignition switch is in the ON position. |
The TFT voltage is 0.33 volts or less for 10 seconds.
| • | The PCM does not illuminate the malfunction indicator lamp (MIL). |
| • | The PCM freezes transmission adaptive functions. |
| • | The PCM calculates a default transmission fluid temperature based on engine coolant temperature, intake manifold air temperature, and engine run time. |
| • | The PCM records the operating conditions when the Conditions for Setting the DTC are met. The PCM stores this information as Failure Records. |
| • | The PCM stores DTC P0712 in PCM history. |
| • | A scan tool can clear the DTC. |
| • | The PCM clears the DTC from PCM history if the vehicle completes 40 warm-up cycles without a non-emission related diagnostic fault occurring. |
| • | The PCM cancels the DTC default actions when the fault no longer exists and the DTC passes. |
The numbers below refer to the step numbers on the diagnostic table.
This step tests the ability of the PCM to detect an open circuit.
This step tests the TFT sensor for correct resistance.
Step | Action | Value(s) | Yes | No | ||||
|---|---|---|---|---|---|---|---|---|
1 | Did you perform the Diagnostic System Check - Engine Controls? | -- | Go to Step 2 | Go to Diagnostic System Check - Engine Controls in Engine Controls - 2.2L | ||||
2 |
Important: Before clearing the DTC, use the scan tool in order to record the Failure Records. Using the Clear Info function erases the Failure Records from the PCM. Does the scan tool display a TFT sensor voltage greater than the specified value? | 0.33 V | Go to Intermittent Conditions in Engine Controls - 2.2L | Go to Step 3 | ||||
Does the scan tool display a TFT sensor voltage greater than the specified value? | 4.92 V | Go to Step 5 | Go to Step 4 | |||||
4 | Test the signal circuit (CKT 1227) of the TFT sensor for a short to ground between the PCM connector C1 and the AT inline 20-way connector. Refer to Testing for Short to Ground and Wiring Repairs in Wiring Systems. Did you find and correct the condition? | -- | Go to Step 11 | Go to Step 10 | ||||
Refer to Automatic Transmission Inline 20-Way Connector End View . Is the resistance within the range specified for the given transmission temperatures? | 20°C (68°F) 3106-3923 ohms 100°C (212°F) 164-190 ohms | Go to Step 6 | Go to Step 7 | |||||
6 | Measure the resistance between terminal L of the J 44152 and ground. Refer to Automatic Transmission Inline 20-Way Connector End View . Is the resistance less than the specified value? | 1,000 ohms | Go to Step 9 | Go to Intermittent Conditions in Engine Controls - 2.2L | ||||
7 |
Refer to Automatic Transmission Inline 20-Way Connector End View . Is the resistance between terminal L and any other terminal less than the specified value? | 1,000 ohms | Go to Step 9 | Go to Step 8 | ||||
8 | Replace the TFP manual valve position switch. Refer to Transmission Fluid Pressure Manual Valve Position Switch Replacement . Did you complete the replacement? | -- | Go to Step 11 | -- | ||||
9 | Replace the automatic transmission wiring harness. Refer to Wiring Harness Replacement . Did you complete the replacement? | -- | Go to Step 11 | -- | ||||
10 | Replace the PCM. Refer to Powertrain Control Module Replacement in Engine Controls - 2.2L. Did you complete the replacement? | -- | Go to Step 11 | -- | ||||
11 | Perform the following procedure in order to verify the repair:
Has the test run and passed? | -- | Go to Step 12 | Go to Step 2 | ||||
12 | With the scan tool, observe the stored information, capture info and DTC info. Does the scan tool display any DTCs that you have not diagnosed? | -- | Go to Diagnostic Trouble Code (DTC) List in Engine Controls - 2.2L | System OK |
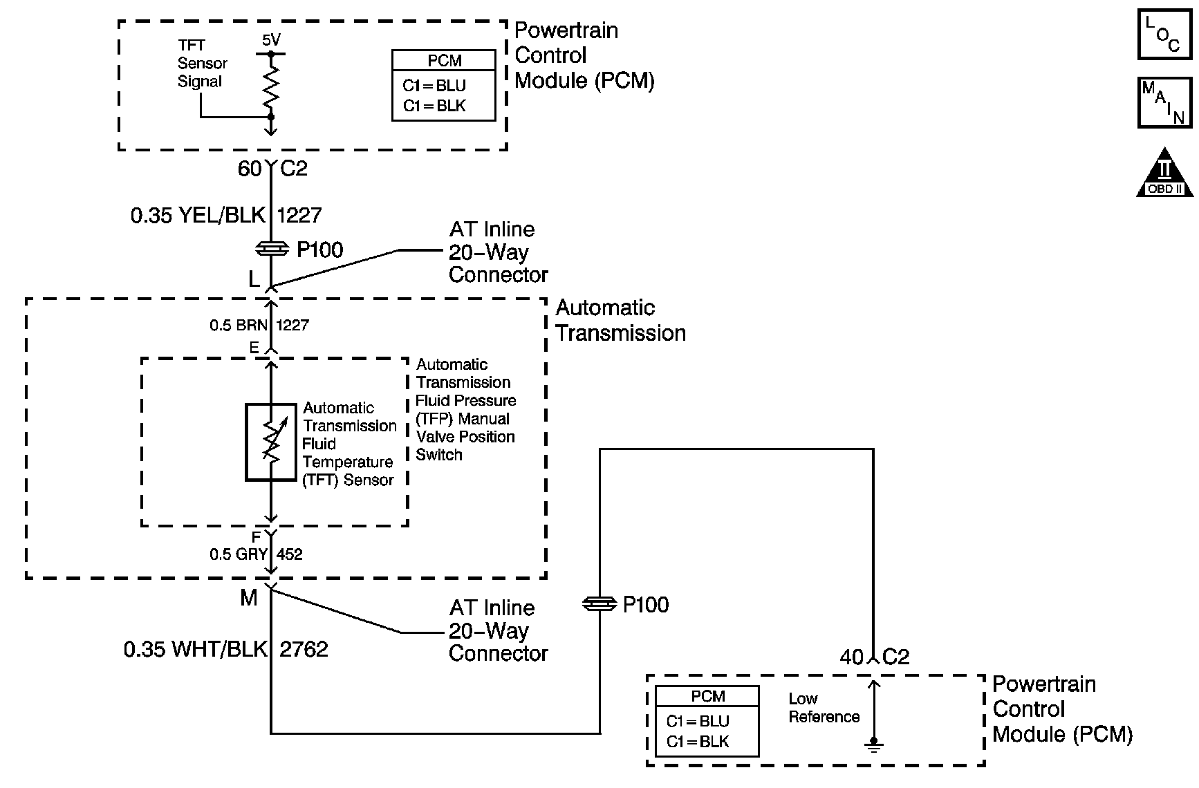
The automatic transmission fluid temperature (TFT) sensor is a thermistor. The TFT sensor is part of the automatic transmission fluid pressure (TFP) manual valve position switch. The PCM supplies a 5 volt reference signal to the sensor. When the transmission fluid is cold, the sensor resistance is high and the PCM senses a high signal voltage. As the transmission fluid warms, the sensor resistance lowers and the PCM senses lower voltage. The PCM uses the TFT reading in order to control the torque converter clutch (TCC), line pressure adjustments, and temperature compensated shifts.
When the PCM detects a continuous short to ground in the TFT circuit or the TFT sensor, then DTC P0712 sets. DTC P0712 is a type C DTC.
| • | No TFT sensor DTC P0713. |
| • | The ignition switch is in the ON position. |
The TFT voltage is 0.33 volts or less for 10 seconds.
| • | The PCM does not illuminate the malfunction indicator lamp (MIL). |
| • | The PCM freezes transmission adaptive functions. |
| • | The PCM calculates a default transmission fluid temperature based on engine coolant temperature, intake manifold air temperature, and engine run time. |
| • | The PCM records the operating conditions when the Conditions for Setting the DTC are met. The PCM stores this information as Failure Records. |
| • | The PCM stores DTC P0712 in PCM history. |
| • | A scan tool can clear the DTC. |
| • | The PCM clears the DTC from PCM history if the vehicle completes 40 warm-up cycles without a non-emission related diagnostic fault occurring. |
| • | The PCM cancels the DTC default actions when the fault no longer exists and the DTC passes. |
The numbers below refer to the step numbers on the diagnostic table.
This step tests the ability of the PCM to detect an open circuit.
This step tests the TFT sensor for correct resistance.
Step | Action | Value(s) | Yes | No | ||||
|---|---|---|---|---|---|---|---|---|
1 | Did you perform the Diagnostic System Check - Engine Controls? | -- | Go to Step 2 | Go to Diagnostic System Check - Engine Controls in Engine Controls - 3.4L | ||||
2 |
Important: Before clearing the DTC, use the scan tool in order to record the Failure Records. Using the Clear Info function erases the Failure Records from the PCM. Does the scan tool display a TFT sensor voltage greater than the specified value? | 0.33 V | Go to Intermittent Conditions in Engine Controls - 3.4L | Go to Step 3 | ||||
Does the scan tool display a TFT sensor voltage greater than the specified value? | 4.92 V | Go to Step 5 | Go to Step 4 | |||||
4 | Test the signal circuit (CKT 1227) of the TFT sensor for a short to ground between the PCM connector C2 and the AT inline 20-way connector. Refer to Testing for Short to Ground and Wiring Repairs in Wiring Systems. Did you find and correct the condition? | -- | Go to Step 11 | Go to Step 10 | ||||
Refer to Automatic Transmission Inline 20-Way Connector End View . Is the resistance within the range specified for the given transmission temperatures? | 20°C (68°F) 3106-3923 ohms 100°C (212°F) 164-190 ohms | Go to Step 6 | Go to Step 7 | |||||
6 | Measure the resistance between terminal L of the J 44152 and ground. Refer to Automatic Transmission Inline 20-Way Connector End View . Is the resistance less than the specified value? | 1,000 ohms | Go to Step 9 | Go to Intermittent Conditions in Engine Controls - 3.4L | ||||
7 |
Refer to Automatic Transmission Inline 20-Way Connector End View . Is the resistance between terminal L and any other terminal less than the specified value? | 1,000 ohms | Go to Step 9 | Go to Step 8 | ||||
8 | Replace the TFP manual valve position switch. Refer to Transmission Fluid Pressure Manual Valve Position Switch Replacement . Did you complete the replacement? | -- | Go to Step 11 | -- | ||||
9 | Replace the automatic transmission wiring harness. Refer to Wiring Harness Replacement . Did you complete the replacement? | -- | Go to Step 11 | -- | ||||
10 | Replace the PCM. Refer to Powertrain Control Module Replacement in Engine Controls - 3.4L. Did you complete the replacement? | -- | Go to Step 11 | -- | ||||
11 | Perform the following procedure in order to verify the repair:
Has the test run and passed? | -- | Go to Step 12 | Go to Step 2 | ||||
12 | With the scan tool, observe the stored information, capture info and DTC info. Does the scan tool display any DTCs that you have not diagnosed? | -- | Go to Diagnostic Trouble Code (DTC) List in Engine Controls - 3.4L | System OK |