GM Service Manual Online
For 1990-2009 cars only
Makes
🢒
Oldsmobile
🢒
2004
🢒
Alero
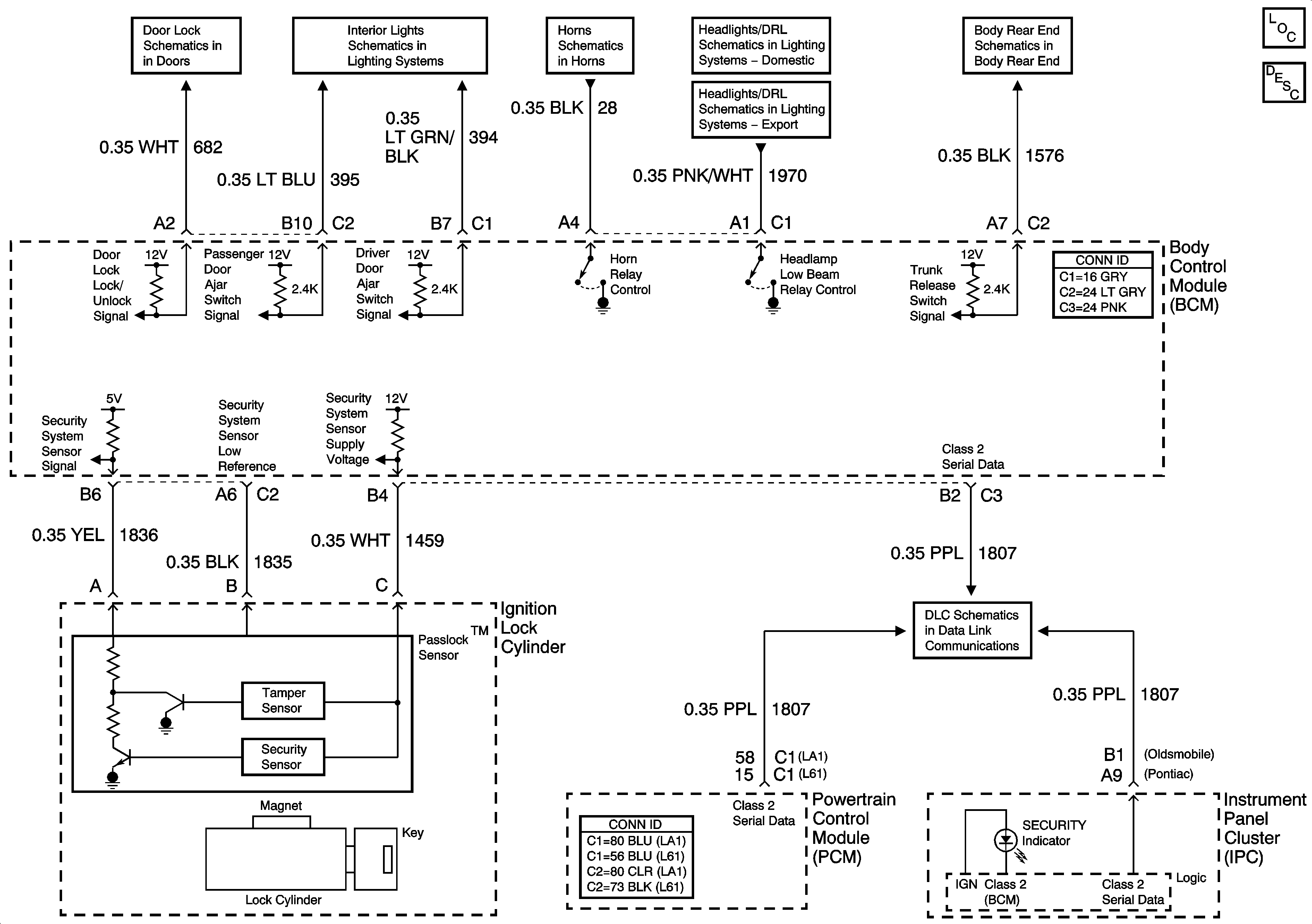
🢒 Theft Deterrent System Schematics
Theft Deterrent System Schematics
Master Electrical Component List
Theft Systems Description and Operation
Door Lock Switches
Door Jamb Switches
Horns Schematics
BCM Signals - Domestic
BCM Signals
Body Rear End Schematics
Data Link Connector (DLC) Schematics