GM Service Manual Online
For 1990-2009 cars only
Makes
🢒
Oldsmobile
🢒
2004
🢒
Alero
🢒 Backup Lamps - Switch
Backup Lamps - Switch
Backup Lamps - Switch
Master Electrical Component List
Exterior Lighting Systems Description and Operation
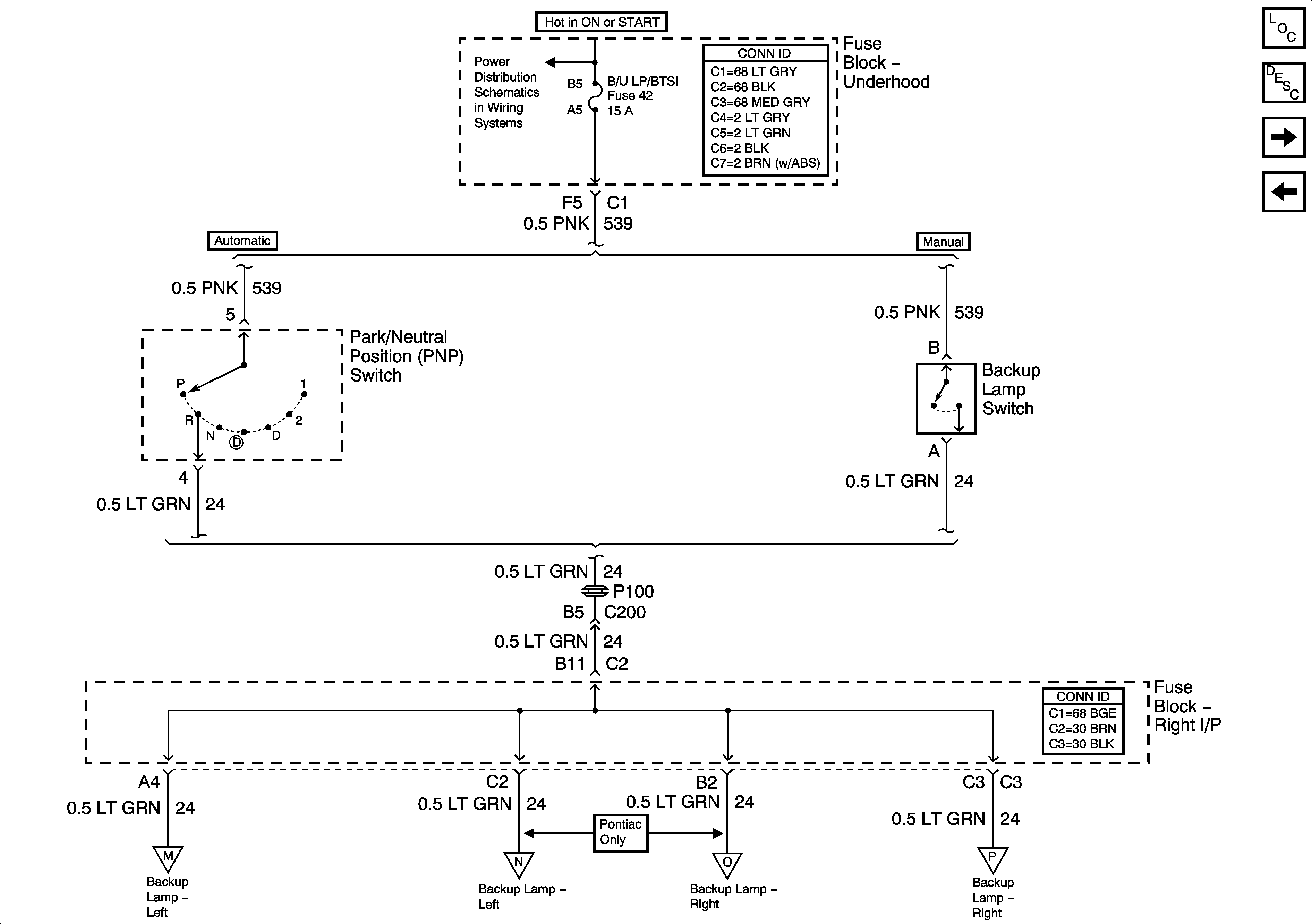
Backup Lamps
Stop Lamps
IGN SW-BATT2, AIR BAG, TURN LPS, IGN MOD, B/U LP/BTSI, PCM IGN, F/P INJR, A/C BFC, AUTO TRANS, ABS/EVO/IGN Fuses
Backup Lamps
Backup Lamps
Backup Lamps
Backup Lamps