GM Service Manual Online
For 1990-2009 cars only

PCM Message Diagnosis Low Engine Coolant Message


Object Number: 23064  Size: SF
Engine Controls Components
PSP and PNP Switches/ IAC Valve
OBD II Symbol Description Notice
ESD Notice

Circuit Description

This test checks for a low engine coolant condition. The pressurized coolant bottle is equipped with a level switch which opens when coolant level is low. The PCM monitors the state of this switch through CKT 1478 and measures the time that the switch is open. If the switch is open for longer than a calculated period of time, the PCM signals the IPC/DIC via the data link to turn on the LOW ENGINE COOLANT message.

The calculated period of time, between 2.1 and 26.3 seconds, before a low coolant condition is recognized is based on vehicle speed and acceleration. The higher vehicle speed and acceleration, the longer the time before a low coolant condition will be recognized. Low coolant level message is displayed on the IPC/DIC for the entire ignition cycle.

Diagnostic Aids

The Engine coolant level switch shares a common sensor/switch ground (CKT 451). An intermittent at any of these connections could possibly cause the Low Engine coolant message to remain ON If coolant level is OK.

If the customer complaint is that the coolant level is low but the message does not display, check the engine coolant level switch for binding or stuck closed.

Test Description

Number(s) below refer to the step number(s) on the Diagnostic Table.

  1. Checks if low coolant level is causing the message.

  2. Checks for a faulty coolant level switch.

  3. Checks CKT 451 for an open.

  4. This test checks for a short or open in CKT 1478 or a faulty PCM.

Chart C16-A - Low Engine Coolant Message

Step

Action

Value(s)

Yes

No

1

Was the Powertrain On-Board Diagnostic (OBD) System Check performed?

--

Go to Step 2

Go to Powertrain OBD System Check

2

Caution: Do not remove the pressure cap from the high fill reservoir while the engine is at normal operating temperature. An unexpected release of hot engine coolant may result in severe burns.

  1. Install the scan tool.
  2. Turn the key ON.
  3. Physically check engine coolant level.
  4. Fill the engine coolant to the proper level if necessary.
  5. Observe Eng Coolant Lvl. display on the scan tool.

Does the scan tool display OK?

--

Go to Step 3

Go to Step 4

3

  1. Disconnect the Engine coolant level switch connector.
  2. Observe Eng Coolant Lvl. display on the scan tool.

Does the scan tool display LOW?

--

Fault not present. Refer to Diagnostic Aids

Go to Step 7

4

  1. Disconnect the Engine coolant level switch connector.
  2. Jumper terminal A to terminal B (harness side).
  3. Observe Eng Coolant Lvl. display on the scan tool.

Does the scan tool display OK when jumpered and LOW when the jumper is removed?

--

Go to Step 8

Go to Step 5

5

  1. Jumper terminal A of the engine coolant level switch connector, harness side with a fused jumper to a known good ground.
  2. Observe Eng Coolant Lvl. display on the scan tool.

Does the scan tool display OK when jumpered and LOW when the jumper is removed?

--

Go to Step 13

Go to Step 6

6

  1. Turn the key to OFF.
  2. Using J 39200 disconnect the PCM connector C2 and measure resistance from terminal A of the engine coolant level switch connector to PCM connector C2 terminal 56 (harness side).

Is the resistance measured greater than the specified value?

5 ohms

Go to Step 10

Go to Step 9

7

Check for a short to ground on CKT 1478.

Was a short to ground found and repaired?

--

Go to Powertrain Control Module Diagnosis for Verify Repair

Go to Step 11

8

Check terminal contact at the Engine coolant level switch.

Was a terminal contact problem found and repaired?

--

Go to Powertrain Control Module Diagnosis for Verify Repair

Go to Step 12

9

Check terminal contact at the PCM connector C2 terminal 56.

Was a terminal contact problem found and repaired?

--

Go to Powertrain Control Module Diagnosis for Verify Repair

Go to Step 11

10

Repair open in CKT 1478.

Is the repair complete?

--

Go to Powertrain Control Module Diagnosis for Verify Repair

--

11

Replace the PCM. Refer to PCM Replacement/Programming .

Is the replacement complete?

--

Go to Powertrain Control Module Diagnosis for Verify Repair

--

12

Replace the Engine coolant level switch.

Is the replacement complete?

--

Go to Powertrain Control Module Diagnosis for Verify Repair

--

13

Repair the open in CKT 451.

Is the repair complete?

--

Go to Powertrain Control Module Diagnosis for Verify Repair

--

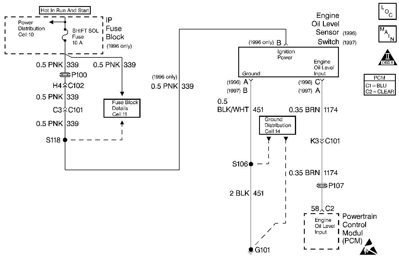
PCM Message Diagnosis Optical Oil Level Message


Object Number: 23065  Size: MF
Engine Controls Components
Engine Oil Level Sensor/ Generator/ EBTCM/ Shift Select Switch
OBD II Symbol Description Notice
ESD Notice

Circuit Description

This vehicle is equipped with an Optical Oil Level sensor to detect a low oil level condition. The sensor is powered through CKT 339 and grounded through CKT 451. The oil level input is CKT 1174 to PCM connector C2 terminal 58. The input is normally low voltage to the PCM that switches high for 1 second after ignition ON to check for system faults. Normal operation of the sensor is a low to high to low voltage system check, then, if the sensor remains low, a low oil level is indicated, if after approximately 10 seconds the signal goes high, a normal oil level is indicated. A system fault will be detected if the PCM never detects the low to high to low pulse, circuit voltage always high or always low.

Conditions for Setting the message

Test Condition

DTCs P0117, P0118 or P0603 not set.

Failure Condition

Low oil level circuit voltage is always high or always low.

Diagnostic Aids

Important: This message could be displayed if a DTC P0603 was set. Always diagnose a DTC P0603 before using this diagnostic table.

The Oil Level Problem message indicates a sensor/circuit fault and does not indicate the oil level is low.

  1. If the low to high to low transition is measured, the fault is not present at this time. Check the terminal contact. If the voltage stays low, replace the Optical Oil Level sensor.

Step

Action

Value(s)

Yes

No

1

Was the On-Board Diagnostic (OBD) System Check performed?

--

Go to Step 2

Go to OBD System Check

2

Was DTC P0603 set?

--

Go to DTC P0603

Go to Step 3

3

Important: Using the dipstick ensure engine oil is at the proper level before continuing.

  1. Disconnect the Optical Oil Level sensor connector.
  2. Turn the ignition switch ON.
  3. Using DMM J 39200 measure the voltage to ground at the ignition feed circuit at the Optical Oil Level sensor harness connector

Is the voltage the same as the value specified?

B+

Go to Step 4

Go to Step 8

4

Measure the voltage between the ignition feed circuit and the ground circuit at the Optical Oil Level sensor harness connector

Is the voltage the same as the value specified?

B+

Go to Step 5

Go to Step 9

5

Measure the voltage to ground at the Engine Oil Level Input circuit at the Optical Oil Level sensor harness connector.

Is the voltage the same as the value specified?

B+

Go to Step 6

Go to Step 10

6

  1. Reconnect the Optical Oil Level sensor connector.
  2. Turn the ignition OFF.
  3. Disconnect PCM connector C2.
  4. Connect the DMM J 39200 between the engine oil level input circuit and battery positive .
  5. Measure the voltage to battey positive as the ignition is turned ON.

Did the voltage remain at the specified value for more than 2 seconds?

B+

Go to Step 7

Fault not present. Refer to Test Descriptions

7

Check for a short to voltage on the engine oil level input circuit.

Was a short to voltage found and repaired?

--

Go to Powertrain Control Module Diagnosis for Verify Repair

Go to Step 11

8

Repair the open or shorted Ignition power circuit.

Is the repair complete?

--

Go to Powertrain Control Module Diagnosis for Verify Repair

--

9

Repair the open in the Ground circuit to the Optical Oil Level sensor.

Is the repair complete?

--

Go to Powertrain Control Module Diagnosis for Verify Repair

--

10

Check for an open or short to ground on the engine oil level input circuit. Repair as needed.

Was an open or short to ground condition repaired?

--

Go to Powertrain Control Module Diagnosis for Verify Repair

Go to Step 12

11

Replace the Optical Oil Level sensor.

Is the replacement complete?

--

Go to Powertrain Control Module Diagnosis for Verify Repair

--

12

Replace the PCM. Refer to PCM Replacement/Programming .

Is the replacement complete?

--

Go to Powertrain Control Module Diagnosis for Verify Repair

--