GM Service Manual Online
For 1990-2009 cars only
Makes
🢒
Oldsmobile
🢒
1997
🢒
Aurora
🢒 Front and Rear Heated Oxygen Sensors
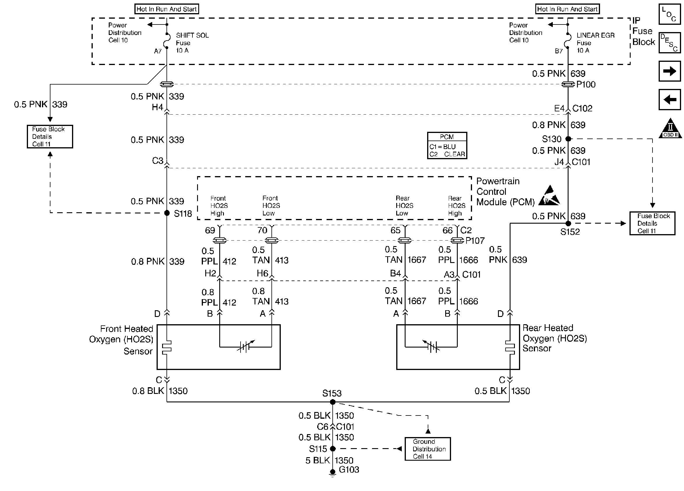
Front and Rear Heated Oxygen Sensors
Front and Rear Heated Oxygen Sensors
PSP and PNP Switches/ IAC Valve
Pre and Post Convertor Heated Oxygen Sensors
Engine Controls Components
OBD II Symbol Description Notice
ESD Notice