GM Service Manual Online
For 1990-2009 cars only
Makes
🢒
Oldsmobile
🢒
1998
🢒
Aurora
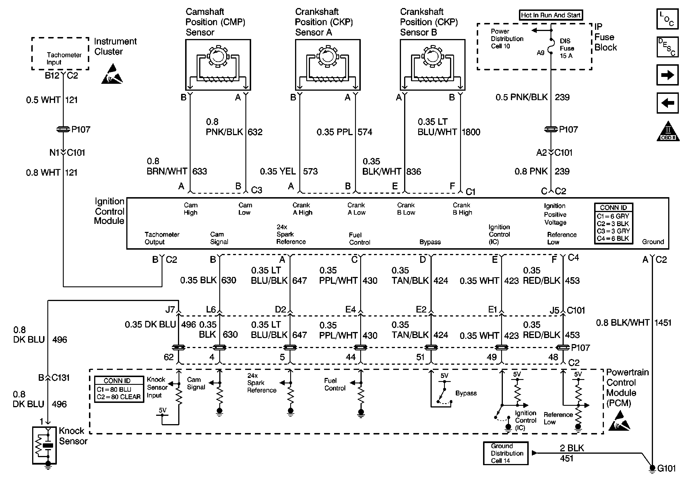
🢒 Cell 21: Ignition Control Module
Cell 21: Ignition Control Module
Cell 21: Ignition Control Module
Engine Controls Components
Powertrain Control Module Description
Cell 21: Fuel Pump Control, Theft Deterrent
Cell 21: MIL Control, DLC
OBDII Symbol Description Notice
Handling ESD Sensitive Parts Notice
Power Distribution Schematics
Powertrain Control Module Connector End Views
Handling ESD Sensitive Parts Notice
Ground Distribution Schematics
Engine Controls Connector End Views