GM Service Manual Online
For 1990-2009 cars only
Makes
🢒
Oldsmobile
🢒
1998
🢒
Aurora
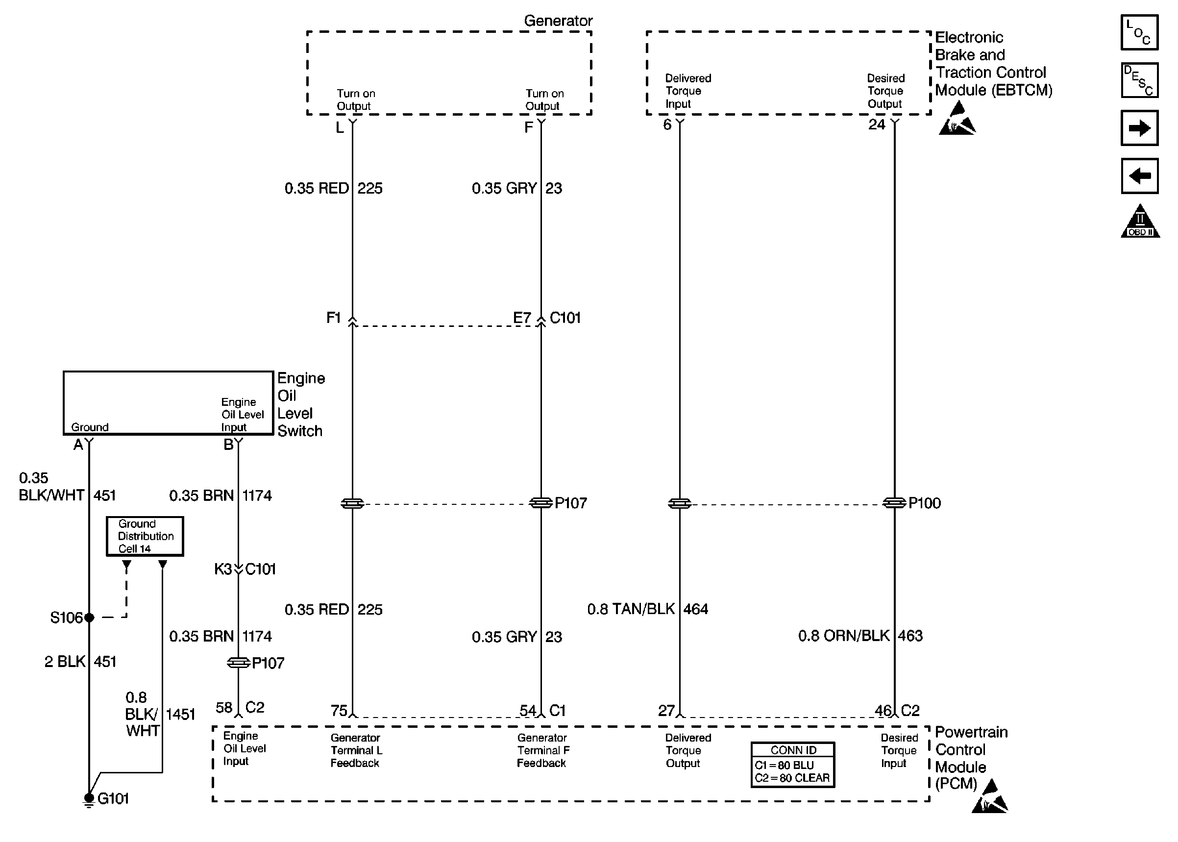
🢒 Cell 21: Engine Oil Level Switch, Generator, EBTCM
Cell 21: Engine Oil Level Switch, Generator, EBTCM
Cell 21: Engine Oil Level Switch, Generator, EBTCM
Engine Controls Components
Powertrain Control Module Description
Cell 21: PNP Switch, Shift Select Switch
Cell 21: Transaxle - Sensors and TR Switch
OBDII Symbol Description Notice
Handling ESD Sensitive Parts Notice
Sliding Door Jamb Contact Plate Replacement Door Mounted
Powertrain Control Module Connector End Views
Handling ESD Sensitive Parts Notice