GM Service Manual Online
For 1990-2009 cars only

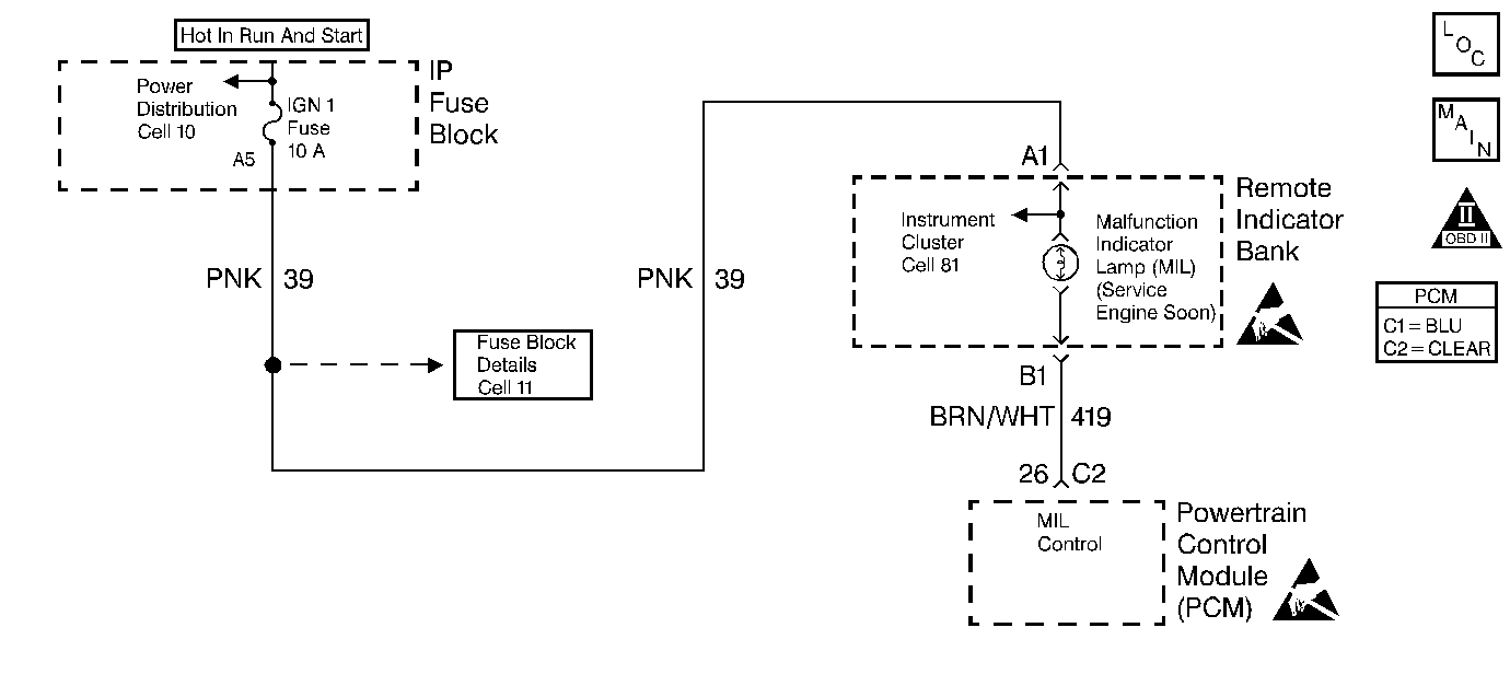
Object Number: 191657  Size: SF
Engine Controls Components
Cell 21: MIL Control, DLC
OBD II Symbol Description Notice
ESD Notice
ESD Notice

Circuit Description

The PCM contains chips called Output Driver Modules that provide 7 switchable ground outputs for operating solenoids, relays, telltales, and other devices. Each of these ground outputs has fault lines that feed back to the PCM's microprocessor. When the output is OFF, the output driver should receive the 12 volts fed to the solenoid, relay, etc. When the output is ON, it should receive 0 volt since it is grounding the output. If it sees 0 volt when the output is OFF or 12 volts when the output is ON, it sets the fault line low. DTC P1641 is used to monitor the fault line of the Service Engine Soon MIL.

Conditions for Running the DTC

    •  DTC P1640 not set.
    •  Engine running at least 10 seconds.

Conditions for Setting the DTC

Fault line is low for 2.5 seconds.

Action Taken When the DTC Sets

    •  The Malfunction Indicator Lamp (MIL) will not illuminate.
    •  No message will be displayed.

Conditions for Clearing the DTC

    •  A History DTC will clear after forty consecutive warm-up cycles with no failures of any non-emission related diagnostic test.
    •  A Last Test Failed (current) DTC will clear when the diagnostic runs and does not fail.
    • Use a scan tool to clear DTCs.
    • Interrupting PCM battery voltage may or may not clear DTCs. This practice is not recommended. Refer to Clearing Diagnostic Trouble Codes in PCM Description and Operation.

Diagnostic Aids

Use the Failure Rec. to aid in diagnosing an intermittent fault. Use the data captured when the DTC set to determine if an open or shorted condition caused the DTC to set.

Ensure no DTCs are set that maybe commanding the MIL lamp ON.

Test Description

Number(s) below refer to the step number(s) on the Diagnostic Table.

  1. After 5 seconds the PCM should turn the MIL ON.

  2. Checking if the PCM is in control of the MIL.

  3. Checking the fault line status to see if the fault is PCM or wiring.

Step

Action

Value(s)

Yes

No

1

Did you perform the Powertrain On-Board Diagnostic (OBD) System Check?

--

Go to Step 2

Go to Powertrain On Board Diagnostic (OBD) System Check

2

Turn the key ON.

After 5 seconds is the SERVICE ENGINE SOON MIL ON?

--

Go to Step 3

Go to Step 4

3

Using a scan tool command the MIL lamp OFF.

Does the MIL lamp turn OFF?

--

Fault not present. Refer to Diagnostic Aids

Go to Step 8

4

Using a scan tool view the Malfunction Ind Lamp Driver.

Does the display indicate OVERCURRENT?

--

Go to Step 5

Go to Step 6

5

  1. Record fluid life indexes, turn the key to LOCK and wait 30 seconds.
  2. Disconnect PCM connector C2.
  3. Remove the fuse for the MIL ignition feed.
  4. Turn the key ON.
  5. Using DMM J 39200 measure the voltage to ground at PCM connector C2 terminal 26 with the key ON.

Is the voltage more than the value specified?

0.5 volts

Go to Step 9

Go to Step 13

6

  1. Record fluid life indexes, turn the key to LOCK and wait 30 seconds.
  2. Disconnect PCM connector C2.
  3. Jumper PCM connector C2 terminal 26 to ground.

Is the MIL light ON?

--

Go to Step 13

Go to Step 7

7

Check the condition of the fuse for the MIL ignition feed.

Is the fuse blown?

--

Go to Step 10

Go to Step 11

8

  1. Record fluid life indexes, turn the key to LOCK and wait 30 seconds.
  2. Disconnect PCM connector C2.
  3. Turn the key ON.

Is the MIL lamp illuminated?

--

Go to Step 12

Go to Step 13

9

Repair short to voltage on the MIL control circuit. Refer to Wiring Repairs in Wiring Systems.

Is the repair complete?

--

Go to Powertrain Control Module Diagnosis for Verify Repair

--

10

  1. Repair short to ground in the MIL ignition feed circuit. Refer to Wiring Repairs in Wiring Systems.
  2. Replace fuse if blown.

Is the repair complete?

--

Go to Powertrain Control Module Diagnosis for Verify Repair

--

11

Repair open in the MIL control circuit, the MIL ignition feed circuit or replace open MIL lamp. Refer to Wiring Repairs in Wiring Systems.

Is the repair complete?

--

Go to Powertrain Control Module Diagnosis for Verify Repair

--

12

Repair the short to ground in the MIL control circuit. Refer to Wiring Repairs in Wiring Systems.

Is the repair complete?

--

Go to Powertrain Control Module Diagnosis for Verify Repair

--

13

  1. Check terminal contact at the PCM connector C2 terminal 26.
  2. Repair terminal contact if needed. Refer to Wiring Repairs

Was terminal contact repaired?

--

Go to Powertrain Control Module Diagnosis for Verify Repair

Go to Step 14

14

Replace the PCM. Refer to Powertrain Control Module Replacement/Programming .

Is the replacement complete?

--

Go to Powertrain Control Module Diagnosis for Verify Repair

--