GM Service Manual Online
For 1990-2009 cars only

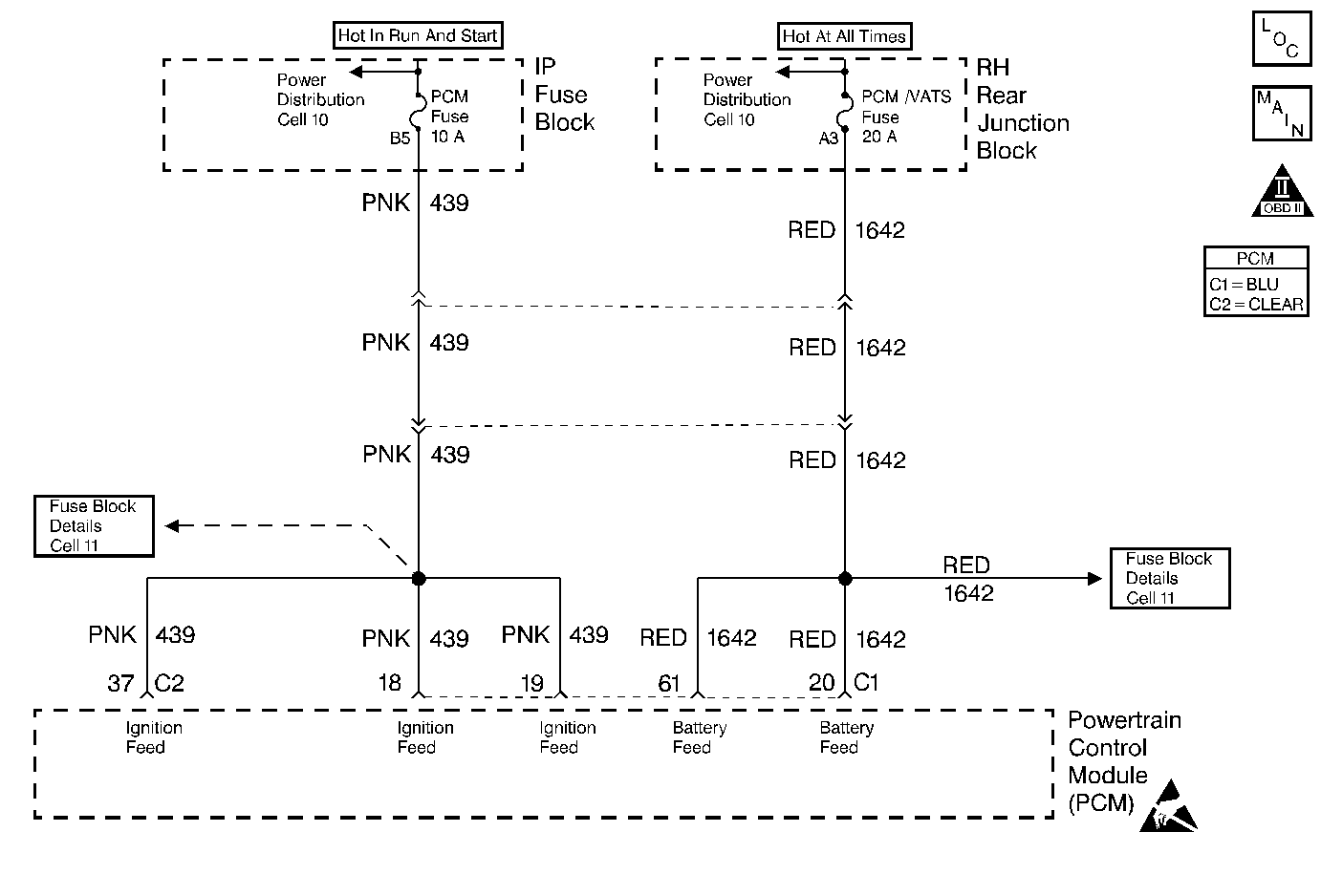
Object Number: 191672  Size: MF
Cell 21: PCM Power and Grounds
Engine Controls Components

Circuit Description

The PCM is powered with 5 power feeds. Two of these feeds are from the battery, the other three are from the ignition switch and are called Ignition 1, Ignition 0 and Ignition Supplement. The ignition switch feeds are powered any time the key is in the CRANK , RUN or ACC positions. This diagnostic test is used to monitor the voltages received by the PCM at connector C1 terminals 18 and 19. When the engine is running, the PCM will compare the Ignition 1 voltage it receives at connector C1 terminal 19 to the Ignition 0 voltage it receives at connector C1 terminal 18. If the voltages are more than 2 volts different for 5 seconds, DTC P1634 will set.

Conditions for Running the DTC

Engine running

Conditions for Setting the DTC

Voltage difference between Ignition 1, PCM C1-19, and Ignition 0, PCM C1-18, inputs greater than 2 volts for 5 seconds.

Action Taken When the DTC Sets

    •  The PCM will illuminate the malfunction indicator lamp (MIL) when the diagnostic runs and fails.
    •  The PCM will record operating conditions at the time the diagnostic fails. This information will be stored in the Freeze Frame and Failure Records.

Conditions for Clearing the MIL/DTC

    •  The PCM will turn the MIL OFF after three consecutive drive trips that the diagnostic runs and does not fail.
    •  A Last Test Failed (current) DTC will clear when the diagnostic runs and does not fail.
    •  A History DTC will clear after forty consecutive warm-up cycles with no failures of any emission related diagnostic test.
    • Use a scan tool to clear DTCs.
    • Interrupting PCM battery voltage may or may not clear DTCs. This practice is not recommended. Refer to Clearing Diagnostic Trouble Codes in PCM Description and Operation.

Diagnostic Aids

If this DTC is intermittent check terminal contact at the PCM and the condition of the CKT 439 splice for an intermittent open condition.

If the Ignition 0 to the PCM is lost the vehicle will still run but some outputs may not function, if the Ignition 1 voltage is lost or goes below 5.5 volts the vehicle will not run but DTC P1634 should set.

Step

Action

Value(s)

Yes

No

1

Did you perform the Powertrain On-Board Diagnostic (OBD) System Check?

--

Go to Step 2

Go to Powertrain On Board Diagnostic (OBD) System Check

2

Turn the key ON.

Is DTC P0560 also set?

--

Go to DTC P0560 System Voltage

Go to Step 3

3

  1. Using the scan tool observe both the Ignition 0 and the Ignition 1 displays.
  2. Compare both readings to each other.

Are the voltages both within each other by the value specified?

0.5 volts

Go to Step 4

Go to Step 5

4

  1. Using the scan tool, clear this DTC.
  2. Start and idle the engine. Refer to Diagnostic Aids .
  3. After 10 seconds in DTC Info observe the DTC status.

Did this DTC fail this ignition cycle?

--

Go to Step 6

Fault not present.

Go to Diagnostic Aids

5

Check for an open circuit or poor splice connection on the circuit that has low voltage. Refer to Wiring Repairs in Wiring Systems.

Was a repair made to a circuit or the splice?

--

Go to Powertrain Control Module Diagnosis for Verify Repair

Go to Step 6

6

  1. Check terminal contact at PCM connector C1 terminals 18 and 19.
  2. Repair terminal contact if needed.

Was terminal contact repaired?

--

Go to Powertrain Control Module Diagnosis for Verify Repair

Go to Step 7

7

Replace the PCM. Refer to Powertrain Control Module Replacement/Programming .

Is the replacement complete?

--

Go to Powertrain Control Module Diagnosis for Verify Repair

--