GM Service Manual Online
For 1990-2009 cars only

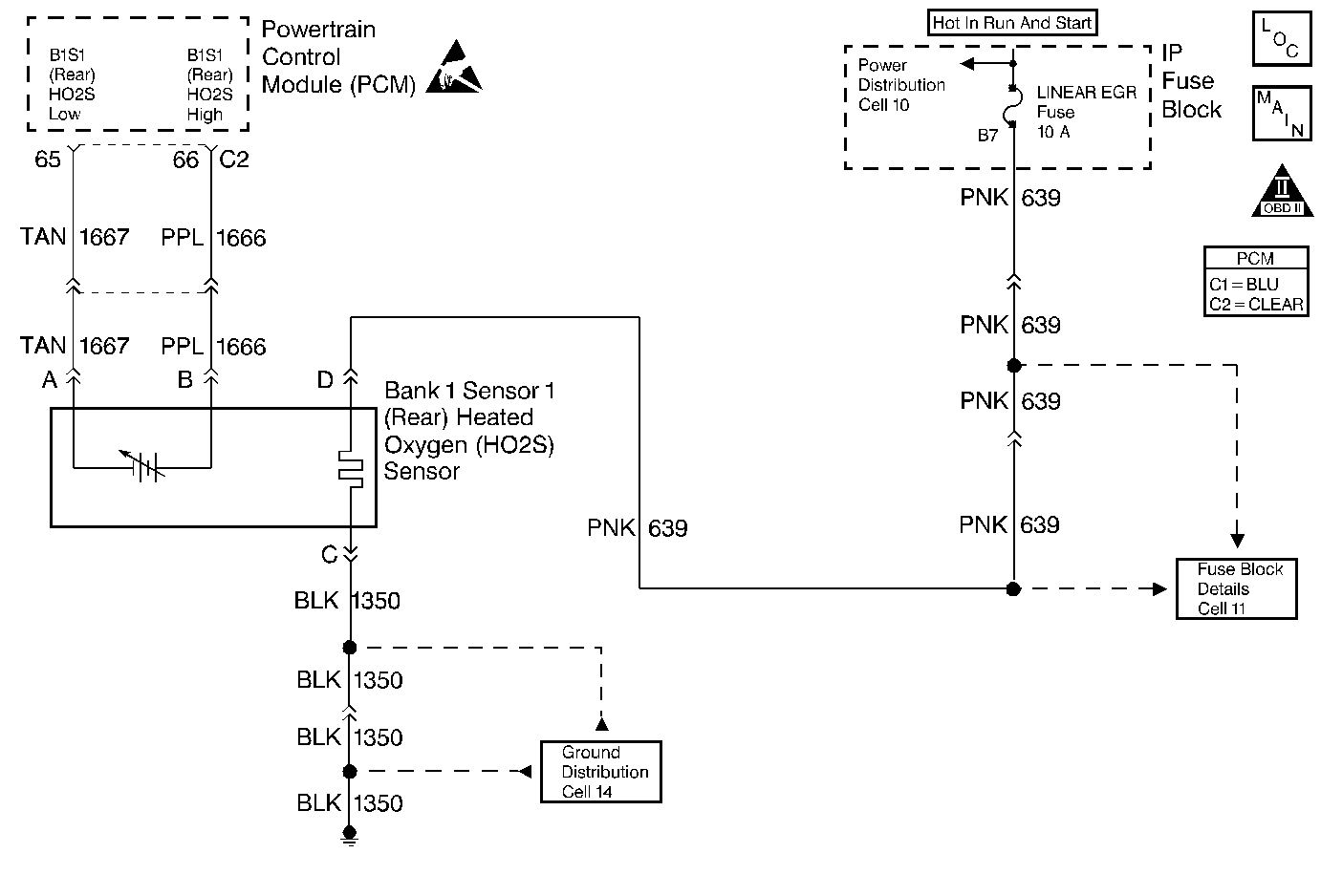
Object Number: 191607  Size: MF
ESD Notice
Cell 21: Front, Rear Heated Oxygen Sensors
Engine Controls Components
OBD II Symbol Description Notice

Circuit Description

This diagnostic test is used in conjunction with the rear oxygen sensor slow response diagnostic test (P0133). The ratio of the response times that were calculated are compared to calibrated limits. If the number of both lean-to-rich transitions, switches, and rich-to-lean transitions were both zero, then ratios will be set to 0. Otherwise, the ratio is calculated based on which average response time was greater.

Conditions for Running the DTC

    •  DTCs P0117, P0118, P0121, P0122, P0123, P0135 and P1133 are not set.
    •  Engine Metal Overtemperature Protection (DTC P1258) not active.
    •  Average response time calculations completed for this ignition cycle.
    •  This diagnostic test not completed this ignition cycle.

Conditions for Setting the DTC

    •  Ratio of right O2 LR/RL times is more than 64 counts.
    •  Ratio of right O2 LR/RL times is more than 48 counts.

Action Taken When the DTC Sets

    •  The PCM will illuminate the Malfunction Indicator Lamp (MIL) when the diagnostic runs and fails.
    •  The PCM will record operating conditions at the time the diagnostic fails. This information will be stored in the Freeze Frame and Failure Records.

Conditions for Clearing the MIL/DTC

    •  The PCM will turn the MIL OFF after three consecutive drive trips that the diagnostic runs and does not fail.
    •  A Last Test Failed (current) DTC will clear when the diagnostic runs and does not fail.
    •  A History DTC will clear after forty consecutive warm-up cycles with no failures of any emission related diagnostic test.
    • Use a scan tool to clear DTCs.
    • Interrupting PCM battery voltage may or may not clear DTCs. This practice is not recommended. Refer to Clearing Diagnostic Trouble Codes in Powertrain Control Module Description .

Diagnostic Aids

Notice: Do not solder heated oxygen sensor wires. Soldering the wires will result in the loss of the air reference to the sensor. Refer to Engine Electrical for proper wire and connection repair techniques.

If fault is not present perform Powertrain Ground Check and also review Failure Rec. to determine conditions under which and how long ago the DTC set.

Test Description

The numbers below refer to the step numbers on the Diagnostic Table.

  1. Checking if other possible causes of this DTC have already been diagnosed.

  2. With the engine running warm, coolant at least 85°C (185°F) and at fast idle, the oxygen sensor voltage should rapidly swing above 0.60 volt and below 0.30 volt.

  3. Checking if the oxygen sensor voltage is swinging between rich and lean very slowly, or not at all.

  4. Checking for causes or oxygen sensor failure. If sensor is replaced without finding cause of contamination, contamination of new sensor may result.

Step

Action

Value(s)

Yes

No

1

Did you perform the Powertrain On-Board Diagnostic (OBD) System Check?

--

Go to Step 2

Go to Powertrain On Board Diagnostic (OBD) System Check

2

Use a scan tool.

Are any other DTCs set?

--

Go to other DTCs first

Go to Step 3

3

  1. Start the engine.
  2. Observe the ECT display and operate engine until temperature reaches the value specified.
  3. Ckeck both the Engine Speed and the Bnk 1 Sns 1 display.
  4. Operate engine at a steady speed within the range specified for two minutes.

After the two minutes does the rear cylinder bank oxygen sensor voltage rapidly swing above and below the range specified?

85°C (185°F)

1200 - 2000 RPM

0.30 - 0.60 volts

Go to Step 4

Go to Step 5

4

With engine running at 1200-2000 RPM, view the scan tool display Loop Status.

Does the display indicate Closed?

--

Fault not present

Go to Diagnostic Aids

Go to Step 8

5

Does the rear cylinder bank oxygen sensor voltage remain between the range specified longer than it swings outside this range?

0.30 - 0.60 volts

Go to Step 8

Go to Step 6

6

  1. Check the terminal contact at PCM connector C2 terminals 65 and 66.
  2. Repair terminal contact if needed.

Was terminal contact repaired?

--

Go to Powertrain Control Module Diagnosis for Verify Repair

Go to Step 7

7

  1. Check the terminal contact at the rear cylinder bank oxygen sensor connector.
  2. Repair terminal contact if needed.

Was terminal contact repaired?

--

Go to Powertrain Control Module Diagnosis for Verify Repair

Go to Step 8

8

  1. Replace rear cylinder bank oxygen sensor.
  2. Check for possible causes of oxygen sensor contamination:
  3. • Leaded fuel.
    • Incorrect gasket sealer.
    • Over rich operation.

Were any of these possible causes found?

--

Take necessary corrective action

Go to Fuel System Diagnosis