GM Service Manual Online
For 1990-2009 cars only

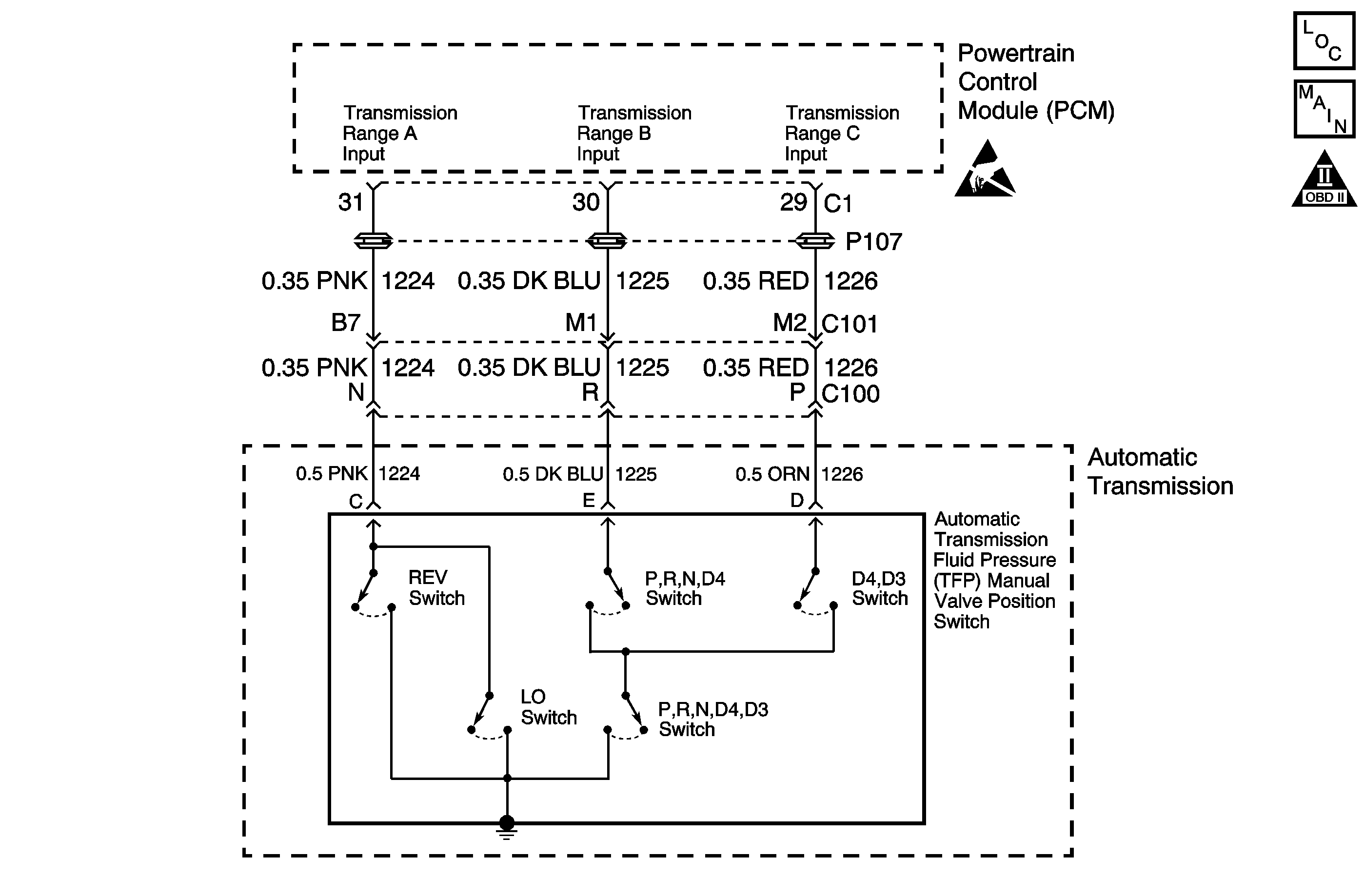
Object Number: 476199  Size: MF
Automatic Transmission Components
Automatic Transmission Controls Schematics
OBD II Symbol Description Notice
Handling ESD Sensitive Parts Notice

Circuit Description

The Automatic Transmission Fluid Pressure Manual Valve Position Switch (TFP Val. Position Sw.) consists of five normally open switches. Ignition voltage is applied to each of the switches. By grounding one or more of these switches with fluid pressure from the manual valve, the Powertrain Control Module (PCM) can detect which gear range is selected.

When the PCM detects an invalid combination of the TFP Val. Position Sw., then DTC P1810 sets. DTC P1810 is a Type B DTC.

Conditions for Setting the DTC

    • No MAP DTCs P0101, P0102 or P0103.
    • No TP DTCs P0121, P0122 or P0123.
    • No VSS DTCs P0502 or P0503.
    • No A/T ISS DTCs P0716 or P0717.
    • Ignition voltage is 10-17 volts.
    • The engine run time is greater than 5 seconds.
    • The engine is not in fuel cut off.

All of the above conditions must be true with any one of the following failure cases:

Case 1

An illegal TFP Val Position Sw. value of On/On/On or On/Off/On exists for 4 seconds.

Case 2

    • The vehicle speed is greater than 8 km/h (5 mph).
    • The throttle angle is greater than 11 degrees.
    • The delivered torque is 109-270 N·m (80-200 lb ft).
    • The TFP Val. Position Sw. indicates P/N and the ratio indicates reverse or drive for 4 seconds.

Case 3

    • The vehicle speed is greater than 8 km/h (5 mph).
    • The throttle angle is greater than 11 degrees.
    • The delivered torque is 109-270 N·m (80-200 lb ft).
    • The TFP Val. Position Sw. indicates reverse and the ratio indicates drive for 4 seconds.

Case 4

    • The vehicle speed is greater than 8 km/h (5 mph).
    • The throttle angle is greater than 7 degrees.
    • The delivered torque is 38-188 N·m (30-150 lb ft).
    • The TFP Val. Position Sw. indicates D4, D3, D2 or D1 and the ratio indicates reverse for 3 seconds.

Case 5

    • The engine is OFF.
    • The TFP Val. Position Sw. indicates D2 initially and does not indicate P/N within 4.95 seconds after the engine is running.
    • Discontinue Case #5 if the engine is running for 5 seconds.
    • The vehicle speed is less than 8 km/h (5 mph).
    • The transmission fluid temperature is greater than -18°C (0°F).

Action Taken When the DTC Sets

    • The PCM illuminates the Malfunction Indicator Lamp (MIL).
    • SERVICE ENGINE SOON displays on the Driver Information Center (DIC).
    • The PCM substitutes the value of the previous TFP Val. Position Sw. if it is consistent with the P/N status.
    • The PCM commands default line pressure.
    • The PCM inhibits TCC engagement.
    • The PCM disables steady state adapts.
    • The PCM disables garage shift adapts.
    • DTC P1810 is stored in the PCM history.

Conditions for Clearing the MIL/DTC

    • The PCM turns OFF the MIL after three consecutive trips without a failure reported.
    • A scan tool can clear the DTC from the PCM history. The PCM clears the DTC from the PCM history if the vehicle completes 40 warm-up cycles without a failure reported.
    • The PCM cancels the DTC default actions when the fault no longer exists and the ignition is OFF long enough in order to power down the PCM.

Diagnostic Aids

    • Inspect the wiring for poor electrical connections at the PCM, the transmission 20-way connector, the 5-way TFP Val. Position Sw. connector and all other circuit connecting points for the following conditions:
       - A bent terminal
       - A backed out terminal
       - A damaged terminal
       - Poor terminal tension
       - A chafed wire
       - A broken wire inside the insulation
       - Moisture intrusion
       - Corrosion
    • When diagnosing for an intermittent short or open, massage the wiring harness while watching the test equipment for a change.
    • If a transmission overhaul was performed, ensure that the transmission fluid is at the proper level. A low fluid condition may set this DTC.
    • Diagnose DTC 1520 first, if set.

Test Description

The numbers below refer to the step numbers on the diagnostic table.

  1. This step ensures that you verify the transmission fluid level, and that the fluid is at the proper level.

  2. Important: The scan tool display indicates ON and OFF:

    ON = Switch is Closed

    OFF = Switch is Open

    This step isolates the automatic transmission wiring harness from the engine wiring harness. If the scan tool display does not match the value column, the source of the DTC may be in the engine wiring harness.

  3. This step uses the jumper harness in order to test the engine wiring harness circuits. With this step, the scan tool displays a good circuit 1224.

  4. This step uses the jumper harness in order to test the automatic transmission wiring harness. If the resistance does not match the value column, then either the automatic transmission wiring harness or the TFP Val. Position Sw. is the source of the DTC. One DMM probe is connected to terminal N of the automatic transmission wiring harness. The other DMM probe is then connected to the transmission case. This step determines whether circuit 1224 is faulty.

  5. The engine is running so that transmission fluid is applied to the pressure switches. The ohmmeter verifies that the automatic transmission wiring harness circuits are open. This step verifies that circuit 1224 is faulty.

DTC P1810 Transmission Fluid Pressure Manual Valve Position Switch Assembly Circuit Malfunction

Step

Action

Value(s)

Yes

No

1

Was the Powertrain On-Board Diagnostic (OBD) System Check performed?

--

Go to Step 2

Go to Powertrain On Board Diagnostic (OBD) System Check

2

Have you performed the transmission fluid checking procedure?

--

Go to Step 3

Go to Transmission Fluid Check

3

  1. Install the Scan Tool .
  2. With the engine OFF, turn the ignition switch to the RUN position.
  3. Important: Before clearing the DTC(s), use the scan tool in order to record the Freeze Frame and Failure Records for reference. Using the Clear Info function will erase the stored Freeze Frame and Failure Records from the PCM.

  4. Record the DTC Freeze Frame and Failure Records, then clear the DTC(s).
  5. Select the TFP Switch A/B/C data parameter.
  6. Disconnect the transmission 20-way connector.

Does the scan tool display match the specified parameters?

Range A/B/C

Off Off Off

Go to Step 17

Go to Step 4

4

Does the scan tool display match the specified parameters?

Range A/B/C

On Off Off

Go to Step 5

Go to Step 6

5

Inspect circuit 1224 of the engine wiring harness for a short to ground.

Refer to General Electrical Diagnosis in Wiring Systems.

Did you find and correct the condition?

--

Go to Step 45

Go to Step 43

6

Does the scan tool display match the specified parameters?

Range A/B/C

Off On Off

Go to Step 7

Go to Step 8

7

Inspect circuit 1225 of the engine wiring harness for a short to ground.

Refer to General Electrical Diagnosis in Wiring Systems.

Did you find and correct the condition?

--

Go to Step 45

Go to Step 43

8

Does the scan tool display match the specified parameters?

Range A/B/C

Off Off On

Go to Step 9

Go to Step 10

9

Inspect circuit 1226 of the engine wiring harness for a short to ground.

Refer to General Electrical Diagnosis in Wiring Systems.

Did you find and correct the condition?

--

Go to Step 45

Go to Step 43

10

Does the scan tool display match the specified parameters?

Range A/B/C

On On Off

Go to Step 11

Go to Step 12

11

  1. Inspect circuit 1224 of the engine wiring harness for a short to ground.
  2. Inspect circuit 1225 of the engine wiring harness for a short to ground.
  3. Inspect circuits 1224 and 1225 for a short together.

Refer to General Electrical Diagnosis in Wiring Systems.

Did you find and correct the condition?

--

Go to Step 45

Go to Step 43

12

Does the scan tool display match the specified parameters?

Range A/B/C

On Off On

Go to Step 13

Go to Step 14

13

  1. Inspect circuit 1224 of the engine wiring harness for a short to ground.
  2. Inspect circuit 1226 of the engine wiring harness for a short to ground.
  3. Inspect circuits 1224 and 1226 for a short together.

Refer to General Electrical Diagnosis in Wiring Systems.

Did you find and correct the condition?

--

Go to Step 45

Go to Step 43

14

Does the scan tool display match the specified parameters?

Range A/B/C

Off On On

Go to Step 15

Go to Step 16

15

  1. Inspect circuit 1225 of the engine wiring harness for a short to ground.
  2. Inspect circuit 1226 of the engine wiring harness for a short to ground.
  3. Inspect circuits 1225 and 1226 for a short together.

Refer to General Electrical Diagnosis in Wiring Systems.

Did you find and correct the condition?

--

Go to Step 45

Go to Step 43

16

  1. Inspect circuit 1224 of the engine wiring harness for a short to ground.
  2. Inspect circuit 1225 of the engine wiring harness for a short to ground.
  3. Inspect circuit 1226 of the engine wiring harness for a short to ground.
  4. Inspect circuits 1224, 1225, and 1226 for a short together.

Refer to General Electrical Diagnosis in Wiring Systems.

Did you find and correct the condition?

--

Go to Step 45

Go to Step 43

17

  1. Install the J 39775 Jumper Harness to the engine side of the 20-way connector.
  2. Using the J 35616-A Connector Test Adapter Kit, connect a fused jumper from terminal N to a known good ground.

Does the scan tool display match the specified parameters?

Range A/B/C

On Off Off

Go to Step 23

Go to Step 18

18

Does the scan tool display match the specified parameters?

Range A/B/C

Off Off Off

Go to Step 19

Go to Step 20

19

Inspect circuit 1224 of the engine wiring harness for an open.

Refer to General Electrical Diagnosis in Wiring Systems.

Did you find and correct the condition?

--

Go to Step 45

Go to Step 43

20

Does the scan tool display match the specified parameters?

Range A/B/C

On On Off

Go to Step 21

Go to Step 22

21

Inspect circuits 1224 and 1225 of the engine wiring harness for a short together.

Refer to General Electrical Diagnosis in Wiring Systems.

Did you find and correct the condition?

--

Go to Step 45

Go to Step 43

22

Inspect circuits 1224 and 1226 of the engine wiring harness for a short together.

Refer to General Electrical Diagnosis in Wiring Systems.

Did you find and correct the condition?

--

Go to Step 45

Go to Step 43

23

Connect a fused jumper from terminal R to a known good ground.

Does the scan tool display match the specified parameters?

Range A/B/C

Off On Off

Go to Step 28

Go to Step 24

24

Does the scan tool display match the specified parameters?

Range A/B/C

Off Off Off

Go to Step 25

Go to Step 26

25

Inspect circuit 1225 of the engine wiring harness for an open.

Refer to General Electrical Diagnosis in Wiring Systems.

Did you find and correct the condition?

--

Go to Step 45

Go to Step 43

26

Does the scan tool display match the specified parameters?

Range A/B/C

Off On On

Go to Step 27

Go to Step 28

27

Inspect circuits 1225 and 1226 of the engine wiring harness for a short together.

Refer to General Electrical Diagnosis in Wiring Systems.

Did you find and correct the condition?

--

Go to Step 45

Go to Step 43

28

Connect a fused jumper from terminal P to a known good ground.

Does the scan tool display match the specified parameters?

Range A/B/C

Off Off On

Go to Step 30

Go to Step 29

29

Inspect circuit 1226 of the engine wiring harness for an open.

Refer to General Electrical Diagnosis in Wiring Systems.

Did you find and correct the condition?

--

Go to Step 45

Go to Step 43

30

  1. Disconnect the J 39775 Jumper Harness from the engine side of the 20-way connector.
  2. Install the J 39775 Jumper Harness to the transmission side of the 20-way connector.
  3. Using the J 35616-A Connector Test Adapter kit, connect the J 39200 Digital Multimeter (DMM) from terminal N to the transmission case and measure the resistance.

Is the resistance less than the specified value?

1000 ohms

Go to Step 31

Go to Step 32

31

Inspect circuit 1224 of the automatic transmission wiring harness for a short to ground.

Refer to General Electrical Diagnosis in Wiring Systems.

Did you find the condition?

--

Go to Step 44

Go to Step 42

32

Measure the resistance from terminal R to the transmission case.

Is the resistance less than the specified value?

1000 ohms

Go to Step 33

Go to Step 34

33

Inspect circuit 1225 of the automatic transmission wiring harness for a short to ground.

Refer to General Electrical Diagnosis in Wiring Systems.

Did you find the condition?

--

Go to Step 44

Go to Step 42

34

Measure the resistance from terminal P to the transmission case.

Is the resistance less than the specified value?

1000 ohms

Go to Step 35

Go to Step 36

35

Inspect circuit 1226 of the automatic transmission wiring harness for a short to ground.

Refer to General Electrical Diagnosis in Wiring Systems.

Did you find the condition?

--

Go to Step 44

Go to Step 42

36

  1. With the engine running at IDLE, set the parking brake and block the wheels.
  2. Place the gear select lever in the reverse position.
  3. Measure the resistance from terminal N to the transmission case.

Is the resistance less than the specified value?

5 ohms

Go to Step 38

Go to Step 37

37

Inspect circuit 1224 of the automatic transmission wiring harness for an open.

Refer to General Electrical Diagnosis in Wiring Systems.

Did you find the condition?

--

Go to Step 44

Go to Step 42

38

  1. Place the gear select lever in the D3 position.
  2. Measure the resistance from terminal R to the transmission case.

Is the resistance less than the specified value?

5 ohms

Go to Step 40

Go to Step 39

39

Inspect circuit 1225 of the automatic transmission wiring harness for an open.

Refer to General Electrical Diagnosis in Wiring Systems.

Did you find the condition?

--

Go to Step 44

Go to Step 42

40

  1. Place the gear select lever into the D4 position.
  2. Measure the resistance from terminal P to the transmission case.

Is the resistance less than the specified value?

5 ohms

Go to Step 43

Go to Step 41

41

Inspect circuit 1226 of the automatic transmission wiring harness for an open.

Refer to General Electrical Diagnosis in Wiring Systems.

Did you find the condition?

--

Go to Step 44

Go to Step 42

42

Replace the TFP Val. Position Sw.

Refer to TFP Val. Position Sw. Replacement.

Is the replacement complete?

--

Go to Step 45

--

43

Replace the PCM.

Refer to Powertrain Control Module Replacement/Programming in Engine Controls.

Is the replacement complete?

--

Go to Step 45

--

44

Replace the automatic transmission wiring harness. Refer to Transmission Overhaul in the 4T80-E Section of the Transmission Unit Repair Manual.

Is the replacement complete?

--

Go to Step 45

--

45

In order to verify your repair, perform the following procedure:

  1. Select DTC.
  2. Select Clear Info.
  3. Operate the vehicle under the following conditions:
  4. • Road test the vehicle.
    • Move the gear select lever through all the gear ranges.
    • In the forward gears the following conditions must be met:
       - The TP is greater than 12 degrees.
       - The vehicle speed is greater than 8 km/h (5 mph).
       - The engine torque is 109-270 N·m (80-200 lb ft).
  5. Select Specific DTC. Enter DTC P1810.

Has the test run and passed?

--

System OK

Go to Step 1