GM Service Manual Online
For 1990-2009 cars only

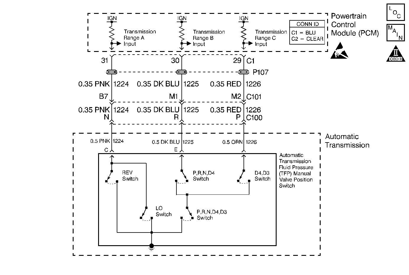
Object Number: 366431  Size: MF
Automatic Transmission Components
Automatic Transmission Controls Schematics
OBD II Symbol Description Notice
Handling ESD Sensitive Parts Notice

Circuit Description

The automatic transmission fluid pressure (TFP) manual valve position switch consists of five normally open switches. Ignition voltage is applied to each of the switches. By grounding one or more of these switches with fluid pressure from the manual valve, the PCM can detect which gear range is selected.

If the PCM detects an invalid combination of the TFP manual valve position switch, then DTC P1810 sets. DTC P1810 is a Type B DTC.

Conditions for Running the DTC

    • No MAF DTCs P0101, P0102 or P0103.
    • No TP DTCs P0121, P0122 or P0123.
    • No VSS DTCs P0502 or P0503.
    • No A/T ISS DTCs P0716 or P0717.
    • Ignition voltage is 10-17 volts.
    • The engine run time is greater than 5 seconds.
    • The engine is not in fuel cut off.

Conditions for Setting the DTC

One of the following cases occurs:

Case 1

An illegal TFP manual valve position switch combination of ON/ON/ON or ON/OFF/ON exists for 4 minutes and 10 seconds.

Case 2

    • The vehicle speed is greater than 8 km/h (5 mph).
    • The throttle angle is greater than 11 degrees.
    • The delivered torque is 109-270 N·m (80-200 lb ft).
    • The TFP manual valve position switch indicates P/N and the ratio indicates REVERSE or DRIVE for 5 seconds.

Case 3

    • The vehicle speed is greater than 8 km/h (5 mph).
    • The throttle angle is greater than 11 degrees.
    • The delivered torque is 109-270 N·m (80-200 lb ft).
    • The TFP manual valve position switch indicates REVERSE and the ratio indicates DRIVE for 7 seconds.

Case 4

    • The vehicle speed is greater than 8 km/h (5 mph).
    • The throttle angle is greater than 7 degrees.
    • The delivered torque is 38-188 N·m (30-150 lb ft).
    • The TFP manual valve position switch indicates D4, D3, D2 or D1 and the ratio indicates REVERSE for 3 seconds.

Case 5

    • The engine is OFF.
    • The TFP manual valve position switch indicates D2 initially and does not indicate P/N within 4.95 seconds after the engine is running.
    • Discontinue case #5 if the engine is running for 5 seconds.
    • The vehicle speed is less than 8 km/h (5 mph).
    • The transmission fluid temperature is greater than -18°C (0°F).

Action Taken When the DTC Sets

    • The PCM illuminates the malfunction indicator lamp (MIL) during the second consecutive trip in which the Conditions for Setting the DTC are met.
    • SERVICE ENGINE SOON, SERVICE TRANSMISSION displays on the driver information center (DIC).
    • The PCM substitutes the value of the previous TFP manual valve position switch if it is consistent with the PARK/NEUTRAL status.
    • The PCM commands default line pressure.
    • The PCM inhibits TCC engagement.
    • The PCM freezes steady state adapts.
    • The PCM freezes garage shift adapts.
    • The PCM stores DTC P1810 in PCM history during the second consecutive trip in which the Conditions for Setting the DTC are met.

Conditions for Clearing the MIL/DTC

    • The PCM turns OFF the MIL during the third consecutive trip in which the diagnostic test runs and passes.
    • A scan tool clears the DTC from PCM history.
    • The PCM clears the DTC from PCM history if the vehicle completes 40 warm-up cycles without an emission-related diagnostic fault occurring.
    • The PCM cancels the DTC default actions when the fault no longer exists and the ignition switch is OFF long enough in order to power down the PCM.

Diagnostic Aids

    • Inspect the wiring at the PCM, the transmission 20-way connector, the TFP manual valve position switch 5-way connector and all other circuit connecting points for the following conditions:
       - A backed out terminal
       - A damaged terminal
       - Reduced terminal tension
       - A chafed wire
       - A broken wire inside the insulation
       - Moisture intrusion
    • When diagnosing for an intermittent short or open, massage the wiring harness while watching the test equipment for a change.
    • If a transmission overhaul was performed, ensure that the transmission fluid is at the proper level. A low fluid problem may set this DTC.
    • Diagnose DTC 1520 first, if set.
    • Inspect the TFP manual valve position switch for debris.

Test Description

The numbers below refer to the step numbers on the diagnostic table.

  1. This step tests the indicated range signal to the manual valve range actually selected.

  2. This step tests for correct voltage from the PCM to the transmission 20-way connector.

  3. This step tests for a short together between circuits 1224, 1225 and 1226.

DTC P1810 TFP Manual Valve Position Switch CKT Malfunction

Step

Action

Value(s)

Yes

No

1

Was the Powertrain On-Board Diagnostic (OBD) System Check performed?

--

Go to Step 2

Go to Powertrain On Board Diagnostic (OBD) System Check

2

Perform the following inspections:

    • Ensure the transmission linkage from the select lever to the manual valve is adjusted properly.
    • Perform the Transmission Fluid Check .

Are the inspections complete?

--

Go to Step 3

--

3

  1. Install the Scan Tool .
  2. Turn the ignition switch to the RUN position.
  3. Important: Before clearing the DTCs, use the scan tool in order to record the Freeze Frame and Failure Records. Using the Clear Info function erases the Freeze Frame and Failure Records from the PCM.

  4. Record the Freeze Frame and Failure Records.
  5. Clear the DTCs.
  6. While the engine is idling at the normal operating temperature, apply the brake pedal.
  7. Select each transmission range: P, R, N, D4, D3, D2 and D1.

Does each selected transmission range match the scan tool TFP Switch A/B/C display?

Refer to Transmission Fluid Pressure Manual Valve Position Switch Logic .

--

Go to Diagnostic Aids

Go to Step 4

4

  1. Turn the ignition switch OFF.
  2. Disconnect the transmission 20-way connector (additional DTCs may set).
  3. Install the J 39775 jumper harness to the engine side of the transmission 20-way connector.
  4. Turn the ignition switch to the RUN position.
  5. Using the J 35616-A connector test adapter kit and the J 39200 digital multimeter, check the voltage at connector terminals N, R and P.

Is B+ displayed on all three circuits?

--

Go to Step 6

Go to Step 5

5

Inspect the circuits that did not indicate B+ for an open or a short to ground.

Refer to General Electrical Diagnosis in Wiring Systems.

Was a condition found?

--

Go to Step 7

Go to Step 8

6

Verify that circuits 1224, 1225 and 1226 are not shorted together. Use a fused jumper wire to ground each circuit individually while monitoring the scan tool TFP Switch A/B/C display.

When a range signal circuit is grounded, are any other range signal circuits affected?

--

Go to Step 7

Go to Transmission Fluid Pressure Manual Valve Position Switch Resistance Check

7

Repair the wiring as necessary.

Refer to Wiring Repairs in Wiring Systems.

Is the repair complete?

--

Go to Step 9

--

8

Replace the PCM.

Refer to Powertrain Control Module Replacement/Programming in Engine Controls.

Is the replacement complete?

--

Go to Step 9

--

9

Perform the following procedure in order to verify the repair:

  1. Select DTC.
  2. Select Clear Info.
  3. Operate the vehicle under the following conditions:
  4. 3.1. With the engine OFF, turn the ignition switch to the RUN position for at least 4 seconds.
    3.2. Start the vehicle and idle for 5 seconds.
    3.3. Drive in D4 with a throttle angle greater than 11 degrees and engine torque greater than 109 N·m (80 lb ft).
  5. Select Specific DTC. Enter DTC P1810.

Has the test run and passed?

--

System OK

Go to Step 1